第一章 PMCAD的基本功能与应用范围
PMCAD软件采用人机交互方式,引导用户逐层地布置各层平面和各层楼面,再输入层高就建立起一套描述建筑物整体结构的数据。PMCAD具有较强的荷载统计和传导计算功能,除计算结构自重外,还自动完成从楼板到次梁,从次梁到主梁,从主梁到承重的柱墙,再从上部结构传到基础的全部计算,加上局部的外加荷载,PMCAD可方便地建立整栋建筑的荷载数据。
由于建立了整栋建筑的数据结构,PMCAD成为PKPM系列结构设计各软件的核心,它为各分析设计模块提供必要的数据接口。
PMCAD是三维建筑设计软件APM与结构设计CAD相连接的必要接口。因此,它在整个系统中起到承前启后的重要作用。
第一节 基本功能
一、 智能交互建立全楼结构模型
智能交互方式引导用户在屏幕上逐层布置柱、梁、墙、洞口、楼板等结构构件,快速搭起全楼的结构构架,输入过程伴有中文菜单及提示,并便于用户反复修改。
二、 自动导算荷载建立恒活荷载库
1. 对于用户给出的楼面恒活荷载,程序自动进行楼板到次梁、次梁到框架梁或承重墙的分析计算,所有次梁传到主梁的支座反力、各梁到梁、各梁到节点、各梁到柱传递的力均通过平面交叉梁系计算求得。
2. 计算次梁、主梁及承重墙的自重。
3. 引导用户人机交互地输入或修改各房间楼面荷载、次梁荷载、主梁荷载、墙间荷载、节点荷载及柱间荷载,并方便用户提供复制、拷贝、反复修改等功能。
三、 为各种计算模型提供计算所需数据文件
1. 可指定任一个轴线形成PK模块平面杆系计算所需的框架计算数据文件,包括结构立面、恒载、活载、风载的数据。
2. 可指定任一层平面的任一由次梁或主梁组成的多组连梁,形成PK模块按连续梁计算所需的数据文件。
3. 为空间有限元壳元计算程序SATWE提供数据,SATWE用壳元模型精确计算剪力墙,程序对墙自动划分壳单元并写出SATWE数据文件(这部分功能放在SATWE中)。
4. 为三维空间杆系薄壁柱程序TAT提供计算数据,程序把所有梁柱转成三维空间杆系,把剪力墙墙肢转成薄壁柱计算模型。(这部分功能放在TAT模块中)。
5. 为特殊多、高层建筑结构分析与设计程序(广义协调墙元模型)PMSAP提供计算数据。(这部分功能放在PMSAP模块中)。
四、 为上部结构各绘图CAD模块提供结构构件的精确尺寸
如梁柱施工图的截面、跨度、挑梁、次梁、轴线号、偏心等,剪力墙的平面与立面模板尺寸,楼板厚度,楼梯间布置等等。
五、 为基础设计CAD模块提供布置数据与恒活荷载
不仅为基础设计CAD模块提供底层结构布置与轴线网格布置,还提供上部结构传下的恒活荷载。
第二节 软件适用范围
结构平面形式任意,平面网格可以正交,也可斜交成复杂体型平面,并可处理弧墙、弧梁、圆柱、各类偏心、转角等。
1. 层数 ≤190;
2. 标准层 ≤190;
3. 正交网格时,横向网格、纵向网格各 ≤170;
斜交网格时,网格线条数 ≤30000;
用户命名的轴线总条数 ≤5000;
4. 节点总数 ≤15000;
5. 标准柱截面 ≤800;
标准梁截面 ≤800;
标准墙体洞口 ≤512;
标准楼板洞口 ≤80;
标准墙截面 ≤200;
标准斜杆截面 ≤200;
标准荷载定义 ≤9000;
6. 每层柱根数 ≤3000;
每层梁根数(不包括次梁) ≤20000;
每层圈梁根数 ≤20000
每层墙数 ≤2500;
每层房间总数 ≤10000;
每层次梁总根数 ≤6000;
每个房间周围最多可以容纳的梁墙数 <150;
每节点周围不重叠的梁墙根数 ≤15;
每层房间次梁布置种类数 ≤40;
每层房间预制板布置种类数 ≤40;
每层房间楼板开洞种类数 ≤40;
每个房间楼板开洞数 ≤7;
每个房间次梁布置数 ≤16;
每层层内斜杆布置数 ≤10000;
全楼空间斜杆布置数 ≤30000;
7. 两节点之间最多安置一个洞口。需安置两个时,应在两洞口间增设一网格线与节点。
8. 结构平面上的房间数量的编号是由软件自动作出的,软件将由墙或梁围成的一个个平面闭合体自动编成房间,房间用来作为输入楼面上的次梁、预制板、洞口和导荷载、画图的一个基本单元。
9. 次梁是指在房间内布置且在执行“构件布置”菜单中的“次梁”命令时输入的梁,不论在矩形房间或非矩形房间均可输入次梁。次梁布置时不需要网格线,次梁和主梁、墙相交处也不产生节点。若房间内的梁是使用“主梁”命令输入,程序将该梁当作主梁处理。用户在操作时把一般的次梁在“次梁布置”时输入的好处是:可避免过多的无柱联接点,避免这些点将主梁分隔过细,或造成梁根数和节点个数过多而超界,或造成每层房间数量超过容量限制而程序无法运行。当工程规模较大而节点、杆件或房间数超界时,把主梁当作次梁输入可有效地大幅度减少节点杆件房间的数量。对于弧形梁,因目前程序无法输入弧形次梁,可把它作为主梁输入。
10. 这里输入的墙应是结构承重墙或抗侧力墙,框架填充墙不应当作墙输入,它的重量可作为外加荷载输入。否则不能形成框架荷载。
11. 平面布置时,应避免大房间内套小房间的布置,否则会在荷载导算或统计材料时重叠计算,可在大小房间之间用虚梁(虚梁为截面100*100的主梁)连接,将大房间切割。
第三节 主要的结构建模步骤(逐层方式)
一、 建模程序主要建模步骤
1. 各层平面的轴线网格,各层网格平面可以相同,也可以不同。
2. 输入柱、梁、墙、洞口、斜柱支撑、次梁、层间梁、圈梁(砌体结构)的截面数据,并把这些构件布置在平面网格和节点上。
3. 各结构层主要设计参数,如楼板厚度、砼强度等级等。
4. 生成房间和现浇板信息,布置预制板、楼板开洞、悬挑板、楼板错层等楼面信息。
5. 输入作用在梁、墙、柱和节点上的恒、活荷载。
6. 定义各标准层上的楼面恒、活均布面荷载,并对各房间的荷载进行修改。
7. 根据结构标准层、荷载标准层和各层层高,楼层组装出总层数。
8. 设计参数、材料信息、风荷信息和抗震信息等。
9. 楼面荷载传导计算,生成各梁与墙及各梁之间的力。
10. 结构自重计算及恒活荷载向底层基础的传导计算。
11. 对上一步所建模型进行检查,发现错误并提示用户。根据上下层结构布置状况作上下层构件连接。
二、 各类荷载的显示校核,打印输出
第四节 启动建模程序PMCAD
一、 PKPM主界面
双击桌面PKPM快捷图标,或者使用桌面“多版本PKPM”工具启动PKPM主界面,如图1-1所示。
在对话框右上角的专业模块列表中选择“结构建模”选项。
点击主界面左侧的“SATWE核心的集成设计”(普通标准层建模)按钮,或者“PMSAP核心的集成设计”(普通标准层+空间层建模)。
图 1-1启动PKPM主界面
可以移动光标到相关的工程组装效果图上,双击鼠标左键启动PMCAD建模程序,也可以随后用鼠标点击“应用”启动建模程序PMCAD。
提示:鼠标移动到工程组装效果图上,等待1秒后,程序会给出当前工程模型的全路径信息提示。
二、 工作子目录
作任一项工程,应建立该项工程专用的工作子目录,子目录名称任意,但不能超过256个英文字符或128个中文字符,也不能使用特殊字符。为了设置当前工作目录,请按菜单上的“改变目录”,此时屏幕上出现如下对话框:
图 1-2改变工程目录
用户选择驱动器、目录,也可以直接在“目录名称”栏中输入带路径的目录,然后按[确定],就设置好工作目录。对于新建工程,设置工作目录后,首先应执行专业模块列表中选择“结构建模”选项,这样可建立该项工程的整体数据结构,完成后可按顺序执行列表中的其它项。
注意:不同的工程,应在不同的工作子目录下运行。
三、 工程数据及其保存
一个工程的数据结构,包括用户交互输入的模型数据、定义的各类参数和软件运算后得到的结果,都以文件方式保存在工程目录下。
对于以有的工程数据,把各类文件拷出再拷入另一机器的工作子目录,就可在另一机器上恢复原有工程的数据结构。
位于PKPM主界面左下角处(图1-1中左下角“数据保存”按钮)的“文件存取管理”程序提供了备份工程数据的功能。该模块可把工程目录下的各种文件压缩后保存。用户可有选择地挑选要保存的文件。如图1-3所示,程序把文件类型按照模块分类,如PKPM建模数据主要包括模型文件“工程名.JWS”(例如aa.JWS,其中aa为工程名)和*.PM文件。程序自动挑选出该类型的文件,经用户确认后按ZIP格式压缩打包,压缩文件也保存在当前工作目录下(图1-4)。用户可方便地将其拷贝、保存到其它地方。
图 1-3文件类型选择对话框
图 1-4文件备份操作界面
四、 网络版和单机版切换按钮
PKPM主界面左下角有单机版和网络版互相切换的按钮(如右图所示),用于用户同时使用单机版和网络版时的切换。该按钮指示程序读安装在本机上的单机版加密锁或是安装在服务器上的网络版加密锁。
切换后,PKPM主界面上部的标题栏文字会刷新显示,提示当前所用为“单机版”还是“网络版”。
第二章 界面环境和工作方式
本章主要介绍PMCAD程序的主要界面环境、基本定义和工作方式。
第一节 界面环境
点击PKPM主界面“应用”按钮进入“结构建模”模块,程序将显示如下界面:
图 2-1建模程序PMCAD主界面
程序将屏幕划分为上侧的Ribbon菜单区、模块切换及楼层显示管理区,右侧的工作树、分组及命令树面板区,下侧的命令提示区、快捷工具条按钮区、图形状态提示区和中部的图形显示区。
Ribbon菜单主要为软件的专业功能,主要包含文件存储、图形显示、轴线网点生成、构件布置编辑、荷载输入、楼层组装、工具设置等功能,具体菜单外观和内容都从TgRibbon-PM.xml菜单文件中读取,该文件安装在Ribbon目录的Support子目录中。
上部的模块切换及楼层管理区,可以在同一集成环境中切换到其它计算分析处理模块,而楼层显示管理区,可以快速进行单层、全楼的展示。
上部的快捷命令按钮区,主要包含了模型的快速存储、恢复,以及编辑过程中的恢复(Undo)、重做(Redo)功能。
下侧的快捷工具条按钮区,主要包含了模型显示模式快速切换,构件的快速删除、编辑、测量工具,楼板显示开关,模型保存、编辑过程中的恢复(Undo)、重做(Redo)等功能。
右侧的工作树、分组及命令树面板区详细功能见本章第三节的介绍。
下侧的图形状态提示区,包含了图形工作状态管理的一些快捷按钮,有点网显示、角度捕捉、正交模式、点网捕捉、对象捕捉、显示叉丝、显示坐标等功能,可以在交互过程中点击按钮,直接进行各种状态的切换。
在屏幕下侧是命令提示区,一些数据、选择和命令由键盘在此敲入,如果用户熟悉命令名,可以在【命令:】的提示下直接敲入一个命令而不必使用菜单,例如,当用户程序运行时没有菜单显示,可敲【QUIT】退出程序。当然也可以完全依靠输入命令方式完成全部工作,所有菜单内容均有与之对应的命令名,这些命令是由名为“WORK.ALI”的文件支持的,这个文件一般安装在 PM目录中。用户可把该文件拷入用户当前的工作目录中自行编辑以自定义简化命令。
在【命令:】的提示下敲入?【Enter】或ALIAS 【Enter】或COMMAND【Enter】可查阅所有命令,并可选择执行。
此外,点击PMCAD主界面左上角的“PKPM”图标,会弹出如下“文件”菜单,包含了保存、恢复模型,发布桌面i-model、移动i-model,导入DXF文件,打印当前图形区域等功能。
图 2-2建模程序PMCAD的“文件”菜单
第五节 基本定义和工作方式
本节所述内容利于快速查询之用,初学者可以跳过本节,阅读后续章节。
一、 功能键定义
鼠标左键=键盘【Enter】,用于确认、输入等
鼠标右键=键盘【Esc】,用于否定、放弃、返回菜单等
键盘【Tab】,用于功能转换,或在绘图时为选取参考点
以下提及【Enter】、【Esc】和【Tab】时也即表示鼠标的左键、右键和【Tab】键,而不再单独说明。
鼠标中滚轮往上滚动:连续放大图形
鼠标中滚轮往下滚动:连续缩小图形
鼠标中滚轮按住滚轮平移:拖动平移显示的图形
【Ctrl】+按住滚轮平移:三维线框显示时变换空间透视的方位角度
【F1】=帮助热键,提供必要的帮助信息
【F2】=坐标显示开关,交替控制光标的坐标值是否显示
【Ctrl】+【F2】=点网显示开关,交替控制点网是否在屏幕背景上显示
【F3】=点网捕捉开关,交替控制点网捕捉方式是否打开
【Ctrl】+【F3】=节点捕捉开关,交替控制节点捕捉方式是否打开
【F4】=角度捕捉开关,交替控制角度捕捉方式是否打开
【Ctrl】+【F4】=十字准线显示开关,可以打开或关闭十字准线
【F5】=重新显示当前图、刷新修改结果
【Ctrl】+【F5】=恢复上次显示
【F6】=充满显示
【Ctrl】+【F6】=显示全图
【F7】=放大一倍显示
【F8】=缩小一倍显示
【C trl】+【W】=提示用户选窗口放大图形
【F9】=设置捕捉值
【Ctrl】+【←】=左移显示的图形
【Ctrl】+【→】=右移显示的图形
【Ctrl】+【↑】=上移显示的图形
【Ctrl】+【↓】=下移显示的图形
如【ScrollLock】打开,以上的四项【Ctrl】键可取消
【←】=使光标左移一步
【→】=使光标右移一步
【↑】=使光标上移一步
【↓】=使光标下移一步
【Page Up】=增加键盘移动光标时的步长
【Page Down】=减少键盘移动光标时的步长
【U】=在绘图时,后退一步操作
【S】=在绘图时,选择节点捕捉方式
【Ctrl】+【A】=当重显过程较慢时,中断重显过程
【Ctrl】+【P】=打印或绘出当前屏幕上的图形
【Ctrl】+【~】=具有多视窗时,顺序切换视窗
【Ctrl】+【E】=具有多视窗时,将当前视窗充满
【Ctrl】+【T】=具有多视窗时,将各视窗重排
以上这些热键不仅在人机交互建模菜单起作用,在其它图形状态下也起作用。
二、 工作状态配置
“WORK.CFG”文件是程序的配置文件,只有在该文件处于当前目录时,程序才能按该文件设置的条件进行工作,如果当前目录没有该文件,程序将按缺省值创建一个配置文件,这个文件一般是安装在PM目录中,用户需修改配置时,可在进行程序前把它拷入当前工作目录中。该文件的内容如下:
“Width” 设定显示区域的宽度所表示的工程平面的长度
“Height” 设定显示区域的高度所表示的工程平面的宽度
“Unit” 设定单位,其值应为1,表示毫米,用户不应修改
“Ratio” 设定图比例,该值暂不使用
“Xorign” 用户坐标系原点距屏幕左侧的距离
“Yorign” 用户坐标系原点距屏幕下端的距离
“Bcolor” 命令提示区、右侧菜单区和绘图区的背景颜色,该颜色值按6位整数编码。即个位和十位表示绘图区背景色号,百位和千位表示右侧菜单区的背景色号,万位和十万位为命令提示区背景色号,背景色号有效范围是0~15,分别表示黑(0)、蓝(1)、绿(2)、青(3)、红(4)、紫(5)、黄(6)、白(7)、灰(8)、亮蓝(9)、亮绿(10)、亮青(11)、亮红(12)、亮紫(13)、亮黄(14)和亮白(15),用户可根据个人喜好配置。如2038表示提示区绿色、菜单区青色,绘图区灰色。建议用户不要使用8以上的颜色值,否则会造成部分图与背景混淆不清。
“Status” 状态显示开关,一般应为0
“Coord” 坐标显示开关,记忆和设置【F2】键状态
“Snap” 点网捕捉开关,记忆和设置【F3】键状态
“Dsnap” 角度捕捉开关,记忆和设置【F4】键状态
“Targer” 捕捉靶大小,记忆和设置【Ctrl】+【F9】键状态
“Xsnap”
“Ysnap”
“Xsnapm”
“Ysnapm”
“Distan”
“Degree”
“Dgeree”
“Degree”
“Cfgend” 配置文件结束
有时需要改动的是系统配置文件WORK.CFG中显示区域的宽(Width)、高(Height)、原点位置(Xorign,Yorign),其它项目在进入程序后可以随时变动(显示区域的高度设置对图幅起着决定作用,宽度可取高度的4/3倍)。如对于一个长150米、宽70米的平面,可以设'Width'150000,'Height'70000。如果坐标原点设在屏幕中心,可以设'Xorign'75000,'Yorign'35000。虽然在程序中有显示变换工具可以在数百万倍的范围内缩放,但是设定合适的显示区域可以使用“显示全图”或【F6】热键一次就能达到最佳显示区域,而省去频繁缩放调整。
第二节 工作树、命令树和分组
新版增加的工作树,提供了一种全新的方式,可做到以前版本不能做到的选择、编辑交互。树表提供了PM中已定义的各种截面、荷载、属性,反过来可作为选择过滤条件,同时也可由树表内容看出当前模型的整体情况。
图 2-3 工作树面板
工作树的交互对象都是针对先选中的构件。
双击树表中任一种条件,可直接选中当前层中满足该条件的构件供编辑使用,而且还可以多种条件同时作用,比如取交集、并集。
拖动一个条件到工作区,可以完成对已选择构件的布置。
一、 工作树的基本作用
首先,在工作树中列出了截面,荷载,材料,布置参数,SATWE超筋信息,计算配筋简图信息作为条件。这些条件有如下作用:
图 2-4 工作树内容
1) 展示已布置模型的各种信息,如梁截面,荷载,使用了哪些材料。
2) 工作树的交互对象都是需要先选择的,和前面的交互先选择一起,可以根据这些条件选中构件,作为下一步编辑的构件范围。
图 2-5 双击截面列表选中柱子
当然也可以随时在模型上点击选中更多的构件,或者按住shift反选去掉这些构件。
3) 工作树的条件,可以拖动到屏幕中,将选中的构件改为这种条件,例如拖动截面将选中的柱子换为此种截面。
图 2-6 拖动截面到屏幕
图 2-7 柱截面替换为新类型
还可以拖拽修改楼板的厚度、错层值、恒载、活载等参数,如下图所示。
图 2-8拖拽工作树子项修改楼板的厚度
二、 多条件筛选和右键菜单
工作树提供了强大的选择方式,来查找、筛选构件。已经被选中的构件,都可以再次使用其他条件在右键菜单中选择交集选择或并集选择。如下面的例子:已经双击选中了工字形截面,再点击材料条件,右键菜单中点击交集选中,则会在前面选中的工字截面柱中进一步筛选出材料等级是C35的柱子。如果选择并集选中,则会在前面已经选中的工字截面柱的基础上,同时加上所有C35的构件。
图 2-9 工作树的并集、交集选中
使用范例:
a. 选择某一梁截面并布置有某类荷载的梁,将其截面修改
b. 选择某两类梁截面和某一墙截面,将梁和墙的混凝土强度修改
c. 选择某两类梁截面,增加某种恒载
d. 选择标高1和标高2等于某值的梁,将其截面修改
e. 选择超筋的柱,选择某一类截面,将其截面放大(改类型),只需一步拖动操作
三、 SATWE超筋选择和配筋衬图
图 2-10 工作树的超筋选择和配筋衬图
工作树提供了超筋选择条件和SATWE配筋衬图。对于大体量工程,查找超筋构件位置都会变得比较困难,新版在PMCAD的工作树中增加了读取SATWE超筋信息的功能,双击超筋列表可以直接选中并高亮显示超筋构件。
另外在还在工作树中增加了显示SATWE计算配筋简图的功能,方便用户根据计算配筋结果反过来查改模型。
图 2-11 双击高亮超筋构件及SATWE配筋衬图
SATWE计算配筋是在自然层中表达的,而PMCAD是标准层,如果一个标准层对应多个自然层,则会在同一个标准层下,根据双击的自然层,显示对应的自然层超筋信息和配筋简图。
图 2-12 双击自然层展示超筋信息
使用工作树“计算配筋衬图”项可以查看计算结果“构件信息”文件。双击构件类别后,在图面拾取单个构件,可以查看该构件计算结果“构件信息”的PDF文件,如下图所示。
图 2-13使用工作树查看计算结果“构件信息”文件
四、 筛选的构件类型选择
可以定义模型交互选择和双击工作树列表选择构件的类型,例如只勾选柱子,则在框选构件时只会选中柱构件,而不会选中其他类型构件,如下图所示,这对快速筛选指定类型构件是很有用处的。
图 2-14 快速筛选指定类型构件
此外,还可以根据构件的方向来决定过虑条件。如下图所示,构件类型中只勾选梁,方向下拉框中选择“Y向”,则在双击截面列表中“1矩形500*500”时,只会高亮选中沿Y轴方向布置的梁构件。
图 2-15 根据构件的方向来决定过虑条件
五、 分组
工作树同时还提供了分组功能,分组是将选择的构件记录在组中,方便再次调用。被选中的构件,可以作为一组保存起来。分组结构记录在模型文件中,下次进入模型会带回这些信息,双击分组信息列表,就可以高亮显示这些构件,如下图所示。
图 2-16 分组信息
图 2-17 双击分组列表高亮构件
六、 命令树
右侧列表中还集成了命令树,左侧是V3系列在右侧的快捷栏,使用方法不变,用户定义过的快捷键会继承过来显示;右侧是命令树,树中按上部Ribbon菜单的组织结构用树的形式列出了各命令,此风格和V2系列更接近。
图 2-18 快捷栏和命令树
在快捷栏中点击“自定义”按钮,可弹出下图对话框。对话框左侧的树表按照RIBBON菜单的组织,列出了所有的菜单命令,用户勾选想要的命令后,该命令会自动加入到右侧列表中,在右侧列表中选择某个命令,可对该命令进行“改名”,改为自己想要的名字。还可以通过“加分隔”和“上移”、“下移”来调整命令的位置,调整完后,点击确认,调整后的命令会显示在快捷栏中。
图 2-19快捷菜单的定制
七、 工作树应用实例
在层间梁上布置线荷载:
1. 双击列表中的标高参数,选中-2000mm位置的层间梁
图 2-20 双击标高参数选中层间梁
2. 在工作树中选择要布置的线荷载,拖动到工作区。
图 2-21 拖动荷载项到工作区
3. 一次完成在层间梁上布置线荷载。
图 2-22 布置后的结果
第三节 建模过程概述
PMCAD建模是逐层录入模型,再将所有楼层组装成工程整体的过程。其输入的大致步骤如下:
1. 平面布置首先输入轴线。程序要求平面上布置的构件一定要放在轴线或网格线上,因此凡是有构件布置的地方一定先用【轴线网点】菜单布置它的轴线。轴线可用直线、圆弧等在屏幕上画出,对正交网格也可用对话框方式生成。程序会自动在轴线相交处计算生成节点(白色),两节点之间的一段轴线称为网格线。
2. 构件布置需依据网格线。两节点之间的一段网格线上布置的梁、墙等构件就是一个构件。柱必须布置在节点上。比如一根轴线被其上的4个节点划分为三段,三段上都布满了墙,则程序就生成了三个墙构件。
3. 用【构件布置】菜单定义构件的截面尺寸、输入各层平面的各种建筑构件,并输入荷载。构件可以设置对于网格和节点的偏心。
4. 【荷载布置】菜单中程序可布置的构件有柱、梁、墙(应为结构承重墙)、墙上洞口、支撑、次梁、层间梁。输入的荷载有作用于楼面的均布恒载和活载,梁间、墙间、柱间和节点的恒载和活载。
5. 完成一个标准层的布置后,可以使用【增加标准层】命令,把已有的楼层全部或局部复制下来,再在其上接着布置新的标准层,这样可保证在各层组装在一起时,上下楼层的坐标系自动对位,从而实现上下楼层的自动对接。
依次录入各标准层的平面布置,最后使用【楼层组装】命令组装成全楼模型。
接下来的章节将对这些建模所涉及的功能进行详细的介绍。
第三章 轴线输入与网格生成
绘制轴网是整个交互输入程序最为重要的一环。【轴线网点】菜单如图3-1所示,其中集成了轴线输入和网格生成两部分功能,只有在此绘制出准确的图形才能为以后的布置工作打下良好的基础。
图3-1 轴线网点菜单
第一节 轴线输入
这里是用作图工具绘制红色轴线,构件的定位都要根据网格或节点的位置决定。【网格】是轴线交织后被交点分割成的小段红色线段,在所有轴线相交处及轴线本身的端点、圆弧的圆心都产生一个白色的【节点】,将轴线划分为【网格】与【节点】的过程是在程序内部适时自动进行的。
一、 基本轴线图素
程序提供了【两点直线】、【折线】、【圆环】、【圆弧】、【节点】、【平行直线】【矩形】等基本图素,它们配合各种捕捉工具、热键和其它一级菜单中的各项工具,构成了一个小型绘图系统,用于绘制各种形式的轴线。
绘制图素采用了通用的操作方式,比如画图、编辑的操作和AutoCAD完全相同。
(1) 两点直线
用于绘制零散的直轴线。
可以使用任何方式和工具进行绘制。
(2) 折线
适用于绘制连续首尾相接的直轴线和弧轴线,按【Esc】可以结束一条折线,输入另一条折线或切换为切向圆弧。
(3) 圆环
适用于绘制一组闭合同心圆环轴线。
在确定圆心和半径或直径的两个端点或圆上的三个点后可以绘制第一个圆。
输入复制间距和次数可绘制同心圆,复制间距值的正负决定了复制方向,以“半径增加方向为正”,可以分别按不同间距连续复制,提示区自动累计半径增减的总和。
(4) 圆弧
适用于绘制一组同心圆弧轴线。
按圆心起始角、终止角的次序绘出第一条弧轴线,绘制过程中还可以使用热键直接输入数值或改变顺逆时针方向。
输入复制间距的次数,复制间距值的正负表示复制方向,以“半径增加方向为正”,可以分别按不同间距连续复制,提示区自动累计半径增减总和。
(5) 节点
用于直接绘制白色节点,供以节点定位的构件使用,绘制是单个进行的,如果需要成批输入可以使用图编辑菜单进行复制。
(6) 平行直线
适用于绘制一组平行的直轴线。
首先绘制第一条轴线;
以第一条轴线为基准输入复制的间距和次数,间距值的正负决定了复制的方向。以“上、右为正”,可以分别按不同的间距连续复制,提示区自动累计复制的总间距。
(7) 矩形
适用于绘制一个与x、y轴平行的,闭合矩形轴线,它只需要两个对角的坐标,因此它比用【折线】绘制的同样轴线更快速。
二、 绘图操作方式和工具
1. 键盘坐标输入方式
该方式是在十字光标出现后,在提示区直接输入绝对坐标、相对坐标或极坐标值。方法如下(R为极距,A为角度):
绝对直角坐标输入 !X, Y, Z 或 !X, Y
相对直角坐标输入 X, Y, Z 或 X, Y
直角坐标过滤输入以XYZ字母前缀加数字表示,如:
Ø X123表示只输入X坐标123,YZ坐标不变;
Ø XY123, 456表示输入X坐标123,Y坐标456,Z坐标不变;
只输入XYZ不跟数字表示XYZ坐标均取上次输入值。
可识别的相对坐标前缀有:X, Y, Z, XY, XZ, YZ, XYZ。
可识别的绝对坐标前缀有:!X, !Y, !Z, !XY, !XZ, !YZ, !XYZ。
绝对极坐标输入 !R<A
相对极坐标输入 R<A
绝对柱坐标输入 !R<A, Z
相对柱坐标输入 R<A, Z
绝对球坐标输入 !R<A<A
相对球坐标输入 R<A<A
极坐标,柱坐标和球坐标不能过滤输入。
图3- 2 绘直线示例
例如输入一条3段直线ABCD,如图3- 2所示,第1段AB段30°方向,长6000。第2段BC段0°方向,长6000,第3段CD段-90°方向,长6000。
点取菜单【折线】,第一点A由绝对坐标(10000,20000)确定,在“输入第一点”的提示下在提示区键入!10000,20000【Enter】。
第二点B希望用相对极坐标输入,该点位于第一点30°方向,距离第一点6000。这时屏幕上出现的是要求输入下一点的提示,这时键入6000<30【Enter】输入相对极坐标,即完成第二点输入。
第三点C用相对坐标输入,键入6000【Enter】,(Y向相对坐标0可省略输入)。
第四点D用相对坐标输入,键入0,-6000【Enter】。
2. 利用追踪线方式输入点
用户输入一点后该点即出现橙黄色的方形框套住该点,随后移动鼠标在某些特定方向,比如水平或垂直方向时,屏幕上会出现拉长的虚线,这时输入一个数值即可得到延虚线方向该数值距离的点。我们称这种虚线为追踪线,输入方式为追踪线方式。这种方式非常方便操作。
用鼠标在任何点上稍作停留都会在该点出现橙黄色方形框,该点即成为参照点,随后都可采用追踪线方式。
如图3-3所示,以图示节点为基准,鼠标向正上方移动时,图形上显示出垂直方向追踪线,此时命令行内输入500并按Enter键,则可绘出在参照点上方500mm的新节点。
图3-3 绘点示例
程序隐含设定水平和垂直两个方向的追踪线,用户还可定义其他角度的方向。
3. 鼠标键盘配合输入相对距离
输相对距离时,用鼠标在屏幕上拉出方向,用键盘输入距离数值。例如对上面的三段直线的输入,点取第一点A后,按[F4]进入角度捕捉状态,在30°方向拉出直线,键盘输入距离数值6000【Enter】给出B点,再在0°方向拉出直线,键盘输入6000【Enter】给出C点,再在-90°方向拉出直线,键盘输入6000【Enter】给出D点。
为了准确的找出方向,这样的操作应按【F4】进入角度捕捉状态。
4. 角度捕捉工具
当打开控制开关【F4】后,拉动鼠标时所有线段都只能锁定在预设的角度上移动。预设的角度可以用【F9】随时修改设置,如图3- 4所示。
图3- 4 捕捉和显示设置
5. 捕捉靶方框
在缺省方式下有一方框靶随光标移动,如果屏幕上已经画了若干图素,此方框可以捕捉到在靶范围中的已有图素,如线段的端点、两直线的交点或图素上的任意点等,从而可以根据已有图素绘出准确图形。
用【F9】可以设置捕捉靶的大小。
当需要从已有图素的端点或交点上再延伸一些线段,就必须使用节点捕捉工具,这个工具有三项功能。
(1) 捕捉图素节点
直线的两个端点、圆弧的两个端点、折线、多边形的顶点、圆或圆弧的圆心,直线与直线、直线与圆弧、圆弧与圆弧之间的交点。图素被捕捉靶套中后首先判断是否靠近这些节点,如果选中,光标便置于该点之上。
(2) 捕捉拖动与图素的交点
如果图素的节点未能找到,该工具便试图找到拖动线与这个图素的交点,所谓拖动线就是你在捕捉中从上一点到当前光标的连线,由于上一点已成为历史,不可移动,而当前光标正为你所操纵,因此你可以有意控制这条线的角度,如打开【F4】进行角度捕捉等,这样你可以在任意图形上画出不出头的准确图形。
(3) 捕捉光标点到一个直线的水平或垂直投影点
如果当前光标作为第一点输入而没有拖动线时,光标靶如果套住了一条直线而且远离直线的两个端点时,光标将沿水平或垂直方向移向其在直线上的投影点,这对于画线段的第一点或画节点时十分有用。
6. 选择参照点定位
这个功能就是用已知图素上的点作参照,找出和它相对坐标的点。操作是:将光标移动到参照的节点,稍作停留后该节点上将出现橙黄色的方形框,这说明参照点已经选好,再用键盘输入和该点的相对距离,就得到需要输入的点。
如果需要输入的点在参照点的水平或垂方向,当参照点上的橙黄色的方形框出现后,接着在水平或垂直方向拉动鼠标会出现水平或垂直的虚线,这时输入一个距离值即可得到需要输入的点。
7. 用户选择已知图素上的特征点
如需要直接捕捉到已知图素上的某些特征点,如某直线的中点或垂足时,用户可在绘制直线或其它图素时按一下【S】字母键,选取指定这样的特征点(如中点),此后点取该直线时,程序会自动捕捉到直线的中点。
操作是:按一下【S】字母键,可由用户选择当前的目标捕捉特征点,屏幕上将出现图3- 5所示的菜单。
程序隐含按如上的【自动捕捉】方式实现捕捉,即以端点、交点、垂足等的顺序,从上往下搜索捕捉目标,以最先找到的为准。
用户用光标选择上列的目标之一,点【关闭捕捉】项则关闭捕捉靶;点【返回】项则不改变当前捕捉方式,退出;点【只捕垂足】或【只捕中点】,即可实现对垂足和中点的捕捉,捕捉圆心时,要点取圆弧部分。如设置一个单项捕捉,在捕捉一次后,恢复为【自动捕捉】方式。
8. 点网捕捉工具
所谓点网是一些点沿X、Y方向按一定间距排列形成的阵列。这个点网可以由【Ctrl】+【F2】点网显示开关控制其可见或不可见。
如果用户打开了【F3】点网捕捉开关,光标将总是停留在这些点上,而不会停留在两点之间。
可以用【F9】键随时修改点网间距。
这个工具在输入方式1纯键盘坐标输入方式时不起作用。
9. 自定义捕捉方式
在进行直线、平行直线、折线、圆弧等图素输入时,程序会自动弹出“设置捕捉参数”对话框,可以自定义网格捕捉点的功能。这样,捕捉状态更接近AutoCAD的习惯,鼠标在线上更容易捕捉到关键点,而不再需要在捕靶范围内。这个对话框提供了自定义的单选项目,方便切换要用的捕捉点,同时不需要的捕点又不会成为干扰,目前提供了中点,长度,等分点,角度模数捕捉,端点捕捉始终默认开启。
图3- 6“设捕捉参数”对话框及捕捉效果
其中长度捕捉会同时开启网格距离捕捉和长度模数,对网格本身,网格延长线,0度90度虚线等位置都起作用,方便用户用定位,在常规的输入距离找位置的方法之外,提供了一种新的方法快速捕捉到需要的位置。
程序也可以选择使用“任意捕捉方式”捕捉方式,在这种方式下,用户可以捕捉直线段的端点、中点,两直线的交点,点到直线的垂足,圆、圆弧的圆心、切点等任意特征点。
图3- 7网格长度、角度及坐标显示
程序还提供了网格的长度,角度及坐标显示标注,其样式设置隐藏在自定义快捷键的最后一项,一般可以不调整。当布置完成一段网格后,标注会停留一下,方便查看;当布置新网格或滚动鼠标时自动消失。
此外,为方便用户在编辑时进行捕捉,在执行“复制”、“移动”、“拖动复制”3个命令时,系统会自动打开“设置捕捉参数”对话框,供用户设置。
10. 正交轴网和圆弧轴网的数据参数定义方式
在轴线输入部分有【正交轴网】和【圆弧轴网】两个命令,可不通过屏幕画图方式,而是参数定义方式形成平面正交轴线或圆弧轴网。
【正交轴网】是通过定义开间和进深形成正交网格,定义开间是输入横向从左到右连续各跨跨度,定义进深是输入竖向从下到上各跨跨度,跨度数据可用光标从屏幕上已有的常见数据中挑选,也可以用键盘输入。
输完开间和进深后,【确定】退出对话框,此时移动光标可将形成的轴网布置在平面上任意位置。布置时可输入轴线的倾斜角度,也可以直接捕捉现有的网点使新建轴网与之相连。
【圆弧轴网】的开间是指轴线展开角度,进深是指沿半径方向的跨度,点取确定时再输入径向轴线端部延伸长度和环向轴线端部延伸角度。
(1) 正交轴网
下面逐个介绍正交轴网对话框中各控件的功能,如图3- 8所示。
图3- 8 正交轴网输入对话框
预览窗口:
预览窗口可动态显示用户输入的轴网,并可标注尺寸。
鼠标的滚轮可以对预览窗口中的轴网进行实时比例放缩,按下鼠标中键还可以平移预览图形。
在预览窗口的上方有三个小按钮:
第一个按钮【放大】:放大预览图形。
第二个按钮【缩小】:缩小预览图形。
第三个按钮【全图】:充满显示预览图形。
预览窗口的右边是两个列表框:
左边的列表框:显示当前开间或进深的数据。
如果用户习惯键盘输入的方式,可以在预览窗下的四个编辑框中直接输入数据,如图3-9所示。在输入数据的时候支持使用“*”乘号重复上一个相同的数据,乘号后输入重复次数。也可以象在WORD文档中操作一样,用【CTRL+C】和【CTRL+V】的快捷方式将一行数据复制到另一行。
图3-9 轴网数据编辑框
转角:是指轴网的旋转角度。
输轴号:可在此处给轴线命名,输入横向和竖向起始的轴线号即可。
数据全清:可以清除所有数据。
导出轴网:将当前设置的轴网导出至独立文件axisrect.axr中,以便重复使用。
导入轴网:从已有的axisrect.axr文件中导入输入过的轴网,当轴网类似时可避免重复工作。
改变基点:可在轴网四个角端点间切换基点,以改变布置轴网时的基点。
数据全部输入完成后,点击【确定】按钮即可布置设置后的轴网,如图3-10所示。
在布置轴网时,也可通过快捷键【A】改变轴网的旋转角度,通过快捷键【B】改变轴网的插入基点,通过快捷键【R】返回【直线轴网输入对话框】重新设置。
(2) 圆弧轴网
圆弧轴网是一个环向为开间,径向为进深的扇形轴网。
【圆弧轴网】对话框,如图3-11所示。
图3-11 圆弧轴网对话框
根据需要在该对话框中分别设置【圆弧开间角】和【进深】项目下的【跨数*跨度】、【内半径】和【旋转角】参数。
内半径:环向最内侧轴线半径,作为起始轴线。
旋转角:径向第一条轴线起始角度,轴线按逆时针方向排列。
也可单击右侧【两点确定】按钮输入插入点,缺省方式是以圆心为基准点,按【Tab】键可转换为以第一开间与第一进深的交点为基准点的布置方式。
完成后按【确定】按钮,弹出如图3-12所示的【轴网输入】对话框。
图3-12 轴网输入对话框
输入径向轴线端部延伸长度。为避免径向轴线端节点置于内外侧环向轴线上,可将径向轴线两端延长。
输入环向端部轴线延伸角度。为避免环向网格端节点置于起止径向轴线上,可将环向轴线延长一个角度。
生成定位网格和节点:由于环向轴线是无始无终的闭合圆,因此程序将环向自动生成网格线来代表环向轴线,而径向轴线的网点可根据需要生成。
单向轴网:如果环向或径向只定义了一个跨度,该选项将激活,选择【是】则只产生单向轴网,否则产生双向轴网。
数据全部输入完成后,点击【确定】按钮即可布置设置好的轴网。
三、 图素编辑
图素的复制、删除等编辑功能在【轴线网点】菜单中,如图3-13所示,可用于编辑轴线、网格、节点和各种构件。
图3-13 图素编辑菜单
凡是有对称性,可复制性的图素尽量使用编辑工具,如有一组平行线,首先画出一根,然后按指定方向和间距复制几次,如有一个三叉形的平面,首先画出一块后,用【镜像复制】或【旋转复制】画出另外两块。
各项编辑命令均有五种工作方式:
(1)目标捕捉方式,当进入程序出现捕捉靶(□)后,便可以对单个图素进行捕捉并要求加以确认,这对于少量的或在较繁图素中抽取图素是很方便的。
需要注意的是,在单击没有选中的情形下,程序会自动变为窗口方式进行选择,满足用户在大多数情况下的使用要求,避免了选择方式的切换
(2)窗口方式,当进入程序出现箭头(↑)后,程序要求在图中用两个对角点截取窗口,当第一点在左边时,完全包在窗口中的所有图素都不经确认地被选中而被编辑,当第一点在右边时,与窗口边框相交或完全包在窗口中的所有图素都不经确认地被选中而被编辑。这对于整块图形的操作是很方便的。
(3)直线方式,当进入程序出现十字叉(┼)后,程序要求在图中用两个点拉一直线,与直线相交的所有图素都不经确认地被选中而被编辑。
(4)带窗围取方式,当进入程序出现选择框(□)后,程序要求将需要编辑的图素全部被包围在该选择框范围内。
(5)围栏方式,当进入程序出现十字叉(┼)后,程序要求在图中选取任意的点围成一个区域将需要编辑的图素全部包围在内。注意:此种方式应避免在围选时出现交叉线。
五种方式间可用【Tab】键切换。
【图素平移】和【图素复制】首先要求输入一基点和方向,然后提问“平移距离”或“复制间距和次数”,如果放弃提问则按用户输入的基点和方向“平移”或“复制一次”。对于直线类图素还会提问“是否对齐”如果回答是则“复制”和“平移”将按该直线的垂直方向进行。
【图素旋转】和【旋转复制】要求输入一基点和角度,如果放弃输入角度值,程序让用户从基点画出两条直线,用其夹角做为旋转角度。
【图素镜像】和【镜像复制】首先要求输入一条基准线,镜像便以该直线为对称轴进行。
【UNDO】可以使用户退回一步绘图操作,【标记UNDO】是在设置了标志之后,使程序退回到标记位置,该功能只记忆最后10个标记,因此当设置的标记多于10个时,以前的便自动失效。
图素编辑和10次【UNDO】只适用于由【轴线网点】菜单中的各种图素产生的图形,对构件的布置方式【UNDO】可有多次。
【U】键与【UNDO】的功能相同,它只能在绘图中的光标出现才能使用,在布置构件时不允许使用。
四、 操作实例
1. [例1]:以下图为例说明轴线输入的操作方法
如图3-14所示,在图上对几个交点标出了节点号,以便于讲解说明。下文中的【E】指回车【Enter】,输入的轴线应是图上的准确长度。本操作说明中较多地采用了键盘输入方式。
图3-14 例1平面图
(1) 画②轴
点“轴线网点”菜单中“平行直线”命令,屏幕左下提示输入第一点时按 !15000,10000【E】,这是从键盘上键入②与A轴交点1的绝对坐标,此时屏幕下提示输入第二点,再从键盘键入0,15000【E】即用输入相对坐标方法得到②轴线的第2点。(输完第一点后,也可往上垂直方向移动鼠标,屏幕上随即出现垂直虚线,这时输入15000【E】即得到第二点。)
(2) 将②往右平移复制
在提示:输入复制间距后从键盘输入5000【E】得③轴线;
键入3900【E】得④轴线;
按【E】得⑤轴(相当于又执行一次3900间距复制);
键入4300【E】得⑥轴,再【E】得⑦轴;
按【Esc】退出刚才的②轴平行直线复制状态。
(3) 画A、B、C、D轴
如在前面打开过网格捕捉状态则在此时按【F3】退出网格捕捉状态。
移光标至②下端【E】得A轴第一点,右移光标拉出红色橡皮线至⑦下端【E】得A轴第二点。
键入5000【E】【E】【E】得B、C、D轴线。【Esc】退出A轴平行复制状态。
(4) 画⑧⑨⑩轴
移光标到⑦上端【E】得⑧轴上端,保持光标不动,在提示输入第二点时,用键盘输入角度与距离的方法输入⑧下端,从键盘键入15000<-60【E】,(输入-60度角度,15000毫米长度)得⑧轴。
键入5000【E】【E】【E】,得⑨⑩轴。
【Esc】退出⑧平移复制。
(5) 画E、F、G、H轴
光标在⑧下端【E】,移光标拉橡皮拖线至⑤下端【E】得E轴;
键入5000【E】【E】【E】 得F、G、H轴。
(6) 作B,C轴左端一段
移光标至原来的【B】左端【E】,保持光标不动,用输入相对坐标的方法输入直线第二点,键入-5000,0(平移坐标值)得B轴线左端一段直线。
键入5000【E】平移该段直线得C轴线左端一段直线。
【Esc】退出平行复制状态。
(7) 作①轴
移光标至现在的B左端【E】,再移光标至C轴左端【E】即得①轴。
(8) 作1/C轴
应以2节点为参照点下平移3250mm,故点两点直线功能菜单,移光标至②轴上端的2节点按鼠标中键或【Tab】捕捉2节点,屏幕下提示直线端点选中后保持光标不动,且不要按[E],从键盘输入相对偏移坐标0,-3250得直线第一点,再键入5000,0(平移值)得1/C轴第二点。
在求得1/C左端点后也可以用光标输入第二点,右移光标拉橡皮线,为使其保持0°水平,打开[F4]角度捕捉(在已设的角度中一定要有0°),将光标移至③轴并注意屏幕右下角的提示一定是0°,【E】即可得出与③轴相交且垂直于③轴的一直线。
(9) 作①、②轴间圆弧
点圆弧子菜单中的圆弧,提示输入圆弧圆心时移光标至②、C轴交点处【E】,再上移光标至2节点处【E】(得到圆弧半径和起始角),再移光标拉开橡皮圆弧至①、C轴交点[E]即找到圆弧结束角,画出这一圆弧。
同样,移光标至②、B交点【E】,再左拉光标至①、B交点【E】,再下拉圆弧至②、A交点【E】即得左下处的圆弧。
(10) 用三点圆弧画⑦、⑧间圆弧
点三点圆弧菜单。
提示输入第一点时移光标至⑦下【E】,(此时应在网格与角度捕捉均关闭的状态),右移光标至⑧下【E】,提示输入圆弧第三点时移光标拉出一个动态圆弧,注意右下第二行弧的矢高值,满足要求时[E]即得出这一圆弧。
【Esc】退出输入三点圆弧。
以上输入中如出现操作失误,可在图素输入时按【U】键,即可随时取消上一步的操作,键入命令ERASE【E】可用光标或窗口删除任何已画的图素。
[例2]:使用辅助线的简单例子
(1) 进入程序后点取“轴线网点”中“两点直线”命令;
(2) 利用光标或输入坐标值方法绘制AB、AC;
(3) 利用节点捕捉或输入坐标方法绘制BC(利用节点捕捉时应使角度捕捉处于关闭状态,方法是按【F4】使右下角显示【角度捕捉关闭】;
(4) 由于CB倾角非角度模数,由C点确定D点位置时不易利用角度和距离捕捉功能,此时可利用绘制辅助线的方法:点【圆弧】菜单,以C点为圆心,AC为半径画圆弧AD,得D点;
(5) 用【两点直线】及节点捕捉画直线AD;
(6) 点出下拉菜单用【删除图素】菜单删除辅助线AD。
图3-15 例2 使用辅助线
第二节 网格生成
网格生成部分的子菜单有:
(1) 轴线命名
是在网点生成之后为轴线命名的菜单。在此输入的轴线名将在施工图中使用,而不能在本菜单中进行标注。在输入轴线中,凡在同一条直线上的线段不论其是否贯通都视为同一轴线,在执行本菜单时可以一一点取每根网格,为其所在的轴线命名,对于平行的直轴线可以在按一次【Tab】键后进行成批的命名,这时程序要求点取相互平行的起始轴线以及虽然平行但不希望命名的轴线,点取之后输入一个字母或数字后程序自动顺序地为轴线编号。对于数字编号,程序将只取与输入的数字相同的位数。轴线命名完成后,应该用【F5】刷新屏幕。(注意:同一位置上在施工图中出现的轴线名称,取决于这个工程中最上一层(或最靠近顶层)中命名的名称,所以当想修改轴线名称时,应重新命名的为靠近顶层的层)。
(2) 轴线显示
是控制轴线显示的开关。
(3) 平移网点
可以不改变构件的布置情况,而对轴线、节点、间距进行调整。对于与圆弧有关的节点应使所有与该圆弧有关的节点一起移动,否则圆弧的新位置无法确定。
(4) 删除节点
在形成网点图后可对节点进行删除。删除节点过程中若节点已被布置的墙线挡住,可使用【F9】键中的【填充开关】项使墙线变为非填充状态。端节点的删除将导致与之联系的网格也被删除。
(5) 形成网点
可将用户输入的几何线条转变成楼层布置需用的白色节点和红色网格线。并显示轴线与网点的总数。这项功能在输入轴线后自动执行,一般不必专门点此菜单。
(6) 网点清理
本菜单将清除本层平面上没有用到的网格和节点。程序会把平面上的无用网点,如作辅助线用的网格、从别的层拷贝来的网格等得到清理,以避免无用网格对程序运行产生的负面影响。网点的清理遵循以下原则:
① 网格上没有布置任何构件(并且网格两端节点上无柱)时,将被清理。
② 节点上没有布置柱、斜杆。
③ 节点上未输入过附加荷载并且不存在其他附加属性。
④ 与节点相连的网格不能超过两段,当节点连接两段网格时,网格必须在同一直轴线上。
⑤ 当节点与两段网格相连并且网格上布置了构件时(构件包括墙、梁、圈梁),构件必须为同一类截面并且偏心等布置信息完全相同,并且相连的网格上不能有洞口。
⑥ 如果清理此节点后会引起两端相连墙体的合并,则合并后的墙长不能超过18m(此数值可以定制)。
(7) 上节点高
上节点高即是本层在层高处相对于楼层高的高差,程序隐含为每一节点高位于层高处,即其上节点高为0。改变上节点高,也就改变了该节点处的柱高和与之相连的墙、梁的坡度,如图3-16所示。用该菜单可更方便地处理像坡屋顶这样楼面高度有变化的情况。
图3-16 上节点高示例
运行上节点高菜单后,可在弹出的对话框中选择节点抬高方式,如图3-17所示:
图3-17 上节点高对话框
a) 单节点抬高:直接输入抬高值(单位:mm),并按多种选择方式选择按此值进行抬高的节点;
b) 指定两个节点,自动调整两点间的节点:指定同一轴线上两节点的抬高值,一般存在高差,程序自动将此两点之间的其他节点的抬高值按同一坡度自动调整,从而简化逐一输入的操作,效果如图3-18所示:
图3-18“指定两个节点”方式效果图
c) 指定三个节点,自动调整其他节点:该功能用于快捷的形成一个斜面。主要方法是指定这个斜面上的三点,分别给出3点的标高,此时再选择其他需要拉伸到此斜面上的节点,即可由程序自动抬高或下降这些节点,从而形成所需的斜面。例如需要将图3-19左边所示模型通过节点抬高而形成右图所示的坡面,则按图3-20所示,操作方法为:在节点抬高对话框中设定三点的抬高值à在图形上依次选取①②③三点à此时程序提示选择需要抬高的其他点,框选上该层所有节点à点鼠标右键退出,操作完成。
图3-19“指定三个节点”方式效果图
图3-20填入“三个点上节点高”数值示意
为了解决使用上节点高制造错层,而频繁修改边缘节点两端梁、墙顶标高的问题,在上节点高界面增加了“同步调整节点关联构件两端高度”选项,在设置上节点高时,如果勾选了该选项,则设置上节点高两端的梁、墙两端将保持同步上下平动,避免了手工调整梁、墙另一端节点的问题。该选项位置如上图所示。
图3-21 按窗口框选构件方式进行修改
例如,假设要修改上图中右侧3排柱子及其关联的梁、墙,使他们向下错层1米。
方法:选择三点确定平面的方式,同时勾选同步选项,设置三个点的上节点高值为-1000mm。在依次选择上图中的1,2,3点确定一个平面后,按照黄色窗口框选构件即可。修改后的错层效果如下图所示。
图3-22修改后的错层效果图
(8) 删除网格
在形成网点图后可对网格进行删除。注意:网格上布置的构件也会同时被删除。
(9) 节点对齐
将上面各标准层的各节点与第一层的相近节点对齐,归并的距离就是(11)中定义的节点距离,用于纠正上面各层节点网格输入不准的情况。
(10) 网点显示
是在形成网点之后,在每条网格上显示网格的编号和长度,即两节点的间距。帮助用户了解网点生成的情况。如果文字太小,可执行显示放大后再执行本菜单。
(11) 节点距离
是为了改善由于计算机精度有限产生意外网格的菜单。如果有些工程规模很大或带有半径很大的圆弧轴线,【形成网点】菜单会由于计算误差、网点位置不准而引起网点混乱,常见的现象是本来应该归并在一起的节点却分开成两个或多个节点,造成房间不能封闭。此时应执行本菜单。程序要求输入一个归并间距,这样,凡是间距小于该数值的节点都被归并为同一个节点。程序初始值的节点归并间距设定为50mm。
第四章 构件布置与楼层定义
新版本程序中,为了提高构件输入的效率,采用了一种全新的构件输入停靠面板方式。如下图所示,在上部菜单中点击主梁、柱、墙、门窗等构件的布置按钮,屏幕左侧将弹出构件布置统一入口面板。和旧版本的各类构件截面列表对话框类似,使用这个面板,可以完成对截面的增加、删除、修改、复制、清理等管理、显示工作。
第一节 构件布置集成面板
图4-1构件布置集成面板
面板的上部提供了每类构件的预览图,鼠标左键单击每一行时,预览图会根据选中的截面类型、参数重新绘制,进行动态预览,提示每个参数的具体含义。
在列表中,以浅绿色加亮的行表示该截面在本标准层中有构件引用。
面板的下部整合了每类构件布置时需要输入的参数,如偏心、标高、转角等。点击顶部的构件类别选项卡,程序会自动切换布置信息,点击“布置”按钮或直接双击截面列表中某类截面,就可以在图面上开始构件的输入了。
如果需要使用图面上已有构件的截面类型、偏心、转角、标高等信息,可以点击“拾取”按钮,按提示选中某一构件,程序将按这个构件的标高、偏心等布置信息,自动刷新到布置信息区域内的各个文本输入框,再点击“布置”按钮就可以快速输入相似构件了。
为了符合以往用户的一些输入习惯,程序保留了原有的全套构件输入入口。在单独点击上部菜单“旧版方式”中的每类构件的按钮时,程序会弹出原有的每种构件的“截面列表”对话框,按原有的流程,先选择构件序号,再弹出“构件布置”对话框进行构件的输入。
新版本程序将原有PMCAD及钢结构STS的所有截面进行了整合。在增加新截面时,程序提供了原有PMCAD及钢结构STS的所有截面,供用户选择(如图4-2所示),程序在内部使用统一的数据格式。此外,新版本程序(V3.X系列)建立的模型数据,使用旧版本PMCAD、STS程序(V2.2)都可以直接打开,所有构件不会丢失,截面列表会自动进行转换。
图4-2整合了PMCAD及钢结构STS的所有截面
需要注意的是,如果要使用“旧版方式”中的构件布置入口,在新建工程时,程序默认会使用PMCAD的截面库,如果需要使用STS钢结构的截面库,需要点击上部菜单“旧版方式”中的“截面库”按钮,在弹出的对话框中进行设置。
图4-3 截面库设置
第二节 构件布置要点
一、 参照定位
各种构件布置时的参照定位是不同的。
柱布置在节点上,每节点上只能布置一根柱。
梁、墙布置在网格上,两节点之间的一段网格上仅能布置一道墙,可以布置多道梁,但各梁标高不应重合。梁墙长度即是两节点之间的距离。
层间梁的布置方式与主梁基本一致,但需要在输入时指定相对于层顶的高差和作用在其上的均布荷载。
洞口也布置在网格上,该网格上还应布置墙。可在一段网格上布置多个洞口,但程序会在两洞口之间自动增加节点,如洞口跨越节点布置,则该洞口会被节点截成两个标准洞口。
斜杆支撑有两种布置方式,按节点布置和按网格布置。斜杆在本层布置时,其两端点的高度可以任意,即可越层布置,也可水平布置,用输标高的方法来实现。注意:斜杆两端点所用的节点,不能只在执行布置的标准层有,承接斜杆另一端的标准层也应标出斜杆另一端的节点。
次梁布置时是选取它首、尾两端相交的主梁或墙构件,连续次梁的首、尾两端可以跨越若干跨一次布置,不需要在次梁下布置网格线,此梁的顶面标高和与它相连的主梁或墙构件的标高相同。
二、 构件定义
构件布置分为主梁、柱、墙、门窗、层内斜杆、次梁、层间梁等。菜单如下图所示。
图4-4 构件布置菜单
这些构件在布置前必须要定义它的截面尺寸、材料、形状类型等信息。程序对“构件”菜单组中的构件的定义和布置的管理都采用如图4-5所示的对话框。对话框上面是【增加】、【改类型】、【改参数】、【删除】、【复制】、【清理】、【显示】、【组名】、【布置】、【拾取】的按钮。此对话框截面列表还有排序的功能,可以将定义完的截面列表按输入顺序、形状、参数、材料各列这些特征排序,排序时点击一下相应的列表头就可以了。
【增加】:定义一个新的截面类型。点增加按钮,将弹出构件截面类型选择定义对话框,选择在对话框中输入构件的相关参数。
【改类型】:修改已经定义过的构件截面形状类型对于已经布置于各层的这种构件的尺寸也会自动改变,此时弹出的类型选择界面中原类型图标会自动加亮以表示当前正在修改的类型。
【改参数】:修改已经定义过的构件截面尺寸及材料,对于已经布置于各层的这种构件的尺寸也会自动改变。
【删除】:删除已经定义过的构件截面定义,已经布置于各层的这种构件也将自动删除。
【布置】:在对话框中选取某一种截面后,在点取【布置】按钮将它布置到楼层上。选取某一种截面后双击鼠标左键也可以进入布置状态。
【清理】:自动将定义了但在整个工程中未使用的截面类型清除掉,这样便于在布置或修改截面时快速的找到需要的截面。同时由于容量的原因,也能减少在工程较大时截面类型不够的问题。
【显示】:用于查看指定的构件定义类型在当前标准层上的布置状况。操作方式:例如先在柱截面列表中选择1号截面,再点击“显示”按钮,平面图形上凡是属于1号截面的柱子开始闪烁显示,图形上除用鼠标滚轮进行缩放外,不能进行其他操作,如平移等。按鼠标左右键或键盘的任意键可返回柱截面列表对话框。
【组名】:在对话框列表中选择一种截面后,点击“组名”,可给该截面定义一个自定义标示,比如给基础层的梁定义组名“基础梁”,则可以利用截面列表的排序功能,点击组名列的表头,直接按组名排序就可以将“基础梁”这一类的截面都显示在截面列表的前面,便于管理和构件布置。
【拾取】:直接从图形上选取构件,然后将其布置到新的平面位置。当布置某根构件时,忘记了该构件的尺寸或偏心等布置参数,但知道它与已布置在平面上的某构件相同,此时用拾取功能操作十分简便。拾取的构件不仅包括它的截面类型信息,还包括它的偏心、转角、标高等布置参数信息。
在楼层布置时可同时定义构件,也就是说可边定义构件,边进行结构布置。
说明:列表中,浅绿色背景的行表示当前标准层有构件使用该截面。
三、 偏心参数
图4-6 梁布置信息参数
当布置柱、梁、墙、洞口等构件时,选取构件截面后,可直接在截面列表的下部输入构件的偏心信息等参数,如上图所示。如不修改其窗口中隐含数值则可不操作该对话框而直接在网格节点上布置构件。如果需要输入偏心信息时,应点取对话框中项目输入,该值将作为今后布置的隐含值直到下次被修改。用这种方式工作的好处是当偏心不变时每次的布置可省略一次输入偏心的操作。
柱相对于节点可以有偏心和转角,柱宽边方向与x轴的夹角称为转角,沿柱宽方向(转角方向)的偏心称为沿轴偏心,右偏为正,沿柱高方向的偏心称为偏轴偏心,以向上(柱高方向)为正。柱沿轴线布置时,柱的方向自动取轴线的方向。
设梁或墙的偏心时,一般输入偏心的绝对值,布置梁墙时,光标偏向网格的哪一边,梁墙就也偏向那一边。
布置洞口时,输入洞口左下节点距网格左节点距离和与层底面的距离。除此之外,还有中点定位方式,右端定位方式和随意定位方式,在提示输入洞口距左(下)点距离时,若键入大于0的数,则为左端定位,若键入0,则该洞口在该网格线上居中布置,若键入一个小于0的负数(如-D,单位:mm),程序将该洞口布置在距该网格右端为D的位置上。如需洞口紧贴左或右节点布置,可输入1或-1(再输窗台高),如第一个数输入一大于0小于1的小数,则洞口左端位置可由光标直接点取确定。
在选择标准构件时,或在程序要求输入构件相对于网格或节点的偏心值的时候,用户可输入数值,也可选择对话框中的【取数】项,从图中拾取数据,当选中时,构件的断面和偏心为选中值让用户加以确认。该项操作与上面【拾取】相同。
四、 高亮选中截面
如图4-7所示,在构件偏心信息的右侧,可以勾选“高亮截面”。勾选后,楼层中使用当前选中截面的构件,将以高亮形式显示,且支持三维透视图、视角转动等常规操作,便于用户观察楼层对当前选中截面的使用情况。某工程某类梁截面高亮显示的二维和三维效果如图4-8所示。
图4-7 某类梁截面高亮显示的二维效果图
图4-8某类梁截面高亮显示的三维效果图
五、 按截面显示
在构件偏心信息的右侧,可以勾选“截面分色”选项。为了便于用户观察各类截面在当前层乃至全楼的布置情况,程序提供了按截面显示功能,目前仅梁、柱、墙和支撑支持该功能。勾选该选项后,程序自动对截面列表中的各个截面自动分配一个颜色值并给出截面形状、尺寸和材料信息(颜色值可点击表格中的颜色修改),同时根据各个颜色刷新图形,某工程的梁截面勾选此选项后效果如下图所示。
图4-9梁按截面分类显示的二维效果图
一般情况下,用户可能只关注个别一种或几种截面,可点击“默认颜色”,全部的梁将变为默认的颜色,此时仅修改几种关注的梁截面的颜色,然后点击应用即可。可使用此功能做视觉效果好一些的PPT等报告文档。
该功能对全楼有效,支持单层和全楼的二维、三维透视图和渲染图,并支持右上角的下拉表切换楼层和缩放、旋转等基本操作。如果在全楼组装后再调整颜色,程序会提示需要重新组装一次以便颜色的刷新。如某工程仅关注“300*500”梁截面后的全楼组装效果如下图所示。
图4-10梁按截面分类显示的三维效果图
关掉颜色设置对话框或取消勾选将自动退出按截面显示状态。
六、 布置的五种方式
① 直接布置方式
在选择了标准构件,并输入了偏心值后程序首先进入该方式,凡是被捕捉靶套住的网格或节点,在按【Enter】后即被插入该构件,若该处已有构件,将被当前值替换,用户可随时用【F5】键刷新屏幕,观察布置结果。
② 沿轴线布置方式
在出现了【直接布置】的提示和捕捉靶后按一次【Tab】键,程序转换为【沿轴线布置】方式,此时,被捕捉靶套住的轴线上的所有节点或网格将被插入该构件。
③ 按窗口布置方式
在出现了【沿轴线布置】的提示和捕捉靶后按一次【Tab】键,程序转换为【按窗口布置】方式,此时用户用光标在图中截取一窗口,窗口内的所有网格或节点上将被插入该构件。
④ 按围栏布置方式
用光标点取多个点围成一个任意形状的围栏,将围栏内所有节点与网格上插入构件。
⑤ 直线栏选布置方式
当切换到该方式时,需拉一条线段,与该线段相交的网点或构件即被选中,随即进行后续的布置操作。荷载布置和删除时同样可通过【Tab】键切换到直线栏选方式。
按【Tab】键,可使程序在这五种方式间依次转换。
退出构件布置的操作:点取构件布置对话框的【退出】,或鼠标停靠在构件布置对话框时点取鼠标右键,或按【Esc】键。
七、 截面的导入导出
对于不同的工程,如果建筑形式、功能、规模都类似,则结构使用的各类构件的截面形状和尺寸往往有许多相同之处。当截面尺寸类型较多,或者使用了异形构件时,截面定义的工作量较大,每个工程对相同截面的重复定义会对建模的效率有所影响。因此08/10新版中增加了构件导入、导出的功能,可以将某工程的构件截面定义信息存入独立的文件,而进行类似工程的建模设计时,再将此文件内含的构件截面定义导入,则可以省去定义同类截面的重复工作,提高建模效率。
构件截面定义的导入导出功能按钮位于“常用工具”à“截面导入导出”菜单组下下,位置如下图所示。该功能目前支持的构件有墙、柱、梁、洞口、斜杆。导出后的截面信息存储在后缀为.gj的文件中。
图4-11构件截面的导入导出菜单位置
(1) 构件导出操作步骤:
① 指定构件导出的文件名,默认取工程名。
② 在左侧树形列表框中列出的本工程构件截面列表中选取需要导出的类型,默认状态下全部选中。
③ 点击右下角导出按钮,完成导出操作。
(2) 构件导入操作步骤:
① 选择已存在的构件截面定义文件(*.gj)。
② 左侧树形列表框中列出本文件中存储的各类构件的截面信息,选择需要导入的截面。
③ 点击右下角导入按钮,完成导入操作。
图4-12构件截面的导入导出
八、 动态预览
08/10版程序在构件按点取方式布置时,鼠标停留的节点网格上将显示出构件布置后的效果,可以很方便的确定构件的布置参数是否正确,简化了布置后发现不正确再进行修改的操作,效果如图4-13所示。平面图状态下也有同类效果。
图4-13构件布置时的动态预览
九、 构件删除
构件删除功能现在统一放置到“构件删除”菜单项调出的对话框中。当在对话框中选中某类构件时(可一次选择多类构件),直接选取所需删除的构件,即可完成删除操作。菜单在 “常用菜单”、“构件布置”和右下的快捷菜单栏均可找到,右下的快捷菜单栏中的位置如下图所示。
图4-14构件删除菜单位置
图4-15“构件删除”对话框内容
新版的构件删除命令支持原先光标选择、轴线选择、窗口选择、围区选择和直线选择5中方式,可在二维和三维下通用,对于选择层间梁等层间构件和切换视角后的选择提供了方便。
除此之外,该功能还支持“反选”功能:即在选择完构件后(构件会以亮粉色标示被选中),此时按住SHIFT键再次选择已选的构件,则该构件会变为未选中状态,从选择集中剔除。
第三节 普通构件的布置过程
这里介绍输入各层的柱、主梁、墙、洞口、斜杆、次梁、层间梁的过程。
一、 柱布置
1、截面定义
在柱布置集成面板中,点【增加】按钮,弹出柱的截面类型选择对话框如下。
图4-16“截面类型选择”对话框
选择某一类型,如矩形后,会弹出参数输入界面如下。
图4-17“截面参数”对话框
要求定义柱的截面尺寸及材料(混凝土或钢材料),同时右侧预览图根据输入尺寸按比例绘制截面形状。如果材料类别输入0,保存后自动更正为6(混凝土)。如果新建的截面参数与已有的截面参数相同,新建的截面将不会被保存。柱最多可以定义800类截面。
如果需要更改截面类型,点【修改类型】按钮,弹出截面类型选择对话框,此时程序自动加亮当前被修改的类型图标,这样可方便的知道当前要被修改的截面类型,之后再选择新的截面类型即可。柱目前共有33类标准截面类型,各种类型截面的详细说明参见PMCAD用户手册后面的附录部分。
2、任意多边形截面
任意多边形截面输入仅柱布置及斜杆布置时才有效,仿AutoCAD的输入方式,可输入直线和弧线,输入过程中可捕捉用户定义的各个网点,同时左下角会实时显示当前鼠标坐标值,截面输入完成后会自动生成红色X的插入点。简要介绍界面上几个主要按钮功能:
定义网格:定义作图时用于捕捉使用的单个网格的代表值,如上图中为横向和纵向均为100*10的网格,单个网格代表长度100。
偏移:可输入相对鼠标捕捉到节点的X和Y向偏移值。如“偏移”按钮打开后,输入X=30mm,Y=50mm,当鼠标移动到(300,400)的网格点时,会自动在当前选择网点的基础上进行XY的偏移,获得(330,450)的点,左下角的坐标也会有正确的坐标数据。
清除重画:清理当前图面重新绘制。
设置插入点:截面输入完成后,调整红色X插入点的位置,方便在PMCAD中进行偏心输入。
导入和导出:当前的图形定义数据可导出以备其他工程或截面定义时导入使用。
图4-18任意多边形截面定义
3、柱的布置
柱需要布置到节点上,靠节点定位,每节点上只能布置一根柱,如果在已布置了柱的节点上再布置柱,后布置的柱将覆盖掉已有的柱。
柱的布置参数信息对话框中包含的参数有偏心、转角及柱底标高。柱宽边方向与X轴的夹角称为转角,沿柱截面宽方向(转角方向)相对于节点的偏心称为沿轴偏心,右偏为正,沿柱截面高方向的偏心称为偏轴偏心,以向上(柱高方向)为正。
柱底标高指柱底相对与本层层低的高度,柱底高于层底时为正值,低于层底为负值。可以通过柱底标高的调整实现越层柱的建模。如下图所示:
图4-19柱底标高的调整
程序取柱顶高度为本层层高。当柱所在节点有上节点高的向上或向下的调整时,柱高跟随上节点高的调整。
布置的参数信息在进行下一次布置时自动保存。点【拾取】按钮,选择图形区中已经布置的柱后,柱的布置参数信息自动提取到这几个对话框中。利用【拾取】按钮,可以快速的布置/修改柱。
柱布置有五种方式:直接布置方式、沿轴线布置方式、按窗口布置方式、围栏布置方式、直线栏选布置方式。
按【Tab】键,可使程序在这五种方式间依次转换,也可在布置参数对话框上直接点击布置方式。柱沿轴线布置时,柱的方向会自动取轴线的方向。
L形截面和T形截面的布置时的插入点为翼缘和腹版中心线的交点(槽型截面和十字形截面的插入点在截面高度一半处),因此使用L形、T形截面进行输入时,较按槽型和十字形等截面输入可以省去偏心的计算。
在柱布置过程中,如果需要柱按照某网格的角度进行转动,则点击该按钮,此时将允许用户在图面中选择一道网格,程序自动计算该网格的角度,以红色填入到左侧的编辑框中,接下来布置的柱转角将自动采用该角度。当点击“角度清零”或手动填入角度值时,编辑框中的字将以黑色显示,以示区别。如下图所示:
图4-20柱布置拾取指定网格角度
注意的是当程序切换到按“轴线”方式布置时,该功能会自动灰掉,程序优先采用轴线角作为柱转角。
二、 主梁布置
同柱布置,与柱不同的是梁布置在网格上,一个网格上通过调整梁端的标高可布置多道梁,但两根梁之间不能有重合的部分。梁最多可以定义800类截面。
图4-21主梁布置的参数
主梁布置的参数有偏轴距离和其两端相对于楼层的高差。
偏心:可以输入偏心的绝对值,布置梁时,光标偏向网格的哪一边,梁也偏向那一边。
梁顶标高:梁两端相对于本层顶的高差。如果该节点有上节点高的调整,则是相对于的调整后节点的高差。
如果梁所在的网格是竖直的,梁顶标高1指下面的节点,梁顶标高2指上面的节点,如果梁所在的网格不是竖直的,梁顶标高1指网格左面的节点,梁顶标高2指网格右面的节点。对于按主梁输入的次梁,三维结构计算程序将默认为不调幅梁。
轴转角:此参数控制布置时梁截面绕截面中心的转角。
三、 次梁布置
次梁与主梁采用同一套截面定义的数据,如果对主梁的截面进行定义、修改,次梁也会随之修改。
次梁布置时是选取它首、尾两端相交的主梁或墙构件,连续次梁的首、尾两端可以跨越若干跨一次布置,不需要在次梁下布置网格线,次梁的顶面标高和与它相连的主梁或墙构件的标高相同。
点击【次梁】按钮后,已有的次梁将会以单线的方式显示。次梁的端点可以不在节点上,只要搭接到梁或墙上即可。按程序的提示信息,逐步输入次梁的起点、终点后即可输入次梁。如果希望按房间布置,可以先布置某一个房间的次梁,再用“基本”菜单下的拖动复制按钮将此房间的次梁全部选取,将其复制到其他相同的房间内。次梁的端点一定要搭接在梁或墙上,否则悬空的部分传入后面的模块时将被删除掉。如果次梁跨过多道梁或墙,布置完成后次梁自动被这些杆件打断。
因为次梁定位时不靠网格和节点,是捕捉主梁或墙中间的一点,经常需要对该点的准确定位。常用到的方法就是“参照点定位”,可以用主梁或墙的某一个端节点作参照点。首先将光标移动到定位的参照点上,按【TAB】键后,鼠标即捕捉到参照点,在根据提示输入相对偏移值即可得到精确定位。次梁布置实例见图4-22。
图4-22次梁布置实例
注意:布置的次梁应满足以下三个条件:
① 使其与房间的某边平行或垂直。
② 非二级以上次梁。
③ 次梁之间有相交关系时,必须相互垂直。
对不满足这些条件的次梁,虽然可以正常建模,但后续模块的处理可能产生问题。
四、 层间梁布置
为了增加层间梁的三维快速输入功能,PMCAD程序V3.1版开始增加了三维网格线,并提供了对这些网格线的捕捉功能。如图4-23所示,在上部菜单“构件布置”中执行“层间梁”命令,程序会自动打开三维网格线的显示,例如:每个结点上会有一根浅灰色的竖向网格线。梁、柱、墙等构件会自动切换为单线显示模式,方便构件的精确捕捉。布置完成后,显示模式会切换回原有的模式。
选择层间梁的截面类型之后,可以开始布置层间梁。在布置过程中,可以捕捉这些三维网格线的端点、中点、交点等,而且还可以捕捉动态追踪线(灰色虚线)与这些网格线的交点,从而进行层间梁两端坐标的精确定位,省去梁两端相对标高的输入。例如,在鼠标动态捕捉到一个柱底的夹点后,先不按左键,而在命令行提示区输入“Z1800”后按“回车”,表示需要捕捉相对柱底向上1800mm的位置,鼠标会自动跳到精确位置。然后移动鼠标至与另外一根柱水平相交的位置,程序会自动捕捉相交点,点击左键确认,程序会完成一根相对柱底高1800mm的水平层间梁的布置。
图4-23层间梁的布置
在布置过程中,可以只布置一根连通的层间梁,即只将两个最远端的柱中点指定为一根梁的两个端点,等布置命令结束后,程序会自动根据周边网格、结点关系,将这根大梁打断成多段小梁,如下图所示结果。
图4-24大梁被自动打断成多段小梁
使用“层间梁”可以进行坡道的快速建模,只需要分别在近端的柱底和最远端的柱顶各用鼠标点击一次,程序会自动完成将整根贯通的大梁拆分成小梁段的工作。程序会计算出每段小梁与两柱的交点,赋予各小梁段准确的梁顶标高值。
图4-25使用层间梁建立坡道示例
五、 墙布置
墙需要定义厚度和材料(混凝土或烧结砖、蒸压砖、空心砌块四种)。布置方式同主梁布置。墙最多可以定义200类截面。
墙布置时可以指定墙底标高和墙两端的顶标高(墙顶标高1和墙顶标高2)。墙顶标高是指墙顶两端相对于所在楼层顶部节点的高度,如果该节点有上节点高的调整,则是相对于的调整后节点的高度。通过修改墙顶标高,可以建立山墙、错层墙等形式的模型。如下图所示:
图4-26墙两端的顶标高
对于山墙等墙顶倾斜的情况,混凝土结构计算程序和砌体结构程序都可以处理。需要特别指出的是,若需使用SATWE进行模型分析,则非顶部结构的剪力墙允许错层(即相邻两片墙顶标高可以不一致),但不允许墙顶倾斜。
图4-27墙截面参数定义对话框
六、 洞口布置
洞口布置在网格上,该网格上还应布置墙。一段网格上只能布置一个洞口。布置洞口时,可以在洞口布置参数对话框中输入定位信息。定位方式有左端定位方式,中点定位方式,右端定位方式和随意定位方式,如果定位距离大于0,则为左端定位,若键入0,则该洞口在该网格线上居中布置,若键入一个小于0的负数(如-D,单位:mm),程序将该洞口布置在距该网格右端为D的位置上。如需洞口紧贴左或右节点布置,可输入1或-1。如第一个数输入一大于0小于1的小数,则洞口左端位置可由光标直接点取确定。洞口最多可以定义240类截面。
七、 斜杆布置
1、传统(2点)布置方式
传统方式有两种布置方法,按节点布置和按网格布置。斜杆在本层布置时,其两端点的高度可以任意,即可越层布置,也可水平布置,用输标高的方法来实现。注意:斜杆两端点所用的节点,不能只在执行布置的标准层有,承接斜杆另一端的标准层也应标出斜杆另一端的节点。斜柱可按斜杆输。
斜杆的布置参数也同样在截面列表下方,如图4-28所示,对话框中可以选择是按节点布置还是按网格方式布置,如果按节点布置,先分别输入所选的两个节点处斜杆端部相对于层底的标高(输入0表示按本层地面标高,输入1表示使用层高,也可由右侧的单选按钮完成)和相对于节点的偏心,再在图形上依次选择相应的两节点,即可完成斜杆的输入。如果选择按网格方式布置,则以上输入的各值将以所选网格的两端节点为参照。斜杆最多可以定义200类截面。
斜杆布置的旋转角指斜杆截面相对于截面中轴的转角。
图4-28斜杆布置参数输入
图4-29跨越层高的支撑布置实例
2、一点斜杆的布置方式
所谓“一点斜杆”是指在布置时只需指定一个结点,另一点直接在图面上进行捕捉或者输入相对坐标来确定,第二点位置不一定要有结点,从而避免原有传统方式第二点的结点打断其它构件。在布置中,第一个点确定节点,第二个点确定偏移值。
如下图所示,在“层内斜杆”布置对话框中,选择“1点斜杆”方式,“1端标高”设置为“0”,“2端标高”设置为“与层高同”,然后点击“布置”按钮,在图面上选择第一点位置,在下部的信息提示栏中给出“选择2端偏移值([Esc]返回)”时,可以直接捕捉端点中点等位置,也可以通过输入斜杆投影长度直接定位斜杆。
图4-30一点斜杆布置结果及参数修改
布置完成后,使用鼠标右键点击斜杆的一个端点,将弹出“构件属性”对话框,如上图所示。其中,对于“一点斜杆”,它两端依赖的结点都为同一个结点,通过设置1、2端的X、Y方向的偏移值来进行定位。在属性框中,可以直接修改这些偏移值,然后再点击上部的“确定”按钮,就可以重新进行定位。
一点斜杆方式最大的优势在于沿着斜交构件布置斜杆时,可以在平面布局直接输入距离确定长度,而不需要分别计算x,y的偏移值再手工填写。
3、斜杆的偏移与整体偏心
V3.1.4版本之前的PMCAD斜杆的布置只有偏心概念,即构件定位在两端的节点上,相对节点设置小偏心,此偏心不影响节点所在位置;这样斜杆的布置除了竖直向上,都需要两个节点来布置,经常其中的节点仅仅因为布置斜杆而存在,这个节点有时会对周边构件产生影响。如下图:
图4-31传统方式建立的斜杆
框架外立面有坡度变化的情况,此时需要用斜杆来建立斜柱。原来需要建立两个节点,这样因为节点的存在,就会把连接的梁打断为2段,而实际在空间中此梁是完整的一段。现在通过偏移方式可以解决此问题。如下图:利用偏移值设置,可以在一个节点上就可以布置斜杆。其方法是在SATWE生成数据阶段,根据偏移值重新调整节点位置,在三维环境下生成节点的三维实际位置,这样就避免了将梁打断。
图4-32传统方式斜杆与1点斜杆的区别
“整体X、Y向偏心”参数,即构件是整体平移的,主要用来解决柱、墙与斜杆外皮对齐的问题。例如,如下图所示,由于矩形截面700X700柱有Y方向的大偏心-300mm,在布置矩形截面300X300的斜杆时,为了达到外皮对齐的效果,可以将斜杆布置对话框中整体Y偏心设置为“-500”mm,再进行布置就可以了。整体偏心的参数后续计算模块会给予考虑,从而计算结果与实际情况更相符。
图4-33斜杆整体偏心
注意:偏移和偏心是不同的,偏移会产生新节点,一般数值较大;而偏心是构件在原有位置上的偏心修正,不改变节点位置。无论传统的布置方式还是1点斜杆布置方式,都可以设置偏移值,一点斜杆方式仅仅是方便建模的手段,其底层数据记录是相同的。
4、斜杆的打断
勾选打断选项,则在SATWE或PMSAP分析时,斜杆遇到周边构件则自动打断,构件在此点协调。
图4-34斜杆整体偏心
勾选打断选项,则在SATWE或PMSAP分析时,斜杆遇到周边构件则自动打断,构件在此点协调。
需要注意的是,打断选项不在PMCAD阶段打断斜杆,而是在SATWE生成数据阶段打断,这样就避免了打断引起的标准层混乱或被迫产生新标准层附带的问题。如下图可见,在PMCAD中建立越层斜杆并勾选打断后,在SATWE模型检查中可以见和周边梁,板打断并协调。
图4-35斜杆的打断时机
此外如果勾选了打断,则斜杆同任何位置与之相交的构件打断,而不限于层高位置处,这样在计算分析时始终能正确处理协调关系。支撑的端部节点始终会参与打断运算,而不受勾选项影响。
图4-36斜杆打断柱的位置
斜杆打断和1点斜杆选项使用注意事项:斜杆打断和斜杆偏移运算是在SATWE生成数据时执行,所以在生成数据前的特殊构件定义中,目前无法判别被打断构件,这会产生一些影响,例如如果斜杆从梁的中间穿过,则梁的刚度系数仍按一整段计算,而不会按实际打断后的两段来计算;另外如果越层斜杆同时打断,构件级模拟施工次序暂时只能定义一个次序,如果斜杆需要分配在不同的施工次序中,请在各标准层分段建模。
对于梁的计算长度,柱的长度系数等补充定义在SATWE生成数据之后,能正确判断打断并按分段形成长度系数。如下图,在PMCAD中布置一根越层打断的偏移支撑,此时只使用了一个节点来布置斜杆,在PMCAD阶段梁不打断,在SATWE长度系数中仍能识别为两段梁并计算相应的计算长度。
图4-37斜杆打断后自动处理梁的长度系数
5、存为旧版
因为斜杆新增了4个偏移参数,所以数据格式有所升级,为此增加了存为旧版的功能,V3.1.3及以前的版本应使用存为旧版来处理斜杆。存为旧版后,斜杆不再有偏移值,如果用一个节点加偏移方式建模的斜杆,看上去都会是竖直的。
图4-38模型的存为旧版
八、 空间斜杆布置
图4-39空间斜杆建模效果图
点击“空间斜杆”命令后,首先弹出与层内“斜杆布置”命令一致的“斜杆截面列表”对话框。需要注意的是,“空间斜杆”与“层内斜杆”索引相同的截面定义,即修改某一截面参数,其关联的所有“空间斜杆”与“层内斜杆”都会发生变化。
选择需要布置的截面定义,点击“布置”按钮,程序会弹出“空间斜杆布置”对话框:
图4-40空间斜杆布置对话框
其中,各参数及功能、注意事项说明如下:
(1)显示楼层
可以显示所有楼层,也可以按指定起始层号进行楼层的组装显示。建议用户只选择需要布置的空间斜杆所在的楼层范围进行显示,可以加快交互建模时程序的响应速度。
捕捉精度:指在交互建模过程中,当显示模式选择为“实体模式”时,捕捉点至真实结点位置之间的容差。由于三维建模过程中,构件实体显示时会遮挡PMCAD中的结点,所以捕捉不到结点的实际位置。程序会根据容差自动进行判断,找到最近的结点,与输入的空间斜杆进行关联,确保与其它构件的连接关系。默认值为800mm,用户可以视当前布置斜杆位置的其它构件截面的尺寸调整,从而提高结点捕捉准确性。
建议用户在捕捉构件时,当程序提示构件的关键点(黄色方框高亮显示)被选中时,并且在状态栏左下角的坐标显示区域中,“Z”值固定显示为空间斜杆一端的层高值,再按下鼠标左键确认空间斜杆的位置。
图4-41空间斜杆捕捉注意事项
(2)显示模式
构件显示时默认按“实体模式”进行显示。如果模型规模较大,或实体遮挡较严重,可以按“单线”模式进行显示,如图4-42所示。此时,程序进行构件捕捉时,会沿空间网格线捕捉到结点。
图4-42单线模式下的构件捕捉
(3)显示区域
默认按“全部”区域内的所有构件进行显示。如果选择按“矩形区域”显示,在进行建模相关的布置、删除等操作前,程序会提示在屏幕上选取需要显示的矩形区域边界,然后自动选择XY平面投影在此矩形区域的构件进行显示。需要注意的是,对于线构件,如墙、梁、斜杆等,只有两个端点的投影都落在此区域内才会显示。此外,还有按“任意区域”模式显示,用户需要在先屏幕上围选出一个多边形区域,然后程序会自动挑选出构件进行显示。
提示:用户如果需要进行切片操作,可以按“矩形区域”显示,只在屏幕上选取在一条直线上的一组网格线即可,然后进行空间斜杆的建模工作,如图4-43所示。
图4-43切片显示建模
(4)计算时打断
指进入SATWE前处理时,对PMCAD空间斜杆的打断处理。
不打断:不会被其它任何构件打断。
所有构件:如果某根空间斜杆遇到与其它构件相交的情况,如梁、柱、墙、斜杆等,在计算前会按交点数量被打断成若干段空间斜杆,再依赖空间网格与其它构件进行协调。
仅空间斜杆:仅遇到空间斜杆时,自身会被进行打断处理。
需要注意的是,这些打断操作都是在计算分析的前处理过程中进行,不会影响PMCAD本身的模型数据,再次进行PMCAD时,空间斜杆数据不会发生改变。
(5)布置参数
截面号:指在“斜杆截面列表”中的序号。
转角:指截面以第一点至第二点的空间网格线为轴,沿逆时针方向旋转的角度。只允许输入[0,360]之间的数值。
第1、2点向下偏移(mm):在进行空间斜杆端点捕捉时,默认捕捉的结点在层内层顶处,如果端点有Z向偏移值,向下偏移输入正值“500”表示相对层顶标高向下偏移500mm。
需要注意的是,如果捕捉到的结点为第1自然层和第2自然层的交点,默认捕捉到的结点属于第1自然层,即“空间捕捉向下归属”原则。如果捕捉到的结点在最下层,则输入的向下偏移值无效。
(6)“布置”按钮
设置好“显示模式”、“显示区域”及布置参数等,点击“布置”按钮开始空间斜杆的建模。如果需要退出,按键盘的“Esc”键,或者在屏幕上单击鼠标右键,选择其中的“其它右键菜单”(图4-44)来返回“空间斜杆布置”对话框。
(7)“删除”按钮
点击“删除”按钮,命令提示区会给出“请选择要删除的空间斜杆”的提示,此时,在屏幕上单击鼠标左键,选择要删除的空间斜杆,选择其它构件无效,被选择的空间斜杆会高亮显示。可以点选多根空间斜杆,然后按键盘的“Esc”键,或点击右键菜单中的“其它右键菜单”来确认选择内容,程序会弹出“确认删除”的对话框,点击“是”后被选中的空间斜杆将被删除。
(8)“全部删除”按钮
点击“全部删除”按钮后,程序将给出确认全部删除的提示,请谨慎选择。
(9)“点选修改”按钮
点击“点选修改”按钮后,在屏幕上用鼠标左键选取需要修改的空间斜杆,程序将弹出“构件信息”对话框,用来展示该斜杆的布置信息、定义信息、扩展属性等。其中,可以修改的信息有:轴转角、打断标记、1端Z向偏移、2端Z向偏移、构件类别。
与布置对话框内参数含义不同,属性框内的1端与2端Z向偏移值,输入“-1”表示Z值按所在自然层层底标高计算,输入“0”表示按所在自然层层顶标高计算,输入“500”表示比所在自然层层顶高出500mm。
图4-45空间斜杆的修改
(10)“归并入层”按钮
对于单根空间斜杆,程序提供了将它打断、拆分,分别归并进入几个标准层的功能。但需要注意的是,“归并入层”功能需要用户已经建立好对应的标准层,才能自动进行。如4-46图所示,某根空间斜杆跨越3个自然层,如果要将它“归并入层”,需要在建模时就已经存在3个标准层。
点击“归并入层”按钮后,在屏幕上用鼠标左键选取需要处理的空间斜杆,程序将给出确认提示,点击“是”后,程序将自动进行“等代换”工作,在3个标准层内各新建1根层内斜杆,截面、转角与原空间斜杆一致,两端位置在原空间斜杆与各层层高交点处,最终的组装效果与原空间斜杆效果一致,如图4-46所示。
特别需要说明的是,执行“归并入层”成功后,原有的此根空间斜杆将被删除。
九、 梁加腋
如下图所示,“梁加腋”菜单位于“构件布置”菜单中,包含了“布置加腋”、“删除加腋”两个命令。
图4-47加腋梁菜单内容
点击“布置加腋”命令后,程序将弹出“加腋梁输入”对话框,输入“腋长”、“腋高”等参数,选择“水平加腋”及“竖向加腋”等选项,就可以在图面上开始布置。程序提供4种构件选择方式,分别是“光标选择”、“轴线选择”、“窗口选择”、“围区选择”,并提供了加腋梁的动态预览显示。需要注意的是,在删除加腋梁时,如果是采用“光标选择”方式,程序会删除距离光标最近位置一端的梁加腋;而如果采用其它选择方式,是以整根梁为单位进行删除,即两端布置的梁加腋会同时删除。
图4-48加腋梁的布置及动态预览显示
图4-49加腋梁的布置结果
重要提示:“加腋梁”只能布置在矩形截面的梁上。如果选择的梁截面不是矩形,将给出以下提示。
图4-50加腋梁截面提示
十、 钢板墙布置
在“外包钢板剪力墙”对话框中进行各参数的设置,就可以在图面选择已有墙进行“外包钢板剪力墙”的布置,如下图所示:
图4-51钢板剪力墙(外包钢板)的输入
对于内置钢板剪力墙的输入,其功能与SATWE前处理特殊墙中的内置钢板剪力墙输入相同,选择需要布置的墙后,会在墙侧辅以文字标示,以示区分。其菜单位置及布置如下图所示。
图4-52 “内置钢板剪力墙”的输入
十一、 减隔震—消能器参数化建模
图4-53消能器菜单位置
在PMCAD中以参数化建模的方式输入消能减隔震设备,而不用手工建立构件细节,程序会自动在SATWE生成数据阶段根据参数拆解构件并设置减隔震装置形成可计算的模型。
如上图所示,在“构件布置”菜单中,包含了“消能器”的布置及删除命令。点击“布置消能器”命令,在左侧面板中点击“增加”按钮,将弹出“消能器定义”对话框。
图4-54消能器的定义
消能器参数化输入模型后,会离散成一系列杆系子结构,离散的杆件可当刚性杆处理,也可选择已定义的斜杆截面作为杆件截面,后续计算采用真实截面。如需增加新的截面类型,请在斜杆截面定义布置侧边栏中添加。
1-梁式 |
U-阻尼器作用方向 d1-阻尼器距始端距离(mm) H-阻尼器高度(mm) |
2-撑式(剪切) |
U-阻尼器作用方向 d1-阻尼器距始端距离(mm) H-阻尼器高度(mm) |
3-撑式(轴向) |
U-阻尼器作用方向 d1-阻尼器距始端距离(mm) H-阻尼器高度(mm) |
4-墙板式 | U-作用方向 d1-距始端距离(mm) H-阻尼器高度(mm) L1连接钢板宽度(mm) H1连接钢板高度(mm) |
5-类型5 | U-阻尼器作用方向 d1-始端偏移距离(mm) d2-终端偏移距离(mm) H-阻尼器高度(mm) |
6-类型6 | U-阻尼器作用方向 d1-始端偏移距离(mm) d2-终端偏移距离(mm) H-阻尼器高度(mm) |
7-类型7 | U-阻尼器作用方向 d1-端部偏移距离(mm) d2-端部偏移距离(mm) H-阻尼器高度(mm) |
8-类型8 | U-阻尼器作用方向 d1-端部偏移距离(mm) d2-端部偏移距离(mm) H-阻尼器高度(mm) |
9-类型9 |
U-阻尼器作用方向 d1-端部偏移距离(mm) d2-端部偏移距离(mm) H-阻尼器高度(mm) |
10-类型10 |
U-阻尼器作用方向 d1-端部偏移距离(mm) d2-端部偏移距离(mm) H-阻尼器高度(mm) |
图4-55 消能器的10种类型及各参数含义
每种消能器可以有两种类型,分别是“速度型消能器”及“位移型消能器”。其中,“速度型消能器”仅需输入某种消能器相关的参数:有效刚度(kN/m)、有效阻尼系数(kN*s/m)两个参数。“位移型消能器”需要输入有效刚度(kN/m)、有效阻尼比、初始刚度(kN/m)、屈服后刚度比、屈服力(kN)五个参数。
图4-56位移型消能器的参数定义
与梁、柱、墙等构件的截面定义功能相似,消能器定义后,可以在左侧面板中进行修改、删除、显示、清理。点击“布置”按钮,可以根据类型布置在构件或结点上。
需要注意的是,梁式仅能布置在梁上,撑式仅能布置在撑上。墙板式需要指定两个结点位置,类型5~类型10也需要指定两个结点。
图4-57类型8消能器的布置效果
消能器的启用:此开关为全楼开关,如上图左侧面板中所示,默认为勾选状态。如果不勾选此选项,则当前模型中所有布置的消能器将会在图面中隐藏,且不参与后续计算。重新勾选此选项后,效能器会重新显示到图面中,并参与到后续计算。
在删除消能器时,提供了点选及框选两种选择模式,同时,支持在三维实体显示模式下的删除操作。
十二、 斜墙的建模
在“PMSAP核心的集成设计”入口的结构建模程序内,具有斜墙的建模、编辑功能,程序入口位置如下图所示。需要注意的是,使用目前版本程序进行斜墙建模后,只能使用PMSAP核心来进行计算分析。
图4-58斜墙的建模程序入口位置
进入建模程序后,“斜墙”建模命令位于“构件布置”菜单内,如下图所示。
图4-59 “斜墙”建模命令位置
点击“斜墙”命令,程序弹出“墙布置”参数面板,在中部位置额外多了几项斜墙的参数。其中,可以沿网格在墙底的起点、终点进行外扩;也可以沿偏轴方向进行倾斜,输入正值表示墙底往网格左(上)方向倾斜,负值表示墙底往网格右(下)方向倾斜,布置效果如下图所示。
布置完成后,可以在三维实体状态下,通过鼠标右键点击斜墙,在属性框中来修改斜墙的各项布置参数。
图4-60 “斜墙”布置参数
图4-61通过属性框修改斜墙属性
第四节 楼板生成
一、 普通楼板
楼板生成菜单位于程序构件布置à楼板菜单组下,包含了自动生成楼板、楼板错层设置、板厚设置、板洞设置、悬挑板布置、预制板布置功能。其中的生成楼板功能按本层信息中设置的板厚值自动生成各房间楼板,同时产生了由主梁和墙围成的各房间信息。本菜单其他功能除悬挑板外,都要按房间进行操作。操作时,鼠标移动到某一房间时,其楼板边缘将以亮黄色勾勒出来,方便确定操作对象。
图4-62楼板相关功能菜单
打开此菜单后,结构平面图形上会以灰色显示出楼板边缘,并在房间中部显示出楼板厚度。
图4-63楼板开洞示意
为了不影响楼层布置的效率,楼板边线和厚度仅在某些命令状态下才能显示。三维状态下则以半透明方式显示出楼板及其开洞,效果如上图所示。
1. 生成楼板
运行此命令可自动生成本标准层结构布置后的各房间楼板,板厚默认取【本层信息】菜单中设置的板厚值,也可通过“修改板厚”命令进行修改。生成楼板后,如果修改【本层信息】中的板厚,没有进行过手工调整的房间的板厚将自动按照新的板厚取值。
如果生成过楼板后改动了模型,此时再次执行生成楼板命令,程序可以识别出角点没有变化的楼板,并自动保留原有的板厚信息,对新的房间则按照【本层信息】菜单中设置的板厚取值。
布置预制板时,同样需要用到此功能生成的房间信息,因此要先运行一次生成楼板命令,再在生成好的楼板上进行布置。
2. 楼板错层
运行此命令后,每块楼板上标出其错层值,并弹出错层参数输入窗口,输入错层高度后,此时选中需要修改的楼板即可,效果如下图所示:
图4-64楼板错层值的输入
多次执行生成楼板命令,对于角点没有变化的房间楼板自动保留错层信息。
3. 修改板厚
【生成楼板】功能自动按【本层信息】中的板厚值设置板厚,可以通过此项命令进行修改。运行此命令后,每块楼板上标出其目前板厚,并弹出板厚的输入窗口,输入后在图形上选中需要修改的房间楼板即可。
多次执行生成楼板命令,对于角点没有变化的楼板自动保留板厚信息。
程序具体批量修改楼板厚度、楼面荷载的功能。如下图所示:在进入“修改板厚”对话框时,程序自动统计当前标准层中各楼板厚度的个数,形成列表供用户批量修改用。在列表中单击鼠标左键,可以直接使用当前行的楼板厚度值进行布置,省去了在文本框中输入数值的过程。并且,用鼠标左键双击每个楼板厚度数据,可以批量修改这一厚度的所有楼板。例如,将列表中“200”改为“180”,则这一标准层中所有厚度为200mm的18块楼板均会被修改为180mm,而不用在图面上逐一进行选择、修改。
图4-65 批量修改楼板厚度
二、 层间楼板
新版本程序中,增加了一种新的构件“层间楼板”,用来弥补旧版本对于在夹层上无法布置楼板的不足。在上部菜单“构件布置”中增加了层间楼板的布置、修改板厚、删除等功能。如下图所示,层间楼板布置时,可以指定板厚值、楼面恒载值、楼面活载值以及所处的标高值。在“荷载”布置菜单中也相应增加了层间楼板的恒、活载修改功能。在退出建模程序时,程序会自动将层间楼板上的荷载导算到支撑梁、墙上。
图4-66层间板布置参数
需要注意的是,层间板只能布置在支撑构件(梁、墙)上,并且要求这些构件已经形成了闭合区域。在指定标高时,必须与支撑构件所处同一标高。所以,在布置层间板前,请执行一下“生成楼板”命令。一个房间区域内,只能布置一块层间板。
在“层间板参数”设置对话框中,标高参数的默认值为“-1”,含义是让程序从层顶开始,向下查找第一块可以形成层间板的空间区域,自动布置上层间板。这个参数支持“-1”到“-3”,即可以最多向下查找三层。程序支持自动查找空间斜板。
此外,新版本程序还增加了一个“三维选构件作为板边界”选项,可以直接在三维实体状态下,选择可以作为层间板边界的梁,来布置层间板。选择时,可以一次框选多个房间的梁,程序会自动生成多个房间的层间板。
此外,如果指定的标高位置已经形成了默认楼板(下图中层顶透明的灰色楼板),也不能布置层间楼板。如果房间的边界包含了墙,并且出现楼层板自动生成在层间板的位置上的这种情况,需要在墙顶布置虚梁,程序会自动将板生成在层顶处,层间位置就可以布置层间楼板了。
图4-67层间楼板显示效果
提示:层间板和斜板共用一条边而不重合时,可以布置。
图4-68层间板和斜板共用一条边
布置好层间楼板后,请打开“楼板显示开关”(下部快捷工具条内),再使用“旋转显示”命令(下部快捷工具条内)来查看。为了与层顶楼板有所区别,层间楼板默认为透明的深红色,可以在“构件颜色设置”对话框中修改。
图4-69层间楼板颜色修改
三、 板洞布置
1. 板洞的布置
板洞的布置方式与一般构件类似,需要先进行洞口形状的定义,然后再将定义好的板洞布置到楼板上。
图4-70板洞形状定义对话框 图4-71板洞定义列表对话框
目前支持的洞口形状有矩形、圆形和自定义多边形。
洞口布置的要点如下:
① 洞口布置首先选择参照的房间,当鼠标光标落在参照房间内时,图形上将加粗标识出该房间布置洞口的基准点和基准边,将鼠标靠近围成房间的某个节点,则基准点将挪动到该点上。
② 矩形洞口插入点为左下角点,圆形洞口插入点为圆心,自定义多边形的插入点在画多边形后人工指定。
③ 洞口的沿轴偏心指洞口插入点距离基准点沿基准边方向的偏移值;偏轴偏心则指洞口插入点距离基准点沿基准边法线方向的偏移值;轴转角指洞口绕其插入点沿基准边正方向开始逆时针旋转的角度。如下图所示。
图4-72洞口的布置参数示意
2. 全房间洞
将指定房间全部设置为开洞。当某房间设置了全房间洞时,该房间楼板上布置的其他洞口将不再显示。全房间开洞时,相当于该房间无楼板,亦无楼面恒活。
【板厚设置为0】:若建模时不需在该房间布置楼板,却要保留该房间楼面恒活荷载时,可通过将该房间板厚设置为0解决。
3. 板洞删除
在“构件删除”对话框中勾选“楼板洞口”选项,删除所选的楼板开洞。
四、 布悬挑板
具体操作要点如下:
1. 悬挑板的布置方式与一般构件类似,需要先进行悬挑板形状的定义,然后再将定义好的悬挑板布置到楼面上。
2. 悬挑板的类型定义:程序支持输入矩形悬挑板和自定义多边形悬挑板。在悬挑板定义中,增加了悬挑板宽度参数,输入0时取布置的网格宽度。
3. 悬挑板的布置方向由程序自动确定,其布置网格线的一侧必须已经存在楼板,此时悬挑板挑出方向将自动定为网格的另一侧。
4. 悬挑板的定位距离:对于在定义中指定了宽度的悬挑板,可以在此输入相对于网格线两端的定位距离。
5. 悬挑板的顶部标高:可以指定悬挑板顶部相对于楼面的高差。
6. 一道网格只能布置一个悬挑板。
在“构件删除”对话框中勾选“悬挑板”选项,删除所选的悬挑板。
五、 楼板加腋
在“楼板|楼梯”菜单中具有楼板加腋的布置、删除功能,位置如下图所示。
图4-73板加腋命令位置
点击“板加腋”命令,弹出“板加腋参数设置”对话框,如下图所示。可以设置加腋长度、板边腋高、板内腋高等参数。在进行交互布置时,可以根据网格方向修改加腋位置,可以选择的方式有:在网格两侧都加、仅左侧(上侧)以及仅右侧(下侧)。在选择过程中,可以在光标点选、窗口选择等方式间切换。
布置了楼板加腋后,可以切换到三维显示,如下图显示效果。在建模程序退出时,会将加腋信息传递给计算模块,在进行计算分析时会考虑加腋的作用。
如果要修改已经布置的板加腋,可以直接按新参数布置在原有位置,程序会替换原有参数。也可以使用“删板加腋”命令进行删除后,再布置新的楼板加腋。
图4-74板加腋参数设置
六、 布预制板
布置要点如下:
需要先运行“生成楼板”命令,在房间上生成现浇板信息。
自动布板方式:输入预制板宽度(每间可有2种宽度)、板缝的最大宽度限制与最小宽度限制。由程序自动选择板的数量、板缝,并将剩余部分作成现浇带放在最右或最上。
图4-75预制板的自动布板方式
指定布板方式:由用户指定本房间中楼板的宽度和数量、板缝宽度、现浇带所在位置。注意,只能指定一块现浇带。
图4-76预制板的指定布板方式
每个房间中预制板可有2种宽度,在自动布板方式下程序以最小现浇带为目标对2种板的数量做优化选择。
预制板的方向:确定布置后鼠标光标停留的房间上会以高亮显示出预制板的宽度和布置方向,此时按键盘Tab键可以进行布置方向的切换,效果较为直观。
图4-77预制板方向的切换
删预制板:
删除指定房间内布置的预制板,并以之前的现浇板替换。
七、 楼盖定义
对于三维建模的钢结构,“组合楼盖”菜单组可以完成钢结构组合楼板的定义、压型钢板的布置,STS中“画结构平面图与钢材统计”可以进行组合楼板的计算和施工图绘制,以及统计全楼钢材(包括压型钢板)的用量。
功能和适用范围:
1. 各标准层可分别定义楼盖类型,压型钢板遇洞口切断方式等选项;
2. 各房间可按不同角度、种类布置压型钢板;
3. 压型钢板施工阶段验算,组合楼板使用阶段计算;
4. 绘制压型钢板平面布置图、构造图;
5. 自定义压型钢板截面数据库;
6. 程序暂不能处理带弧线的房间及栓钉、横向抗剪钢筋等设计。
操作方法:
组合楼盖菜单中包含的“楼盖定义”、“压板布置”、“压板删除”3项子菜单是用于组合楼盖的定义和交互布置。
图4-78组合楼盖布置效果图
楼盖定义可完成当前标准层组合楼板类型定义、施工阶段楼面荷载输入、洞口处压型钢板切断方式的选择、压型钢板的种类选择、次梁上压型钢板连续铺设定义及用户自定义截面数据库的编辑等(见下图)。在一个工程中至少需进行一次楼盖定义工作,每个标准层根据需要可以设置不同的参数。
如果用户修改了楼盖定义中的部分内容后,对于已布置压型钢板的房间,程序自动重新验算一遍。
图4-79组合楼盖定义
(1)组合楼板类型可分为组合型和非组合型,非组合型楼盖中压型钢板仅用作永久性模板,不考虑与混凝土共同工作,而组合型楼盖不但用作永久性模板,而且在正常使用阶段作为混凝土板的下部受拉钢筋与混凝土共同工作形成组合楼板。
两种类型的组合楼板各有特点,对于非组合型楼板,压型钢板可选用光面开口的板型,仅用于施工模板,可不涂防火涂料,使用阶段按普通混凝土楼板设计;而对于组合型楼板,压型钢板必须选用带纵向波槽、压痕的板型或增设横向抗剪钢筋,使其能与混凝土板共同作用,提高楼板的刚度,按照规范合理设计后,还可不设防火涂料层。
(2)施工阶段荷载用于布置压型钢板时进行同步的施工阶段验算。
(3)压型钢板布置遇洞口时可分为切断和不切断2种方式,对于全房间洞口可强制切断。
(4)当选择次梁上连续铺设压型钢板时,可有效减小压型钢板施工阶段的挠度和弯矩,但须保证实际施工与此相符,压型钢板最大板长用于确定房间内连续板的跨数;程序可自动处理房间内局部区域按其他方向布置等情况,而对主梁、墙支座处均按简支处理。
(5)压型钢板种类包含STS内置标准库和用户自定义库两部分,标准库选自行业标准《钢-混凝土组合楼板结构设计与施工规程》YB9238-92;用户亦可自定义压型钢板截面库(见下图)。
图4-80用户自定义压型钢板截面库
用户自定义压型钢板截面库文件名YXGBUSER.LIB,位于当前工程数据文件目录,用户可以新增、修改、删除各种自定义的压型钢板种类,该库文件可复制到其他工程所在的目录中重复利用。每种压型钢板的数据包括名称、生产厂商、几何尺寸、截面特性、钢材重量、钢材强度等,用户可根据压型钢板生产厂商提供的资料输入相应参数,其中压型钢板名称建议取“压型钢板型号-板厚”,以便于区分。
在输入压型钢板截面特性时需注意:全截面抵抗矩应为承受正弯矩的截面系数W,而有效截面抵抗矩建议取受压边或受拉边中较小的截面系数。
由于厂商提供的技术资料内容往往不全,为便于用户输入,程序提供二个工具,一个是钢板净重换算工具 (见下图),另一个是根据压型钢板几何尺寸推算截面特性工具。
在钢板净重换算工具中,输入有关数据后按回车键即可进行相互换算。当直接修改压型钢板净重时可选择联动钢板净厚和压型钢板展开宽度中的一项。
图4-81钢板净重换算工具
由于根据压型钢板几何尺寸推算截面特性存在少量误差,请尽可能选用厂商提供资料数据。
各房间的动态提示条中可显示压型钢板的编号、生产厂商和名称。为区别于标准库中的压型钢板,用户自定义的压型钢板编号从501开始。
八、 压板布置
在定义了楼盖类型等参数后即可进行压型钢板布置,按布置方式、布置方向及压型钢板种类三项内容进行布板。需注意的是对于已布置预制楼板的房间不能同时布置压型钢板。
1. 布置方式
布置方式分为3种:
(a)按房间布板,就是指由用户直接指定或以窗口方式选取需布置压型钢板的房间进行布置;
(b)在房间内的局部区域布板,指对于有次梁的房间,程序允许用户选择部分由次梁分割而成的区域按其他角度布置压型钢板,程序在用户选定一个房间后显亮各个区域由用户选择布置,该项操作须在已布置压型钢板的房间上进行;
(c)悬挑板上布板,由用户选择悬挑板挂靠的杆件,由程序自动判断其布板的合理性,再延伸布置与该悬挑板相连房间的压型钢板。
图4-82压型钢板的布置
2. 布置角度
压型钢板布置方向分为2种,(a)根据参考边方向平行布置,指用户在选择了需布置的房间或房间内局部区域后,再由用户指定某主梁或墙,压型钢板布置方向为与该杆件平行,需注意的是在房间内的局部区域布板时需选择已点亮的线段;(b)指定角度,程序也提供了按指定角度布置压型钢板的功能,角度范围0~180°。由于钢筋绘制按矩形板方向布置,因此建议用户按参考边布置压型钢板较为合理。
3. 压型钢板种类
压型钢板种类选择允许各房间的压型钢板不同,可移动光标至各房间上显示压型钢板编号。
4. 提示信息
根据楼盖定义中的施工荷载数据,当选择不同的压型钢板种类时,程序可按设定板厚(是指本层总信息中设定的板厚)计算出无支撑简支跨情况下的最大允许值。
5. 压板删除
可选定某房间或以窗口方式选择房间删除已布置的压型钢板。
6. 图形说明
对压型钢板的显示颜色进行说明。
在布置压型钢板的同时,程序根据用户设定的施工阶段荷载自动进行施工阶段验算,并根据验算结果按不同颜色显示压型钢板线。红色表示承载力不满足要求,黄色表示挠度不满足要求,蓝色表示均满足;当出现不满足要求的情况时,建议采取改变压型钢板布置方向、更换压型钢板种类、调整次梁位置或增设施工临时支撑等措施加以解决。
第五节 楼梯布置
《建筑抗震设计规范》(GB50011-2010)第3.6.6.1条规定“计算模型的建立、必要的简化计算与处理,应符合结构的实际工作状况,计算中应考虑楼梯构件的影响。”条文说明中指出“考虑到楼梯的梯板等具有斜撑的受力状态,对结构的整体刚度有较明显的影响。建议在结构计算中予以适当考虑。”
为了适应新的抗震规范要求,程序给出了计算中考虑楼梯影响的解决方案:在PMCAD的模型输入中输入楼梯,可在矩形房间输入二跑或平行的三跑、四跑楼梯等类型。程序可自动将楼梯转化成折梁或折板。
此后在接力SATWE时,无需更换目录,在计算参数中直接选择是否计算楼梯即可。SATWE“参数定义”中可选择是否考虑楼梯作用,如果考虑,可选择梁或板任一种方式或两种方式同时计算楼梯。
图4-83 SATWE“参数定义”中可选择是否考虑楼梯作用
楼梯布置在“楼板楼梯”菜单中如下图所示,各菜单功能如下:
图4-84 楼梯菜单内容
一、 楼梯布置
点击【楼梯布置】菜单,光标处于识取状态,程序要求用户选择楼梯所在的矩形房间,当光标移到某一房间时,该房间边界将加亮,提示当前所在房间,点击左键确认。
确认后,程序弹出楼梯定义对话框,如下图所示,对话框右上角为楼梯预览图,修改参数后,预览图与之联动。
图4-85 楼梯定义对话框
各参数含义如下:
选择楼梯类型:点击选择楼梯类型按钮,程序弹出楼梯布置类型对话框,供用户选择,目前程序共有12种楼梯类型可供用户选择:平行两跑楼梯、平行三跑楼梯、平行四跑楼梯、单跑直楼梯、双跑交叉楼梯、双跑剪刀楼梯带平台、双分平行楼梯1、双分平行楼梯2,双跑直楼梯、两跑转角楼梯、三跑转角楼梯、四跑转角楼梯。其中PKPMV31新增加了四种新的楼梯类型,分别为双跑直楼梯、两跑转角楼梯、三跑转角楼梯、四跑转角楼梯,楼梯类型选择界面中新增类型位置如下图所示。
图4-86 楼梯类型选择对话框
起始高度(mm):第一跑楼梯最下端相对本层底标高的相对高度。
踏步总数:输入楼梯的总踏步数。
踏步高、宽:定义踏步尺寸。
坡度:当修改踏步参数时,程序根据层高自动调整楼梯坡度,并显示计算结果。
起始节点号:用来修改楼梯布置方向,可根据预览图中显示的房间角点编号调整。
是否是顺时针:确定楼梯走向。
各梯段宽:设置梯板宽度。
平台宽度:设置平台宽度。
平板厚:设置平台板厚度。
梯梁尺寸:设置梯梁的宽高尺寸
梯柱尺寸:设置梯柱的宽高尺寸
混凝土号:设置梯梁、梯柱、梯板的混凝土号
各标准跑详细设计数据:设置各梯跑定义与布置参数。
点击【确定】按钮,完成楼梯定义,布置结果如下图所示。
图4-87 楼梯布置结果示意图
PMV31版楼梯的起始跑(第1跑)箭头线改为红色,方便在平面视角下直接找到楼梯的入口,如下图所示。
图4-88 楼梯入口示意图
图4-89 梁方式08-10版模拟楼梯示意图
PMV31版在08-10版的基础上做了部分改进:
1 休息平台板始终以单块整板方式模拟
2 每跑楼梯的宽扁梁可以选择以梁或板两种方式模拟
3 层顶和层底平台板根随选择的宽扁梁模拟方式,即与斜宽扁梁同样采用梁或板模拟。层顶和层底平台的产生条件为宽度大于500mm,即起始跑和终止跑边界距离房间对边的距离。
下图为某两跑楼梯在按板方式计算时的三维模拟效果:
图4-90两跑楼梯按板方式模拟示意图
各个类型楼梯的三维效果如下图所示:
平行两跑楼梯模型示意
平行三跑楼梯模型示意
平行四跑楼梯模型示意
单跑直楼梯模型示意
双跑交叉楼梯模型示意
双跑剪刀楼梯带平台模型示意
双分平行楼梯1模型示意
双分平行楼梯2模型示意
双跑直楼梯模型示意 两跑转角楼梯模型示意
三跑转角楼梯模型示意 四跑转角楼梯模型示意
图4-91各个类型楼梯的三维效果图
二、 楼梯修改
PMV31版可保留用户原先所布置楼梯的数据,方便在其基础上进一步修改。点选楼梯菜单中的“修改楼梯”即可进行已楼梯数据的修改,菜单位置如下图。
图4-92楼梯修改菜单
点击楼梯修改菜单,再按提示选择已布置楼梯的房间,可弹出如下对话框,内部的参数为先前编辑过的参数并提供进一步修改功能。
图4-93楼梯修改对话框
三、 楼梯删除
楼梯删除操作与其它构件删除操作是一样的。点击【楼梯删除】菜单,程序弹出构件删除对话框,如下图所示,其中楼梯选项是勾选的,选择与梯跑平行的房间边界,这时该梯跑将高亮显示,点击左键即可删除。
图4-94楼梯的删除
注意事项:
1. 布置楼梯时最好在本层信息中输入楼层组装时使用的真实高度,这样程序能自动计算出合理的踏步高度与数量,便于建模。楼梯计算所需要的数据(如梯梁、梯柱等的几何位置)是在楼层组装之后形成的。
2. 原模型楼梯间用户布置的楼面恒载数值,应不包含楼梯板、起始平台板、休息平台的自重。楼面活荷载数值按实际用途查《荷载规范》输入。
3. 原楼梯间布置的楼面恒载、活载,将自动按梁上均布线荷载导算到每一块梯板、起始平台板、休息平台上,由于支撑休息平台的层间梁为间接受力,故不再增加梁间荷载。
第六节 构件修改
对已布置好的构件可以进行截面替换、偏心对齐等操作,菜单位置如下图所示,
图4-95构件截面替换、偏心对齐等菜单位置
一、 单参修改
使用“单参修改”命令,可以批量进行构件的参数修改。下图是成批修改“层间梁”的例子。
图4-96批量修改为层间梁
二、 截面替换
截面替换替换就是把平面上某一类型截面的构件用另一类截面替换。选择完某类构件截面替换后,依次选择被替换截面和替换截面即可,模型中对应的构件也会随之更新。
在“构件布置”菜单中,如下图所示,包含了柱、梁、墙、门窗洞口、层内斜杆的替换命令,同时,提供了查看替换操作过程日志的功能。
图4-97构件截面替换菜单内容
本层已使用截面列表变色及当前选择项自动加亮显示:
点击“柱替换”命令后,程序将弹出“构件截面替换”对话框,在左侧的列表中选择原截面类型,例如,选择“矩形,参数:500*500”的截面数据,在图面上程序会自动加亮使用选中截面构件,如下图所示。需要说明的是,在列表中,以浅绿色加亮的行表示该截面在本标准层中有构件引用,单击该行这些构件会自动加亮。在右侧的列表中选择新截面类型,例如,选择“L形,参数:250*500”的截面数据,然后点击“替换”按钮,程序会自动将原矩形截面替换成新的L形截面,并刷新图面。
如果选择的原截面与新截面相同,点击“替换”按钮时,程序会给出提示,如下图所示。
图4-98原截面与新截面相同的提示
如果对截面替换操作进行了误操作,想恢复原来结果,可以点击“撤销并退出”按钮,程序将自动恢复进入“构件截面替换”对话框前模型的样子。
图4-99柱的截面替换对话框
支持从图面直接拾取被替换的原截面和替换的新截面:
在选择原截面、新截面时,可以从图面拾取,例如,点击“原截面”按钮,程序下方的信息栏提示“用光标选择目标([Tab]转换方式,[Esc]返回)”,使用鼠标左键在图面上拾取一个需要替换的柱,程序会将使用这个截面的所有柱截面同时高亮显示,同时,在“构件截面替换”对话框的左侧列表中,自动跳转到该截面并加亮显示。
支持多标准层同时替换:
在“构件截面替换”对话框右侧提供了标准层列表,选择需要进行相同替换操作的标准层,可仅对某个或某几个标准层进行操作。
在“构件截面替换”对话框的最下部,提供了构件类型切换列表,可以在不退出该对话框,就能进行梁、墙等其它构件的截面替换操作。
可查看以前替换记录:
可以连续进行多次截面替换,完成后,点击“保存并退出”按钮,程序将自动打开“截面替换记录”日志文件,其中,记录了进行各次截面替换操作的时间,原截面及新截面的形状、参数、材料、分组等信息,并给出了各标准层及全楼进行该次替换操作的构件个数。
可指定矩形或者多边形区域:
在进行构件截面替换时,可以指定一个区域(矩形或者多边形),替换操作只在这个区域内有效,这个区域对勾选的各个标准层都起作用。在这个区域内可以替换的构件,程序会自动加亮显示。
图4-100截面替换记录
三、 构件查改
查改就是用鼠标右键点取在平面上的某一已经布置的构件后即弹出对话框,可马上对该构件的截面尺寸和布置参数修改。对已输入在平面上的内容可随时用光标指点,梁、墙、洞口点在网格线上,柱点在节点上。自动弹出TIP条显示构件截面尺寸,偏心、长短、窗口大小、位置等数据。
图4-101动态TIP条显示构件信息
用鼠标右键点击构件(在二维、三维视图中均可),在弹出的“构件属性”对话框中可对布置信息进行修改。如图4-90所示,用鼠标左键单击截面参数的第一项,即“矩形梁截面宽度(mm):300”这一行,将弹出“截面参数”对话框,将“宽度300”改为“宽度350”,程序将自动进行判别,如果有相同截面,给出提示是否使用这个截面。如果没有,则在截面列表中增加一个截面,并将这个构件的截面修改为新增项。
图4-102在属性框中修改构件截面信息
四、 构件显示和布置查询
构件显示和截面查询的命令位置如下图所示。
图4-103构件显示和截面查询菜单位置
构件显示命令,可以统一的控制各类构件在图面上显示与否,点击该菜单后弹出的对话框界面如下图所示。
图4-104构件显示选项内容
而点击“布置查询”命令后,允许用户设置梁、次梁、柱、墙、斜杆、门窗各类构件的显示和数据显示。
图4-105梁、柱截面查询结果
提示:可以用下部工具条中的两个“调整文字大小”命令,来实时修改截面显示数据的文字大小。
其中数据显示控制是否显示该类截面的尺寸还是偏心标高数据,弹出对话框如下图所示。
图4-106柱截面尺寸、偏心标高显示设置
其中的构件显示开关控制一类构件是否在平面图上显示;“数据显示”开关控制是否在平面图上标出此类构件的截面尺寸和偏心标高等信息。
在显示了平面构件的截面和偏心数据后可用下拉菜单中的打印绘图命令输出这张图,便于数据的随时存档。
五、 绘墙线、绘梁线
绘梁线菜单的位置和对应的各个命令如下,绘墙线命令完全相同:
图4-107绘梁线菜单内容
这里可以把墙、梁的布置连同它上面的轴线一起输入,省去先输轴线再布置墙、梁的两步操作,简化为一步操作。
六、 偏心对齐
构件修改菜单中有偏心对齐菜单组,提供了梁、柱、墙相关的对齐操作,可用来调整使梁柱墙沿某个边界进行对齐操作,常用来处理建筑外轮廓的平齐问题。菜单如下:
图4-108偏心对齐菜单内容
根据布置的要求自动完成偏心计算与偏心布置,举例说明如下:
柱上下齐:
当上下层柱的尺寸不一样时,可按上层柱对下层柱某一边对齐(或中心对齐)的要求自动算出上层柱的偏心并按该偏心对柱的布置自动修正。此时如打开“层间编辑”菜单可使从上到下各标准层的某些柱都与第一层的某边对齐。
因此用户布置柱时可先省去偏心的输入,在各层布置完后再用本菜单修正各层柱偏心。
梁与柱齐:
可使梁与柱的某一边自动对齐,按轴线或窗口方式选择某一列梁时可使这些梁全部自动与柱对齐,这样在布置梁时不必输入偏心,省去人工计算偏心的过程。
可使用通用对齐或单独的命令,单独的命令按梁、柱、墙分类共有12项,分别是
柱上下齐,柱与柱齐,柱与墙齐,柱与梁齐,
梁上下齐,梁与梁齐,梁与柱齐,梁与墙齐,
墙上下齐,墙与墙齐,墙与柱齐,墙与梁齐。
七、 “拾取布置”与“截面刷”
在构件输入时,可以使用“拾取布置”与“截面刷”的功能,位置如下图所示。
图4-109“拾取布置”与“截面刷”菜单位置
“拾取布置”主要用来将选中构件的截面、偏心、标高、转角等参数来调整其它同类构件,可以在批量修改构件过程中,在左侧面板中调整参数布置,还可以在轴线网格上直接进行构件布置;而“截面刷”仅会调整其它构件的截面参数,不会修改其它构件属性,二者区别如下图所示。
图4-110使用“拾取布置”批量修改墙构件
图4-111使用“截面刷”功能批量修改梁截面
第七节 楼层管理
楼层管理包含删标准层、插标准层和层间编辑。其在整楼模型中的菜单位置如下:
图4-112楼层管理菜单位置
删标准层和插标准层是对标准层进行编辑的功能。
层间编辑是实际工程中较常使用和非常方便的同时对多层进行编辑的功能,其菜单可在“构件布置”、“构件修改”和“整楼模型”各个菜单中找到,其中各项功能如下:
一、 添加和切换标准层
完成一个标准层平面布置后,“加标准层”命令用于一个新的标准层的输入。新标准层应在旧标准层基础上输入,以保证上下节点网格的对应,为此应将旧标准层的全部或一部分拷成新的标准层,在此基础上修改。
在右上角的标准层列表中点击“添加新标准层”时,程序即认为增加一新的标准层。可以依据当前标准层,增加一个标准层,把已有的楼层内容全部或局部复制下来。
图4-113添加新标准层
复制标准层时,可将一层全部复制,也可只复制平面的某一或某几部分,当局部复制时,可按照直接、轴线、窗口、围栏4种方式选择复制的部分。复制标准层时,该层的轴线也被复制,可对轴线增删修改,再形成网点生成该层新的网格。
图4-114复制标准层
切换标准层可以点取下拉式工具条中的“第N标准层”进行,也可点“上层”和“下层”来直接切换到相邻的标准层。
二、 删标准层
删除所选标准层。
三、 复制标准层
该菜单可将某个标准层的全部或部分构件复制到指定的其他标准层中。
点层间复制菜单后程序提供一对话框,可对层间复制表进行增删操作,注意只选要复制的标准层,被复制构件的标准层不选。
四、 插标准层
在指定标准层后插入一标准层,其网点和构件布置可从指定标准层上选择复制。
五、 层间编辑
这是一个实际工程中使用频率较高的功能,该菜单可将操作在多个或全部标准层上同时进行,省去来回切换到不同标准层,再去执行同一菜单的麻烦。菜单位置如下图所示:
图4-115层间编辑菜单位置
例如,如需在第1~第11标准层上的同一位置加一根梁,则可先在层间编辑菜单定义编辑1~11层,则只需在一层布置梁后增加该梁的操作自动在第1~11层做出,不但操作大大简化,还可免除逐层操作造成的布置误差。类似操作还有画轴线,布置、删除构件,移动删除网点,修改偏心等。
点层间编辑菜单后程序提供一对话框,可对层间编辑表进行增删操作,全部删除的效果就是取消层间编辑操作。
图4-116层间编辑设置
层间编辑状态下,对每一个操作程序会出现右图所示对话框,用来控制对其他层的相同操作。如果取消层间编辑操作,点取第5个选项即可。
图4-117层间编辑选择内容
第八节 本层信息
本层信息是每个结构标准层必须做的操作,是输入和确认以下结构信息。菜单如下
图4-118本层信息菜单位置
图4-119本标准层信息
用户在新建一个工程时,梁、柱、墙钢筋级别默认设置为HRB400,梁、柱箍筋及墙分布筋级别默认设置为HPB300。
最后一项【本标准层层高】仅用来【定向观察】某一轴线立面时做立面高度的参考值,各层层高的数据应在【楼层组装】菜单中输入。
这里的板厚、混凝土强度等级等参数均为本标准层统一值,通过【修改板厚】和【材料】命令可以进行详细的修改。
注意:板厚不仅用于计算板配筋,而且可由于计算板自重。
还可以同时查看所有标准层的信息,点击“全楼信息”命令,如下图所示:
图4-120全楼各标准层信息
第九节 材料强度
材料强度初设值可在【本层信息】内设置,而对于与初设值强度等级不同的构件,则可用本菜单提供的【材料强度】命令进行赋值。
菜单位置及对话框如右图所示。
图4-113构件材料设置
该命令目前支持的内容包括修改墙、梁、柱、斜杆、楼板、悬挑板、圈梁的混凝土强度等级和修改柱、梁、斜杆的钢号。注意,如果构件定义中指定了材料是混凝土,则无法指定这个构件的钢号,反之亦然。对于型钢混凝土构件,二者都可指定。
另外,当在“构件材料设置”对话框的构件类型列表中选择了一类构件时,图形上将标出所有该类构件的材料强度,效果如下图。
图4-112柱混凝土强度显示
在PKPM的SATWE、TAT等模块中,将首先读取建模中定义的材料强度信息,但也可以重新指定材料强度。08/10版程序可让SATWE、TAT中定义的材料强度信息与PM建模相通,即在建模中也可以看到SATWE、TAT材料定义的结果。
第五章 荷载的输入与导算
建模程序PMCAD只有结构布置与荷载布置都相同的楼层才能成为同一结构标准层。
本章输入本标准层结构上的各类荷载,它包括:
① 楼面恒活荷载;
② 非楼面传来的梁间荷载、次梁荷载、墙间荷载、节点荷载及柱间荷载;
③ 人防荷载;
④ 吊车荷载。
点击屏幕顶部的【荷载布置】,弹出其所属的各子功能菜单,见图5-1。
图5-1荷载布置的各子功能菜单
第一节 楼面恒活设置
用于设置当前标准层的楼面恒、活荷载的统一值及全楼相关荷载处理的方式。
点击【恒活设置】,屏幕出楼面荷载定义的对话框,见图5-2。
图5-2楼面荷载定义的对话框
其中包含的设置内容有:
一、 自动计算现浇板自重
该控制项是全楼的,即非单独对当前标准层。选中该项后程序会根据楼层各房间楼板的厚度,折合成该房间的均布面荷载,并将其叠加到该房间的面恒载值中。若选中该项,则输入的楼面恒载值中不应该再包含楼板自重;反之,则必须包含楼板自重。
二、 异形房间导荷载采用有限元方法
已前版本的程序,在对异形房间(三角形、梯形、L形、T形、十字形、凹形、凸形等)进行房间荷载导算时,是按照每边的边长占整个房间周长的比值,按均布线荷载分配到每边的梁、墙上。
现在版本的程序在上述方法的基础,新增加了一种导荷方法,即“异形房间导荷载采用有限元方法”。计算原理是:程序会先按照有限元方法进行导算,然后再将每个大边上得到的三角形、梯形线荷载拆分,按位置分配到各个小梁、墙段上,荷载类型为不对称梯形,各边总值有所变化,但单个房间荷载总值不变。
需要注意的是:当单边长度小于300mm时,整个房间会自动按照旧版本边长法做均布导算。
现在版本的程序默认使用有限元方法进行导荷,如果用户希望使用老方法(均布化)来处理荷载,则取消“异形房间导荷载采用有限元方法”的选中状态即可。
两种导荷方法的荷载结果查看,见图5-3、5-4。
图5-3旧版本程序异形房间导荷载结果
图5-4新版本程序异形房间导荷载结果
注意事项:
由于导荷工作是在退出建模程序的过程中进行,所以,查看上述结果应在退出建模程序后,再次进入建模程序才行。
三、 矩形房间导荷打断设置
这项设置,主要用来处理矩形房间边被打断时,是否将大梁(墙)上的梯形荷载、三角形荷载分拆到小梁(墙)上。
1. 以前版本的程序中,如果矩形房间周边网格如果被打断,在进行房间荷载导算时,程序会自动按照每边的边长占整个房间周长的比值,将楼面荷载按均布线荷载分配到每边的梁、墙上。
2. 现在版本的程序在上述方法的基础,新增加了这种导荷方法。当用户选中该控制项时,程序会先按照矩形房间的塑性铰线方式进行导算,然后再将每个大边上得到的三角形、梯形线荷载拆分,按位置分配到各个小梁、墙段上,荷载类型为不对称梯形,各边总值不变。
图5-5将一段大梁上的梯形荷载拆分成两段小梁上的非对称梯形荷载
3. 现在版本程序的约定
新版本程序在新建模型时,默认使用新方法进行导荷。如果用户希望使用老方法(房间周边均布化)来处理荷载,只要取消该控制项的选中状态即可。另外,如果打开的是一个旧版模型,程序默认会采用旧版方法来进行房间导荷,除非用户勾选了该控制项,程序才会使用新方法进行导荷。
4. 两种导荷载方法的荷载结果查看
对于单个房间,可用鼠标右键点击周边的梁、墙,在属性对话框中来查看“面倒恒载”和“面导活载”的结果。如下图5-6所示,在一段小梁上,由于大梁被拆分,传导到这根梁上为一段非对称的梯形荷载,然后再按荷载类型为11的分布梯形标记为两个独立的荷载,其中一段为三角形,另一段为非满布的均布荷载。两段小梁上,共4段类型都为11的荷载,总值与原大梁上的荷载总值保持不变。
图5-6某段小梁上的两个非对称梯形荷载
5. 两种导荷载方法的内力结果查看
对于内力结果来说,由于旧版本程序导荷载时,采用了均布化处理,造成对一个对称的矩形房间来说,如果有一边梁被打断,仅承受竖向楼面荷载及自重,被打断的梁内力结果与左边未被打断的梁差异较大。见图5-7。
图5-7旧版本程序左右两段梁内力结果
而使用新版程序,由于采用的方法与构件真实受力情况较为接近,故计算所得的内力结果与左边未被打断的梁结果相近,且仅竖向力产生的整体内力结果也基本对称。见图5-8。
图5-8新版本程序左右两段梁内力结果
注:上述两图5-7、5-8中,弯矩内力图曲线方向不一致是因为新版程序采用新的符号系统之故,用户只要比较数值即可。
四、 标准层楼面恒、活荷载统一值
用于设置当前标准层各板块的楼面恒活荷载统一值。只要板块中设定的荷载值与该对话框中设定的统一值一致,那么,当该统一值改变时,相关板块也会随之改变。
注意:如在结构计算时考虑地下人防荷载时,此处必须输入活荷载,否则SATWE、PMSAP软件将不能进行人防地下室的计算。
五、 活荷载折减参数说明
以前版本在此处有设置“活荷载折减参数”的功能,现已取消。此类参数的设置已改在使用程序中各自处理,如SATWE的该项设置,在【参数定义】à【活荷信息】中。
第二节 各构件荷载输入
一、 荷载通用布置
一般情况下,在布置构件荷载信息时,会通过不同构件采用点取不同菜单命令来布置荷载。所以,当要变换构件时,就需要结束当前命令,再点击相应菜单才可实现。
而采用【通用布置】命令,则是在不切换菜单的情况下,通过改变对话框中荷载的使用主体,实现荷载的布置,如图5-9所示。
图5-9荷载通用布置内容
【管理定义】用于荷载的定义,会弹出构件荷载定义对话框,可以进行荷定义的增加、删除、修改等操作。
布置时,先选取是布哪种构件的何种荷载类型,再选取是哪类荷载值,之后,可捕捉相应的构件进行布置。
二、 显示控制
用于设置在之后的布置构件荷载时,荷载信息在屏幕上的表现形式。内容见图5-10。
图5-10图面荷载显示方式的定义
进入荷载菜单时,为了方便能看清常用荷载在层内的布局,默认同时显示多种荷载,梁、柱、墙、节点、次梁、墙洞荷载同时显示在图面上。同时,多种荷载显示的情况下,为了更方便的区分荷载的构件类型,在“丰富”显示状态时程序作了如下3个设定:
1 恒载线条颜色为白色,活载线条颜色为粉色。
2 当同一网格处上有多种构件荷载时,如墙托梁,层间梁,一道梁上布置多个荷载等,程序自动错开荷载进行显示。
3 荷载的字体颜色做了如下约定:
梁、次梁荷载字体为红色;
墙、墙洞荷载字体为绿色;
节点荷载字体为白色;
柱荷载字体为黄色;
下图为某工程在恒载工况下,同时显示梁、墙、柱、节点荷载效果。
图5-13多种荷载同时显示
1. 丰富方式
在此方式下,以梁荷载为例,其图面显示效果如图5-14、5-15所示。
图5-14 2D状态下梁荷载图 图5-15 3D状态下梁荷载图
2. 简单方式
在此方式下,以梁荷载为例,其图面显示效果如图5-16、5-17所示。
图5-16 2D状态下梁荷载图 图5-17 3D状态下梁荷载图
三、 板荷载
前提条件:使用此功能之前,必须要用【构件布置】中的【生成楼板】命令形成过一次房间和楼板信息。
该功能用于根据已生成的房间信息进行板面恒活荷载的局部修改。操作对象有两种:楼面板和层间板,与此相对应的操作命令见图5-18。
图5-18板荷载布置
1. 【楼面恒载】
点击“恒载栏”中的【板】à【楼面恒载】,则该标准层所有房间的恒载值将在图形上显示,同时弹出的“修改恒载”对话框。在对话框中,用户可以输入需要修改的恒载值,再在模型上选择需要修改的房间,即可实现对楼面荷载的修改。活载的修改方式也与此操作相同。
对于已经布置了楼面荷载的房间,可以勾选“按本层默认值设置”选项,后续使用“恒活设置命令”修改楼面恒载、活载默认值时,这些房间的荷载值可以自动更新。
此外,在修改楼面及层间板恒载、活载、人防荷载时,也提供了批量修改的功能。如下图为楼板恒载修改功能截图。
图5-19修改楼面荷载的对话框
2. 【层间板荷载】
当有层间楼板存在时,也可对层间楼板的板面荷载进行修改,操作方法与“楼面荷载”相同。
3. 【板上局部荷载】
菜单中包括楼板局部荷载的布置、显示、删除等功能。点击楼板恒载输入菜单中的“布置局部恒载”,点击“添加”按钮,将弹出“板上荷载类型选择”对话框(图5-20),可以选择的有板上线荷载、局部面荷载和点荷载三种类型(图5-21)。
图5-20局部荷载布置
图5-21局部荷载类型
其中,需要说明的是,在定义板上线荷时,程序给出了辅助计算工具(图5-22)。按照《荷载规范》附录A查询板上布置构件的容重(单位:KN/m3),程序默认按本标准层高度设置了构件高度(单位:m),如遇到一些未通高布置的隔墙构件,可以自行输入高度值,再输入构件的布置宽度(单位:m),程序可以自动计算出对应的线荷值q(单位:KN/m)。另外,还可以勾选上“图面上绘制板上线荷载宽度示意”,程序在绘制线荷载时会按精确的宽度绘制边界,便于校对与板周边构件的关系。
图5-22板上线荷载参数自动计算
在布置板上线荷载时,程序允许贯通布置,即使用鼠标在图面上拾取两点(也可在命令行输入“!X,Y”的绝对坐标系格式),程序会自动将整段线荷载打断,分别布置在每个房间板上。板上荷载支持二维、三维显示。
图5-23局部荷载布置效果
在布置板上点荷载、局部矩形面荷载时,程序是以房间为单位进行布置的。如下图所示,程序会加亮房间基点(图5-24中青色实心圆点),并给出房间局部坐标系的X轴方向(图中红色房间边界),在“板上荷载布置参数”对话框中输入沿轴偏心、偏轴偏心、转角等参数后,图面上会动态显示荷载位置,点击鼠标左键完成布置。
图5-24矩形局部荷载的布置
正常退出PMCAD程序时,程序会自动进行房间荷载的导算,对有板上局部荷载的房间使用有限元方法导荷载到周边的梁、墙上。切换到SATWE模块时,可以使用“荷载简图”命令来校对导荷结果。在弹出的“荷载类型”对话框中,选择查看“梁荷”、“墙荷”选项,程序会显示当前标准层的每个房间导出荷载的位置、形状、数值,供用户进行校对。
特别说明:针对以下这种远离局部荷载方向带突起的异形房间(图5-25),按有限元一般方法进行导荷载时,图中最远端的这根梁将会承担向上的拉力,而不符合梁导荷结果为压力的约定规则。为此,程序专门进行了修正,按照“房间荷载总值不变,各边导荷形状不变”的原则整体调整各受压力梁、墙荷载值,同时,使受拉力的梁、墙不再承担荷载(即清零处理)。例如,下图房间中,布置了一个矩形均布面荷载,宽度0.5m,长度0.5m,荷载值q=500kN/m2,荷载类型为活载,房间上不再布置楼面活载(即楼面活载为0)。进行房间荷载的导算后,切换到SATWE模块,使用“荷载简图”查看结果,5-26图中这根梁上导荷结果为0,其它梁受力形式为三角形、梯形,整个房间活荷载总值为125KN,与布置的矩形均布面荷载值相符。
图5-25异形房间内矩形局部荷载位置
图5-26异形房间导荷载结果
四、 梁间荷载
用于输入非楼面传来的作用在梁上的恒载或活载;由于梁间恒载和活载所有操作方法皆相同,所以,以下只以恒载为例做一说明。操作命令包括:【增加】、【修改】、【删除】、【显示】及【清理】。
从V4.2版本程序开始,在荷载输入时,增加了“梁墙同时布置”选项,如下图所示。勾选后进行荷载布置时,选中的梁墙构件都会布置上该类型荷载,如果在相同的网格位置即有墙也有梁,则程序只将荷载布置在墙上。
需要注意的是,这个选项默认是勾选上的,即梁墙荷载会同时输入。此外,梁墙荷载同时布置支持层间编辑,即可以同时在多个标准层的相同位置上布置梁墙荷载。
图5-27梁恒载布置的面板
注意:输入了梁(墙)荷载后,如果再作修改节点信息(删除节点、清理网点、形成网点、绘节点等)的操作,由于和相关节点相连的杆件的荷载将作等效替换(合并或拆分),所以此时应核对一下相关的荷载信息。
在此菜单下首先需要定义荷载信息,然后可将各类荷载布置到构件上。在每个杆件上可加载多个荷载类。如果删除了杆件,则杆件上的荷载也会自动删除掉。此外,荷载删除时,支持多选,可用鼠标左键进行框选,或者按住键盘上的“Shift”键,再用鼠标左键进行单击,都可以选择连续的多项荷载定义进行删除。
1. 【增加】
点击【增加】菜单后,屏幕上显示平面图的单线条状态,并弹出选择梁荷载类型的对话框,如下图所示。
图5-28梁荷载的信息对话框
一般情况下,在新建工程时,对话框中是空的,即没有梁荷载定义的内容,用户需要通过点取【增加】按钮,来添加梁荷载信息。如上图,在荷载输入截面,可输入分组组名,该名称可在荷载列表中点击“组名”列,进行自动排序。
为方便用户输入填充墙的折算线荷载值,程序在“梁荷载定义”对话框中增加了辅助计算功能,位置如上图所示。程序自动将楼层组装表的中各层高度统计出,增加到列表中供用户选择,同时,提供了一个“高扣减”参数,主要用来考虑填充墙高度时,扣除层项梁的厚度值。用户再输入填充墙容重及厚度值,点击“计算”按钮,程序会自动计算出线荷载,并将组名按上述各参数进行修改。在布置这类线荷载时,程序也会将组名标识在图上,方便识别对比。
在新建工程时,初始状态的荷载定义信息是没有的,需要用户一个一个添加,对此,为了简化用户输入荷载的操作,程序也允许用户在为以后所做工程建立一个常用的、统一的初始化的荷载定义信息,方法如下:
在PKPM的安装目录下的CFG子目录中,建立一个文本文件PM3W.INI,按照各种荷载的定义参数格式(见荷载定义对话框中给出的参数次序),建立初始化的荷载信息,例子如下:
上述小括号部分是注解,不要录入。程序允许的最多荷载类数为3000种。
【布置选择】:添加或替换
选择完某一类荷载信息后,单击列表中的类型或点击【布置】将它布置到杆件上,用户可使用“添加”和“替换”两种方式进行输入。
选择“添加”时,构件上原有的荷载不动,在其基础上增加新的荷载;
选择“替换”时,当前工况下的荷载被替换为新荷载。
【高亮类型】:
当勾选该选项时,本层布置当前选择荷载类型的荷载将以高亮方式显示,用户可以方便的看清该类型荷载在当前层的布置情况。
荷载布置时构件的选择方式包括光标选择、轴线选择、框选、围区选择、直线选择等五种方式。
对于一道网格上布置了标高不同的多道梁的情况(即有层间梁存在时),在单线图形上无法直观的区分,因此对该部位上的梁布置荷载时,程序会在屏幕界面的命令行部分将提示所选的梁顶标高,用户可根据需要选择不同标高的梁,找到需要的目标,即可完成布置。效果如下图5-29所示。
图5-29梁荷载的信息对话框
图5-30层间梁的荷载布置
2. 【修改】
修正当前选择荷载类型的定义数值。
3. 【删除】
删除选定类型的荷载,工程中已布置的该类型荷载将被自动删除。在荷载定义删除时,支持多选,可用鼠标左键在列表中进行框选,或者按住键盘上的“Shift”键,再用鼠标左键进行单击,都可以选择连续的多项荷载定义进行删除。
4. 【显示】
根据【显示控制】菜单中设定的方法,在平面图上高亮显示出当前类型梁恒载的布置情况。
5. 【清理】
自动清理荷载表中在整楼中未使用的类型。
五、 柱间荷载
用于输入柱间的恒荷载和活荷载信息,二者的操作是相同的,所以,只以恒载为例作一操作说明。
与梁间荷载的操作一样,它也包括:【增加】、【修改】、【显示】、【删除】及【清理】等命令,不同只是操作对象,由网格线变为有柱的网格点,故不再作阐述。
柱间荷载的定义信息与梁(墙)不公用,故操作间互不影响。由于作用在柱上的荷载有X向和Y向两种(如图5-31中所示),所以,在布置时需要选择作用力的方向。
柱荷载布置及【增加】界面见图5-31。
图5-31柱荷载类型
图5-32简单状态下柱荷载显示 图5-33丰富状态下柱荷载显示
六、 墙间荷载
用于布置作用于墙顶的荷载信息。由于墙间荷载的荷载定义、操作与梁间荷载相同。
七、 节点荷载
此项用来直接输入加在平面节点上的荷载,荷载作用点即平面上的节点,各方向弯矩的正向以右手螺旋法确定。
节点荷载操作命令与梁间荷载类同。操作的对象由网格线变为网格节点。
每类节点荷载需输入6个数值。节点荷载的布置和【增加界面】见图5-34。
| |
图5-34节点荷载的布置
八、 次梁荷载
操作与梁间荷载相同。
九、 墙洞荷载
用于布置作用于墙开洞上方段的荷载。
操作与梁间荷载相同。
墙洞荷载的类型只有均布荷载。见图5-35。其荷载定义与梁间荷载不共用,故操作互不影响。
图5-35墙洞荷载布置
十、 荷载删除
根据工况的不同,荷载的删除分为“恒载删除”和“活载删除”两个菜单,其各自菜单位置如图5-36所示。
图5-36荷载删除对话框
程序允许同时删除多种类型的荷载,当进入荷载删除功能时,此时仅显示勾选构件的荷载,退出荷载删除时,自动恢复原先的荷载显示。如下图所示。图5-37荷载删除对话框
选择构件时,程序提供了光标选择、轴线选择、框选、围区选择、直线选择等五种方式。
如果光标在光标单选状态下,如果选择的构件上有多个荷载时,将会弹出图5-37所示的界面:
图5-38荷载删除对话框
而当在其他选择方式下,如窗口选择,此时无论选中多少个荷载,将直接删除。
十一、 荷载替换
与截面替换功能类似,新版本程序增加了构件上荷载的成批替换功能。在“荷载布置”菜单中,如下图所示,包含了梁荷载、柱荷载、墙荷载、节点荷载、次梁荷载、墙洞荷载的替换命令,同样的,也提供了查看荷载替换操作过程日志的功能。
图5-39荷载替换菜单内容
点击“梁荷载替换”命令后,程序将弹出“构件荷载替换”对话框,在左侧的列表中选择原荷载类型,例如,选择“满布均布,参数:q=3kn/m”的荷载类型,在图面上程序会自动加亮使用选中类型的荷载,如下图所示。与截面替换功能相同,在列表中,以浅绿色加亮的行表示该荷载在本标准层中有构件使用,单击该行这些荷载会自动加亮。在右侧的列表中选择新荷载类型,例如,选择“左均布,参数:q=10kn/m,x=1.8m”的荷载数据,然后点击“替换”按钮,程序会自动将原荷载替换成新的左均布荷,并刷新图面。
额外需要注意的是,荷载替换区分工况(恒载、活载),每次仅对相同工况的荷载进行操作,这样做是由于图面每次仅显示一种工况,便于查看替换结果,以免图面混淆。
可以连续进行多次荷载替换,完成后,点击“保存并退出”按钮,程序将自动打开“荷载替换记录”日志文件,其中,记录了进行各次荷载替换操作的时间,原荷载及新荷载的工况、类型、参数、分组等信息,并给出了各标准层及全楼进行该次替换操作的荷载个数。
如果对荷载替换操作进行了误操作,想恢复原来结果,可以点击“撤销并退出”按钮,程序将自动恢复进入“构件荷载替换”对话框前荷载布置的样子。
图5-40 梁荷载替换对话框
图5-41 荷载替换记录
在选择原荷载、新荷载类型时,可以从图面拾取,例如,点击“原荷载”按钮,程序下方的信息栏提示“用光标选择目标([Tab]转换方式,[Esc]返回)”,使用鼠标左键在图面上拾取一个需要替换的梁荷载,程序会将所有这种荷载同时高亮显示,同时,在“荷载截面替换”对话框的左侧列表中,自动跳转到该荷载类型并加亮显示。
如果选择的荷载有多个时,程序会弹出对话框来进行选择,如下图所示。
图5-42 荷载选择
与截面替换功能类似,荷载替换功能也提供了“选择的原荷载类型与新荷载类型相同”信息提示。在对话框右侧提供了列表,来选择需要进行替换的标准层,可仅对某个或某几个标准层进行操作。在对话框的最下部,提供了构件类型切换列表,可以在不退出该对话框时,就能进行柱、墙等其它构件上的荷载替换操作。
十二、 荷载修改
图5-43荷载修改
分为恒载修改和活载修改两个菜单,其位置如上图所示。功能为修改已经布置到构件上的荷载,如果修改后的荷载值在荷载定义表中不存在,则此荷载会自动添加到标准荷载类型列表中。
十三、 荷载复制
复制同类构件上已布置的荷载,可恒、活一起复制。荷载复制界面如下图所示:
图5-44荷载复制
现在可以同时复制恒载和活载,当恒载和活载同时复制时,图面为避免杂乱,仅画出了恒荷载,但不会影响活载的复制。
十四、 人防荷载
当工程需要考虑人防荷载作用时,可以用此菜单命令设定。
1. 【人防设置】
用于为本标准层所有房间设置统一的人防等效荷载。界面如图5-44所示。当更改了“人防设计等级”时,顶板人防等效荷载自动给出该人防等级的等效荷载值。
2. 【人防修改】
使用该功能可以修改局部房间的人防荷载值。运行命令后在弹出的“修改人防”对话框中(见图5-45),输入人防荷载值并选取所需的房间即可。
图5-45人防设置对话框 图5-46修改人防对话框
注意:人防荷载只能在±0以下的楼层上输入,否则可能造成计算的错误。当在±0以上输入了人防荷载时,程序退出的模型缺陷检查环节将会给出警告。
十五、 “楼板活荷类型”的输入及刷新楼面荷载值
根据荷载规范GB50009-2012中的5.1.2要求,设计楼面梁、墙、柱及基础时,对不同的房屋类型和条件采用不同的活荷折减系数。PM在活荷布置菜单中增加了指定房屋类型功能,在后续计算中,将根据此处的指定,依据规范自动采用合理的活荷折减系数。
其菜单位置及布置界面如下:
图5-47 “楼板活荷类型”菜单位置
点击“楼板活荷类型”,则弹出类似梁、墙布置的左侧停靠界面,界面中按照规范表格列出了各种房屋类型,每一类房屋类型后都会对应一个属性值,如1(1)房屋对应的属性值为1-1,选定某种房屋类型后,点击“布置”,程序此时进入房间选择过程,选中的房间,即被布置上当前选择的房屋类型属性,并在房间中显示该简化名称。如下图所示。
如需删除掉某些房间的活荷载属性,点击“删除”按钮后选择相应的房间即可。
图5-48房间中显示“楼板活荷类型”简化名称
在“楼板活荷类型”的基础上,程序还提供了按规范指定的荷载标准值修改已布置楼板活荷类型房间的活载的功能。
如下图所示,某工程某层布置了如下的房间类型。
图5-49某工程布置的房间类型
选择“按标准值刷新荷载”命令,图面显示如下:
图5-50房间活载显示效果
活荷类型标准值与活荷相同的房间,同时显示活荷值和活荷类型。而与活荷值不同的房间,除显示上述两项外,还会以红色显示当前活荷类型对应的标准值大小,以提示当前活载值与活荷类型对应的标准值不同。如上图所示。
如果房间的活荷要采用活荷类型的标准值,仅需点击左侧停靠框中的“根据板的属性,用下表中的标准值替换自定义荷载值”按钮,此时弹出界面如下图,允许用户选择哪些标准层要根据房间类型的标准值修改房间活荷大小,选择完标准层后,点击确定,则所选标准层中房间活荷值将修改为其布置活荷类型对应的标准值。
图5-51选择标准层
修改后,各个房间的活荷值如下图所示:
图5-52刷新后各个房间的活荷值
第三节 “荷载补充”—其它工况荷载
图5-53 “荷载补充”菜单内容
为满足用户对除恒、活外的其他常见工况的处理需求,如上图所示,在“荷载布置”菜单旁增加了“荷载补充”菜单。
进入该菜单后,程序会自动生成四类常用工况:消防车、屋面活、屋面雪、屋面灰,并自动添加到工况列表中,点击“其他工况列表”,弹出已有工况列表,如下图所示。其中,被选中的绿色加亮行为当前工况,同时在界面的左上角也会有当前工况的名称,以便用户在布置荷载时明确所布置的荷载在哪一工况上。
切换工况:有两种办法,既可以在下图界面中选择想要的工况,点击“确定”后,被选中的工况即被设为当前工况,也可点击菜单栏中的“上一工况”,“下一工况”改变当前工况。改变当前工况后界面左上角的工况名称也随之改变。
图5-54 工况列表对话框
荷载布置与编辑:各类构件上荷载布置、荷载布置、删除等编辑操作与恒、活荷载中的操作相同。仅需注意的是,“层间拷贝”菜单将会根据用户勾选的构件类型,自动复制荷载补充中四个工况的所有荷载。
同时为了与恒、活区分,荷载补充中各工况布置的荷载线条颜色均以绿色显示,如下图所示。
图5-55荷载补充的荷载线条颜色
在退出PM时,程序会自动检查荷载补充中的四个工况是否布置了荷载,如果某一工况布置了荷载,将会参加到后续计算组合中,如果某一工况没有布置任何荷载,则其也不会参与后续导荷及计算组合。
平面导荷和竖向导荷:类似恒活荷,程序自动进行标准层平面导荷,同时进行竖向导荷。
第四节 吊车荷载
对于采用三维建模的工业建筑,软件允许布置吊车信息,并可以在计算分析程序中完成相应的计算。
Ø 在用户布置完吊车信息后,软件自动生成吊车荷载,准确考虑了边跨、抽柱、柱距不等这些情况;
Ø 在SATWE计算中,读取三维建模程序生成的吊车荷载,实现数据共享,对于是否抽柱吊车荷载都可以计算。
下面说明具体操作方法:
首先,选择要布置吊车的标准层,进入“荷载布置”菜单,点取【吊车荷载】命令,出现如下图所示界面。
图5-56吊车荷载菜单内容
操作流程是输入工程中用到的吊车资料,定义吊车工作区域的参数,然后选择吊车工作区域进行吊车布置,对于布置结果可以进行修改、删除、显示查看。
布置完成后,软件根据平面网格数据和吊车布置数据,自动计算用于结构计算的吊车荷载。选择荷载显示,可以立即查看软件生成的吊车荷载。
各菜单功能介绍如下:
一、 【吊车布置】
点击【吊车布置】菜单,显示下图所示“吊车资料输入”对话框,定义吊车工作区域的参数。
在下图数据中,吊车资料和折减系数,对所有楼层都共用的;因此,吊车资料和折减系数的修改,会影响到所有楼层的计算。吊车工作区域参数,只对当前楼层要布置的区域有效。
1、吊车资料。
根据设计资料提供的吊车参数,输入吊车跨度、起重量、轮压、轮距等资料。输入的吊车资料显示在吊车资料序号列表中,吊车布置时,直接选择已经定义吊车的序号即可。
图5-57吊车资料输入
吊车资料的输入,可以在上图所示对话框中,选择增加或者修改,出现如下图所示“吊车数据输入”对话框,输入相关参数即可。
图5-58吊车数据输入
也可以选择导入吊车库,出现下图所示对话框,从软件提供的吊车资料库中进行选择。
图5-59吊车数据库选择吊车数据
2、多台吊车组合时的吊车荷载折减系数
根据荷载规范规定输入,结构内力分析和荷载组合时,要使用这两个系数。
3、吊车工作区域参数
进行吊车布置时,要用光标选择两根网格线,这两根网格线确定了吊车工作的轨迹和范围。与第一根、第二根网格线的偏心,是指吊车轨道中心与相应网格线的距离(绝对值)。
4、吊车工作区域
定义完参数后,选择确定,用光标选择吊车工作区域进行布置。
软件提示:用鼠标选择第一根网格线起始点、终止点(如下图①、②节点);选择第二根网格线起始点、终止点(如下图中③、④节点);用于确定吊车工作的轨迹和范围。
图5-60吊车区域定义
选择吊车工作区域的要求和特点:
(1)所选网格线所在直线和吊车梁是平行的。
(2)所选网格线的起始点、终止点必须是有柱节点,一般吊车运行的边界也是有柱的。
(3)所选网格线的4个端点,必须围成一个矩形,否则软件会提示为无效区域(如下图所示)。
图5-61选择区域网线错误的提示
(4)选择网格线的顺序,选择端点的顺序,软件没有规定,可以任意选择,软件自动排序,对计算结果没有影响。
(5)当修改了平面布置后(例如删除了工作区域内的柱或者修改柱截面等操作),如果吊车工作区域的4个端点仍然布置了柱而且坐标不变,该区域的吊车布置仍然保留,不需要重新布置。否则,软件会自动删除该布置区域。
二、 【移动荷载】
选择“荷载布置”命令,在弹出的对话框中输入单轨吊车(移动荷载)荷载值(单位:KN)。
图5-62单轨移动荷载值输入
在布置过程中,有按“直线选择”和“逐点选择”两种结点选择方式,布置效果如下图所示。
图5-63单轨移动荷载值输入
三、 【查询修改】
选择查询修改菜单,可以选择已经布置的吊车工作区域内任意一点,软件出现该区域的吊车布置参数,可以对这些参数进行查询和修改。
四、 【荷载显示】
点取【荷载显示】,可以显示当前标准层布置的吊车所产生的吊车荷载,也是结构软件计算时采用的吊车荷载。在SATWE软件中将自动读取建模程序中的各标准层吊车布置数据和吊车荷载数据,进行内力分析和荷载组合。如下图所示。
图5-64显示的吊车产生的荷载信息
软件自动根据平面网格和吊车布置数据,搜索各柱间梁的跨度,按照简支梁影响线计算作用在各轴线上的吊车荷载,准确考虑了边跨、抽柱跨、柱距不等这些情况。图5-59中轴线①、③的吊车荷载为一般吊车荷载,轴线②、④的吊车荷载为抽柱吊车荷载。
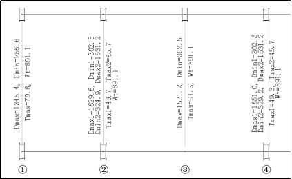
以轴线①、②作用的吊车荷载为例,图示数字含义如下表:
表5-1轴线①作用的吊车荷载含义(一般吊车荷载)
吊车工况 | 对轴线②下柱作用 | 对轴线②上柱作用 |
(1)最大轮压作用在 下柱所在网格线时 | 最大轮压作用为 Dmax=1345.4kN | 最小轮压作用为 Dmin=256.6kN |
(2)最大轮压作用在 上柱所在网格线时 | 最小轮压作用为 Dmin=256.6kN | 最大轮压作用为 Dmax2=1345.4kN |
(3)横向刹车时 | 横向水平荷载为(单侧) Tmax1=79.8/2=39.9kN | 横向水平荷载为(单侧) Tmax2=79.8/2=39.9kN |
(4)纵向刹车时 | 软件自动按照吊车刹车轮数乘以最大轮压的10%作用 (图中没有显示) | |
吊车工况 | 对轴线②下柱作用 | 对轴线②上柱作用 |
(1)最大轮压作用在 下柱所在网格线时 | 最大轮压作用为 Dmax1=1629.6N | 最小轮压作用为 Dmin1=302.5kN |
(2)最大轮压作用在 上柱所在网格线时 | 最小轮压作用为 Dmin2=324.9kN | 最大轮压作用为 Dmax2=1531.2kN |
(3)横向刹车时 | 横向水平荷载为(单侧) Tmax1=48.7kN | 横向水平荷载为(单侧) Tmax2=45.7kN |
(4)纵向刹车时
| 软件自动按照吊车刹车轮数乘以最大轮压的10%作用 (图中没有显示) | |
五、 【吊车显示】
点取【吊车显示】,可以显示当前标准层布置的吊车工作区域数据。
下图显示了各区域布置的吊车起重量,吊车跨度等信息。
图5-65吊车信息显示
六、 【选择删除】
选择删除菜单,可以选择已经布置的吊车工作区域内任意一点,删除该区域。
七、 【全部删除】
全部删除菜单,可以选择是删除当前标准层的已经布置的吊车工作区域,还是删除整个结构所有标准层布置的吊车工作区域。全部删除后,数据不能恢复。提示对话框如下图所示。
图5-66吊车荷载的全部删除
第五节 层间复制
可以将其他标准层上曾经输入的构件或节点上的荷载拷贝到当前标准层,包括梁、墙、柱、次梁、节点及楼板荷载,如下图所示。当两标准层之间某构件在平面上的位置完全一致时,就会进行荷载的复制。
图5-67荷载的层间复制
第六节 导荷方式
本功能用于修改程序自动设定的楼面荷载传导方向。
运行导荷方式命令后,程序弹出如下图所示对话框,选择其中一种导荷方式,即可向目标房间进行布置。其中:
(1) 对边传导方式:只将荷载向房间两对边传导,在矩形房间上铺预制板时,程序按板的布置方向自动取用这种荷载传导方式。使用这种方式时,需指定房间某边为受力边。
(2) 梯形三角形方式:对现浇混凝土楼板且房间为矩形的情况下程序采用这种方式。
(3) 沿周边布置方式:将房间内的总荷载沿房间周长等分成均布荷载布置,对于非矩形房间程序选用这种传到方式。使用这种方式时,可以指定房间的某些边为不受力边。
图5-68修改板的导荷方式
对于全房间开洞的情况,程序自动将其面荷载值设置为0。
第七节 调屈服线
楼板荷载导荷到周边构件上,是根据楼板的屈服线来分配荷载的。程序缺省的屈服线角度为45度,在一般情况下无需作调整。
由于通过调整屈服线角度,可实现房间两边、三边受力等状态。所以,对于需要按梯形、三角形方式导算的房间,就可点取该命令项来实现。
选取房间后,在对话框中调整角度即可。见下图。
图5-69调整屈服线角度的对话框
第八节 荷载导算及技术条件
荷载自动的导算功能在本建模程序存盘退出时执行。若退出时选择存盘退出,则会弹出如下图所示对话框。选中了后两项“楼面荷载倒算”和“竖向导荷”,则程序会完成相对应的荷载导算功能。其中“楼面荷载倒算”将楼面恒活导算至周围的梁、墙等构件上;“竖向导荷”则将从上至下的各层恒载、活载(包括结构自重)作传导计算,生成基础各模块可接口的PM恒活荷载。
此导荷结果也被砌体结构设计程序使用,因此砌体结构设计的后续菜单执行前必须先执行此步导算操作。
图5-70退出建模时的对话框
一、 楼面荷载导算
楼面荷载导算原则:
1. 输入的荷载应为荷载标准值,输入的楼面恒荷载应根据建模时“自动计算楼板自重”选项决定现浇楼板自重是否考虑到楼面恒荷载中;对预制楼板的自重,应加入到楼面恒荷载中。
2. 楼面荷载统计荷载面积时,考虑了梁墙偏心及弧梁墙时弧中所含弓形的面积。
楼面均布荷载传导路线如下:
1. 现浇矩形板时,按梯形或三角形规律导到次梁或框架梁、墙;可通过“调屈服线”菜单,人工控制梯形或三角形的形状,程序缺省屈服线角度为45度。
2. 预制楼板时按板的铺设方向。
3. 有次梁时,荷载先传至次梁,从次梁再传给主梁或墙。
4. 房间非矩形时或房间矩形但某一边由多于一根的梁、墙组成时,近似按房间周边各杆件长度比例分配楼板荷载。
5. 可使用“导荷方式”功能人为控制楼面荷载传导的方向。
6. 房间内有二级次梁或交叉次梁时,程序先将楼板上荷载自动导算到次梁上,再把每一房间的次梁当作一个交叉梁系作超静定分析求出次梁的支座反力,并将其加到承重的主梁或墙上。
7. 计算完各房间次梁,再把每层主梁当作一个以柱和墙为竖向约束支承的大的交叉梁系计算,计算时柱与墙处无位移,但在每个无柱节点处有三个位移,通过这种计算可保证在无柱节点处梁与梁之间荷载传递正确,比如形成PK文件时纵向传到该框架的节点力,交叉梁(作主梁输入)之间的集中力等。
经过以上两步交叉梁系计算后,从原则上说,一根梁作为主梁输入和作为次梁输入这两种方式对该梁本身和结构整体的计算结果都是一样的。
二、 竖向导荷
各层恒活荷载、包括结构自重,还可逐层顺承重结构传下,形成作用于底层柱、墙根部的荷载,可作为基础设计用,该荷载在程序中称为“平面恒活”,因荷载在各层上的竖向剪力是计算求出的,但往下传时,未作柱墙与梁间的有限元分析,因此该荷载仅为竖向轴力,无柱底墙底的剪力弯矩。
求PM恒活往下传导时,柱的上下层荷载传递是简单方便、一一对应的,在墙处,如果上下层墙体的节点是一一对应的,则上层荷载也可一一对应直接传给下层,但是,如果墙布置时上下层节点并不一一对应,或墙的下层是与柱连接支撑时,情况要复杂得多,程序将想方设法把当前层的墙上荷载往下传,大致原则是:
1. 根据上层墙找出包含在其左右节点中的所有其它节点。
2. 找出这些节点所包含或相连的下层墙或柱,我们称为支撑点。
3. 当支撑点数≥2时,将上层墙荷载化为均布载,再根据下面节点的距离比例分配给下层各杆件。
4. 当支撑点数≤1时,将把上层墙当作一个像梁那样的传力构件,同本层其它梁一起用整层交叉梁系计算的方法将荷载传至其它柱或墙,再传给下层。
5. 当支撑点数为0,即墙悬空时,要求用户必须在墙下层的相应位置布置一根梁,否则该墙荷载将传不下去。
程序可计算柱、梁、墙自重并写入荷载数据库,但在形成PK数据文件的荷载中没有包括柱梁自重,程序指示PK程序自己去算柱梁自重。
第六章 广义层及楼层组装
楼层组装是将已输入完毕的各标准层指定次序搭建为建筑整体模型的过程。
在楼层组装时引入“广义层”的概念,是PKPM2008版结构设计程序相对于原先所有版本的一个重要改进。PKPM2010版继续沿用此概念,并加强了稳定性和实用性。在原先的PM建模中,楼层组装时已经将楼层的上下顺序固定了下来,意即楼层组装时必须按从低到高的顺序进行串联的组装。这种组装方式是PM一贯以来的特色,很易于理解和应用,也在广泛的应用中证实了其实用性和易用性。但是随着建筑形式日趋复杂,在PKPM的使用过程中时常发现对于诸如不对称的多塔结构、连体结构、或者楼层概念不是很明确的体育场馆、工业厂房等建筑形式,程序的处理方式并不理想。引入广义层概念,就是为了改进原先的楼层组装方式,从而使PMCAD建模程序能够更好的适应各种建筑形式。
第一节 广义层
广义层方式的实现,是通过在楼层组装时为每一个楼层增加一个“层底标高”参数来完成的,这个标高是一个绝对值,对于一个工程来说所有楼层的底标高只能有一个唯一的参照(比如±0)。有了这个底标高以后,本模型中每个楼层在空间上的位置已经完全确定,程序将不再需要依赖楼层组装的顺序去判断楼层的高低,而改为通过楼层的绝对位置进行模型的整体组装。
进一步说,每个层可能不再仅仅和唯一的上层或唯一的下层相连,而可能上接多层或者下接多层。甚至通过设置柱、墙、斜梁、斜杆等构件的上延或下延,也可以使层与层之间相接。楼层的组装得到了程度较高的自由化,即称为广义层。
广义层概念有两种应用方式:
一、 使用层底标高控制楼层的组装
该方式较适用于多塔、连体结构的建模。每个塔上的楼层可以建立独立的一系列标准层,在楼层组装时输入每层的高度和底标高即可。下图模型仅由3个标准层构成。其组装效果如图所示(图中括弧内的数字为各层组装的顺序号,也是在广义楼层方式下各楼层的层号):
图6-1广义楼层组装顺序及与标准层关系
该模型的楼层表如图:
图6-2广义楼层组装表
上两图中可以看到,使用广义层的方式,通过为第2、3标准层对应的各楼层指定底标高,很简单的实现了两个层高不同的塔落在底盘上的情况,但使用时应注意尽量保持层底标高数值的准确性。
用三维方式观察该模型的组装情况如下:
图6-3广义楼层的组装过程
整楼模型效果如下:
图6-4广义楼层整楼模型三维显示
二、 通过修改构件标高使不同层间发生关联关系
柱、墙、梁布置时都可以设置构件的标高信息(如下图),结合节点抬高功能,可以很自由的控制构件的倾斜、上延和下延。如果在构件布置后修改,可通过“单参修改”工具或构件右键属性进行控制。
对于柱、墙被上延或下延与其他层构件相交,斜梁与下层柱相交这些情况,程序可以直接识别出两层构件之间的关联关系,从而获得相关楼层之间的关系,不再限于本层构件只能和紧邻的上、下层相交。对于一些特殊情况,使用该功能可以使建模过程更为自然和直观。
图6-5通过修改构件标高使不同层间发生关联关系
例如该框排架厂房模型:
图6-6某框排架厂房模型三维显示
其实际的楼层布置如下图所示:
图6-7某框排架厂房模型楼层组装示意图
此处可见,通过建模中在第1层两边的排架柱设置节点抬高,在第5层两边的柱设置柱底标高,从而时两层柱在空间上建立了相连关系。此时,第1层有的柱(中间两根)和第2层柱相连接,有的柱(两边两根)和第5层柱相连接,因此,08/10版的柱、墙、梁杆件不再限于仅和相邻的楼层相接。同时,可以看到引入了广义层后,建立此模型不用再将长柱分层打断,简化了建模步骤,也使得模型更为简洁。
类似地,建模中某层斜梁需要与下层柱相连时,也可以直接通过构件端部标高相接的方式建模。对于坡屋顶和体育场看台斜梁模型,都可以使用该方式建立,如图所示看台模型:
图6-8某看台模型三维显示
其实际楼层布置如下图所示。可见3层的斜梁直接与2层梁相接,2层斜梁直接与1层柱相接(1层的柱顶设置了抬高)。不用再在两层间设置短柱相连。
图6-9某看台模型楼层组装示意图
在使用广义层方式建模时,有以下几处需要注意:
(1) 08/10版中对于广义楼层之间的连接关系,只识别上下关系。对于本来楼层在同一平面上相接,用户却把它当作不同的标准层来输入时,程序不能将这两层判断为相接在一起的楼层。
(2) 广义层下的楼层组装顺序,仍应遵循从下而上的原则,跳跃只限于在每塔组装完成后到组装另一塔之间,或塔和连体组装之间,以方便后续各模块分析时的各种参数的统计和计算结果的查阅。
(3) 当斜坡梁下端需与下层梁或墙相连时,其下层梁或墙的连接处必须有节点,如果没有相应的连接节点,需要人工在下层梁或墙中间增加节点,以保证其与上层梁的连接。
(4) 当两横向斜坡梁下端与下层的纵向梁或墙垂直相连,并且需要形成斜的房间、即斜板房间时,应在上层斜坡梁的下端部同时输入可能与下层梁重叠的封口梁,封口梁的截面应与下层纵向梁相同。如果下层纵向是墙,则封口梁可按100*100的虚梁输入。主要原因是需要用封口梁形成斜房间,从而将斜房间的荷载向周边传递。
第二节 楼层组装
楼层组装,主要完成为每个输入完成的标准层指定层高、层底标高后布置到建筑整体的某一部位,从而搭建出完整建筑模型的功能。界面如下图所示:
图6-10楼层组装对话框功能
各功能详细含义如下:
(1) 复制层数:需要增加的连续的楼层数。
(2) 标准层:需要增加的楼层对应的标准层。
(3) 层高:需加楼层的层高。
(4) 层名:需加楼层的层名以便在后续计算程序生成的计算书等结果文件中标识出某个楼层。比如地下室各层,广义楼层方式时的实际楼层号等。
(5) 自动计算底标高:选中此项时,新增加的楼层会根据其上一层(此处所说的上一层,指“组装结果”列表中鼠标选中的那一层,可在使用过程中选取不同的楼层作为新加楼层的基准层)的标高加上一层层高获得一个默认的底标高数值。
(6) 层底标高设置:指定或修改层底标高时使用。
(7) 增加按钮:根据1)~6)号参数在组装结果框楼层列表13)后面添加若干楼层。
(8) 修改按钮:根据当前对话框内设置的“标准层”、“层高”、“层名”、“层底标高”修改当前在组装结果框楼层列表13)中选中呈高亮状态的楼层。
(9) 插入按钮:根据1)~6)号参数设置在组装结果框楼层列表13)中选中的楼层前插入指定数量的楼层。
(10) 删除按钮:删除当前选中的标准层。
(11) 全删按钮:清空当前布置的所有楼层。
(12) 查看标准层按钮:显示组装结果框选择的标准层,按鼠标或键盘任意键返回楼层组装界面。
(13) 组装结果楼层列表:显示全楼楼层的组装状态。
(14) 生成与基础相连的墙柱支座信息:勾选此项,确定退出对话框时程序会自动进行相应处理。
第三节 节点下传
上下楼层之间的节点和轴网的对齐,是PMCAD中上下楼层构件之间对齐和正确连接的基础,大部分情况下如果上下层构件的定位节点、轴线不对齐,则在后续的其他程序中往往会视为没有正确连接,从而无法正确处理。因此针对上层构件的定位节点在下层没有对齐节点的情况,软件提供了节点下传功能,可根据上层节点的位置在下层生成一个对齐节点,并打断下层的梁、墙构件,使上下层构件可以正确连接。
图6-11选择节点下传方式
节点下传有自动下传和交互选择下传两种方式,一般情况下自动下传可以解决大部分问题,包括:梁托柱、梁托墙、梁托斜杆、墙托柱、墙托斜杆、斜杆上接梁的情况。自动下传功能有两处可执行,一处是“轴线网点à网点编辑à节点下传”弹出的对话框中点击“自动下传”按钮,软件将当前标准层相关节点下传至下方的标准层上;另一处是在软件退出的提示对话框中勾选“生成梁托柱、墙托柱节点”则程序会自动对所有楼层执行节点的自动下传。
对于部分情况,软件自动下传情况没有处理,需要用户使用“选择下传”功能,交互选取需要下传的节点,包括下列情况:
(1) 本层梁、墙超出层高,上层的柱、支撑、墙等构件抬高了底标高,此类情况由于上层构件底部不在本层构件范围内,所以其底部节点未传递至本层,需要手工增加。
图6-12本层梁、墙超出层高的情况
(2) 上下两墙平面位置交叉,但端点都不在彼此的网格线上,则上下两墙网格线的平面交点上应手工设置节点下传。如下图所示。该情况下还需注意,需要先在上层两墙交点位置手工增加节点,方可指定该节点下传打断下层墙体。
图6-13上下两墙平面位置交叉的情况
(3) 上层墙与下层梁平面位置交叉,但端点都不在彼此网格线上,则上墙与下梁网格线的平面交点位置应手工设置节点下传。方法与第(2)点中所述相同。
第四节 支座设置
设置支座功能主要用于为JCCAD基础设计程序准备网点、构件以及荷载等信息。支座的设置有自动设置和手工设置两种方式:
一、 自动设置
进行楼层组装时,若选取了楼层组装对话框左下角的“生成与基础相连的墙柱支座信息”,并按确定键退出对话框,则程序自动将所有标准层上同时符合以下两条件的节点设置为支座:
1. 在该标准层组装时对应的最低楼层上,该节点上相连的柱或墙底标高(绝对标高)低于“与基础相连构件的最大底标高”(该参数位于设计参数对话框à总信息内,相应地,去掉了原先同一位置的“与基础相连最大楼层号”参数);
2. 在整楼模型中,该节点上所连的柱墙下方均无其他构件。
二、 手工设置
对于自动设置不正确的情况,可以利用“设置支座”和“取消支座”功能,进行加工修改,命令菜单位置如下图所示。
图6-14支座设置菜单位置
需要注意的是:
1. 清理网点功能对于同一片墙被无用节点打断的情况,即使此节点被设置为支座,也同样会被程序清理,从而使墙体合为一片;
2. 对于一个标准层布置了多个自然楼层的情况,支座信息仅层底标高最低的楼层有效。
第五节 工程拼装
使用工程拼装功能,可以将已经输入完成的一个或几个工程拼装到一起,这种方式对于简化模型输入操作、大型工程的多人协同建模都很有意义。
工程拼装功能可以实现模型数据的完整拼装。包括结构布置、楼板布置、各类荷载、材料强度以及在SATWE、TAT、PMSAP中定义的特殊构件在内的完整模型数据。
工程拼装目前支持3种方式,选择拼装方式后,根据提示指定拼装工程插入本工程的位置即可完成拼装。
3种拼装方式的拼装原则如下:
图6-15工程拼装的3种方式
一、 合并顶标高相同的楼层
按“楼层顶标高相同时,该两层拼接为一层”的原则进行拼装,拼装出的楼层将形成一个新的标准层。这样两个被拼装的结构,不一定限于必须从第一层开始往上拼装的对应顺序,可以对空中开始的楼层拼装。多塔结构拼装时,可对多塔的对应层合并,这种拼装方式要求各塔层高相同,是以前版本的拼装方式,简称“合并层”方式。
如下图所示两工程A和B。
图6-16两工程A和B楼层表示意图
当选择两工程按“合并顶标高相同的楼层”方式进行拼装时,由于工程A的3~10层与工程B的1~8层顶标高一一对应,故在此处两标准层会拼接成一个新的标准层2,从而拼接出新的工程模型如下图所示。
注意,若工程B中某一标准层所组装的楼层与工程A中多个标准层组装的楼层都有顶标高对应关系时,这些标准层会分别拼接成多个新的标准层。另外,如果工程B中有部分楼层在工程A中没有顶标高对应的楼层时,这些楼层会被拼装操作忽略,将不能拼装到工程A中。
图6-17按“合并顶标高相同的楼层”方式拼装结果
二、 楼层表叠加
楼层表叠加的拼装方式得益于广义楼层的引入。这种拼装方式可以将工程B中的楼层布置原封不动的拼装到工程A中,包括工程B的标准层信息和各楼层的层底标高参数。实质上就是将工程B的各标准层模型追加到工程A中,并将楼层组装表也添加到工程A的楼层表末尾。
例如,对于多塔结构的拼装使用楼层表叠加方式时,每一个塔的楼层保持其分塔时的上下楼层关系,组装完某一塔后,再组装另一个塔,各塔之间的顺序是一种串联方式。而此时各塔之间的层高、标高均不受约束,可以不同。
同样是上图所示的A、B两工程,使用“楼层表叠加”方式拼装后结果如图所示。
图6-18按“楼层表叠加”方式拼装结果
在点击“楼层表叠加”按钮后,程序首先会弹出右图所示对话框。要求输入“合并的最高层号”。
该参数的含义是:若输入了此参数,假设输入值为5,则对于B工程的1~5层以下的楼层直接按标准层拼装的方式拼装到A工程的1~5层上,生成新的标准层,而对于B工程6层以上的楼层,则使用楼层表叠加的方式拼装。
其主要作用是,多塔拼装时,可以对大底盘部分采用“合并拼装”方式,对其上各塔采用楼层表叠加的方式,即“广义楼层”的拼装方式。从而达到分块建模,统一拼装的效果。
三、 任意方式工程拼装(没有层高、标高限制)
工程拼装功能,以前版本的PMCAD提供了根据顶标高合并拼装方式,和广义层方式的楼层表叠加方式。
其中合并顶标高方式广泛用户普通多塔拼装,应用于层高标高一致的多塔合并时很方便。但当各塔层高不同,或者标高不同时,需要手工修改层高和标高,使标准层在拼装时能严格对应,才能正确拼装。
图6-20两个层高不同的工程
这一步工作量比较大,为此提供了新的任意拼装方式。只需一步就可以将任意两个工程拼装在一起,而不受标高层高的限制。整个过程不需要再对工程做任何人工调整。
图6-21任意拼装方法
图6-22任意拼装方法层表展示
1. 和以前的顶标高拼装流程类似,拼装当前工程为主工程A,首选选取需要拼进来的B工程。
图6-23选择工程A、B
2. 然后分别输入A、B工程的底层实际自然层号,即不要求两个工程的标高对齐,而是可以整体错位,这就降低了调整标高才能组装的要求。
图6-24输入底层的自然层号
3. 在层高方面,当A、B工程的层高不同时,会优先采用A工程的层高作为拼装后层高,然后只需在SATWE多塔定义中再定义各塔的实际高度即可。这样就不再需要在拼装前对层高做一致性调整,大大降低了工作量。
图6-25拼装后的结果
四、 单层拼装
可调入其它工程或本工程的任意一个标准层,将其全部或部分地拼装到当前标准层上。操作和工程拼装相似。
第六节 整楼模型显示设置
“整楼模型”位于上部“楼层组装”菜单中,以及右上侧的快捷按钮区域,如下图所示。主要用于三维透视方式显示全楼组装后的整体模型。
图6-26整楼模型的菜单位置
图6-27整楼模型的显示设置
【重新组装】:要显示全楼模型就点取【重新组装】项。按照【楼层组装】的结果把从下到上全楼各层的模型整体地显示出来,并自动进入三维透视显示状态。如屏幕显示不全,可按【F6】充满全屏幕显示,然后用打开三维实时漫游开关,把线框模型转成实体模型显示。为方便观察模型全貌,可用【Ctrl】+按住鼠标中键平移,来切换模型的方位视角。
图6-28整楼模型的三维线框显示
图6-29整楼模型的三维实体显示
【分层组装】:只拼装显示局部的几层模型。用户输入要显示的起始层高和终止层高。即三维显示局部几层的模型。
图6-30分层组装的参数设置
图6-31分层组装的显示效果
【单线图显示】:楼层组装时可以选择按单线图方式显示三维模型。单线图方式下,柱、梁、斜杆等杆件所画的位置,是忽略了杆件偏心的位置,这样做的好处是便于检查构件之间的连接关系。
如下图所示,从单线图显示状态,容易看出斜杆未与上层梁连接上。
图6-32斜杆与上层梁未连接上
第七节 模型的三维显示
对各层或全楼的三维模型,渲染后的各杆件均加了描边,模型更加逼真。描边效果可以通过进入渲染(OpenGL)状态的屏幕右键菜单中的“设置描边”选项开启或关闭,同时可以设置描边线的颜色。
图6-33“设置描边”选项开启效果
在渲染状态下点鼠标右键,选取屏幕菜单中的“线框消隐开关”,可以生成该模型的线框消隐模型。
图6-34“线框消隐开关”选项开启效果
第八节 模型的动态显示
相对于“整楼模型”一次性完成组装的效果,动态模型功能可以实现楼层的逐层组装,更好的展示楼层组装的顺序,尤其可以很直观的反映出广义楼层模型的组装情况。
该命令位于“整楼模型”->“楼层组装”菜单组下,运行后弹出下图所示对话框:
图6-35“动态模型”显示的组装方案
若选择自动组装,则可以在其右侧输入“组装时间间隔”,控制组装速度。其动态效果示意如下图所示。
若选择交互组装,则使用者每按一次键盘Enter键,楼层多组装一层。
图6-36“动态模型”自动显示过程
第九节 模型的保存退出
一、 模型的保存
随时保存文件可防止因程序的意外中断而丢失已输入的数据。可以从下图的5处位置来进行模型的保存,其中,有2个地方可以点击“保存”按钮,直接进行模型的保存工作;另外3处则会给出“是否保存”的提示,在进行结构计算分析模块切换或程序退出的过程中,进行模型的保存工作。
图6-37“模型的保存”菜单位置
二、 退出建模程序
点取上部“计算分析”菜单的“转到前处理”命令后,或直接在下拉列表中选择分析模块的名称,程序会给出【存盘退出】和【不存盘退出】的选项,如果选择【不存盘退出】,则程序不保存已作的操作并直接退出交互建模程序。
图6-38退出建模程序的提示
如果选择【存盘退出】,则程序保存已作的操作,同时,程序对模型整理归并,生成与后分析设计模块所需要的数据文件,并接着给出如下的提示:
图6-39选择退出过程中执行的功能
如果建模工作没有完成,只是临时存盘退出程序,则这几个选项可不必执行,因为其执行需要耗费一定时间,可以只点击“仅存模型”按钮退出建模程序。
如建模已经完成,准备进行设计计算,则应执行这几个功能选项。各选项含义如下:
1. 生成梁托柱、墙托柱的节点:如模型有梁托上层柱或斜柱,墙托上层柱或斜柱的情况,则应执行这个选项,当托梁或托墙的相应位置上没有设置节点时,程序自动增加节点,以保证结构设计计算的正确进行。
2. 清除无用的网格、节点:模型平面上的某些网格节点可能是由某些辅助线生成,或由其它层拷贝而来,这些网点可能不关联任何构件,也可能会把整根的梁或墙打断成几截,打碎的梁会增加后面的计算负担,不能保持完整梁墙的设计概念,有时还会带来设计误差,因此应选择此项把它们自动清理掉。执行此项后再进入模型时,原有各层无用的网格、节点都将被自动清理删除。此项程序默认不打勾。
3. 检查模型数据:勾选此项后程序会对整楼模型可能存在的不合理之处进行检查和提示,用户可以选择返回建模核对提示内容、修改模型,也可以直接继续退出程序。目前该项检查包含的内容有:
① 墙洞超出墙高。
② 两节点间网格数量超过1段。
③ 柱、墙下方无构件支撑并且没有设置成支座(柱、墙悬空)。
④ 梁系没有竖向杆件支撑从而悬空(飘梁)。
⑤ 广义楼层组装时,因为底标高输入有误等原因造成该层悬空。
⑥ ±0以上楼层输入了人防荷载。
⑦ 无效的构件截面参数。
4. 生成遗漏的楼板:如果某些层没有执行“生成楼板”菜单,或某层修改了梁墙的布置,对新生成的房间没有再用“生成楼板”去生成,则应在此选择执行此项。程序会自动将各层及各层各房间遗漏的楼板自动生成。遗漏楼板的厚度取自各层信息中定义的楼板厚度。
5. 楼面荷载倒算:程序做楼面上恒载、活载的导算。完成楼板自重计算,并对各层各房间作从楼板到房间周围梁墙的导算,如有次梁则先做次梁导算。生成作用于梁墙的恒、活荷载。这一步是对应05版PMCAD在主菜单3进行的工作。程序默认退出时勾选上。
6. 竖向导荷:完成从上到下顺序各楼层恒、活荷载的线导,生成作用在底层基础上的荷载。这是对应05版PMCAD在主菜单3进行的工作。由于SATWE计算时不需要这部分数据,所以程序默认退出时不勾选。PK及基础模块需要这部分数据,需要进行勾选。
7. SATWE生成数据+全部计算:建模程序退出时,会自动调用SATWE“生成数据+全部计算”的功能。此项程序默认不打勾。
另外,确定退出此对话框时,无论是否勾选任何选项,程序都会进行模型各层网点、杆件的几何关系分析,分析结果保存在工程文件layadjdata.pm中,为后续的结构设计菜单作必要的数据准备。同时对整体模型进行检查,找出模型中可能存在的缺陷,进行提示。
取消退出此对话框时,只进行存盘操作,而不执行任何数据处理和模型几何关系分析,适用于建模未完成时临时退出等情况。
三、 建模程序产生的文件
建模程序在存盘退出后主要产生下列文件。
表6-1建模程序存盘退出后产生的文件
[工程名].jws | 模型文件,包括建模中输入的所有内容、楼面恒活导算到梁墙上的结果,后续各模块部分存盘数据等。由于10/08版中后续计算程序都直接使用此文件数据,不再使用05版的各种中间文件,从而也进一步提高了程序的稳定性。 |
[工程名].bws | 建模过程中的临时文件,内容与[工程名].jws一样,当发生异常情况导致jws文件丢失时,可将其更名为jws使用。 |
[工程名].1ws~[工程名].9ws | 9个备份文件,存盘过程中循环覆盖,当发生异常情况导致jws文件损坏时,可按时间排序,将最新一个更名为jws使用。 |
axisrect.axr | “正交轴网”功能中设置的轴网信息,可以重复利用。 |
layadjdata.pm | 建模存盘退出时生成的文件,记录模型中网点、杆件关系的预处理结果,供后续的程序使用。 |
pm3j_2jc.pm | 荷载竖向导算至基础的结果。 |
pm3j_gjwei.txt | 构件自重文件,主要构件梁、柱、墙分层自重及全楼总重。 |
PmCmdHistory.log | 建模程序自打开至退出过程,执行过的所有命令的名称、运行时间的日志文件。 |
[工程名]ZHLG.PM | 记录了组合楼盖布置的位置信息、荷载值。 |
dchlay.pm | 记录了吊车布置的位置信息、荷载值。 |
第十节 常见问题及注意事项
一、 关于10/08版本对旧版本数据的处理
1. 10版对08版模型数据的自动转换
由于要支持2010系列规范增加的多种设计参数,新版PMCAD扩展了模型数据文件格式,采用了全新的加密验证机制,良好兼容旧版模型数据文件,并对未来高版本文件格式预留了保护模式。
当用户打开旧版模型数据文件时,程序首先会自动在当前工作目录下,建立一个“08_模型数据备份”子目录,将旧版模型数据后缀为JWS的文件拷贝至此备份目录下。然后,程序会自动将旧版模型数据文件转换为新版格式,存储到后缀为BWS的临时文件中,并不会覆盖原有的旧版JWS文件。当用户执行了“保存”命令,或在退出程序时执行了“检查模型数据并保存”功能,程序将覆盖掉当前工作目录中的JWS文件。用户如果需要用旧版PMCAD模块查看原有模型数据,只需将“08_模型数据备份”子目录中的JWS文件覆盖回上一级目录即可。
另外,当用户用10版本程序第一次打开08数据模型,执行“设计参数”命令时,会给出有关设计参数修改内容的提示,点击“确定”按钮后,会自动弹出“新版PMCAD设计参数说明”的PDF格式文档,用户需要安装PDF阅读程序。当模型数据保存为10版格式后,将不再自动进行设计参数的自动提示。
图6-34有关设计参数修改内容的提示
图6-35新版PMCAD设计参数说明文档
2. 10/08版对05版本模型数据的处理
使用10/08版程序打开05版程序建立的工程数据时,不仅可以完全继承PM主菜单1中输入的所有内容,也能够的读取05版PM主菜单2、3中输入的大部分数据。具体可兼容的内容有:
(1) 05版PM主菜单1中输入的所有内容。
(2) 楼板信息:
① 完全读取旧版楼板信息(板厚、错层、洞口)。
② 根据房间形心坐标对位房间。
③ 如果未找到房间,程序会给出提示,并将房间信息记录在ghpmcheck.err文件中。
(3) 楼面荷载、次梁荷载:
① 完全读取05版楼面荷载信息。
② 房间对位规则同楼板。
③ 05版PM主菜单3中输入的次梁荷载。
(4) 悬挑板:
① 完全读取旧版悬挑板信息(包括板厚、荷载)。
② 对于布置在圆弧网格上的悬挑板方向,旧版根据悬挑板所在弦判断方向(左上为正),新版为向外为正。
旧版工程数据存在以下情况时,08/10版程序将无法完整兼容,需给予注意:
(1) 原工程存在标准层布置不连续的情况。比如第1标准层分别组装在1、3自然楼层上,而第2自然楼层组装的是别的标准层,此时在05版PM主菜单2中,会将1、3自然楼层自动区分为1、3结构标准层,如果在这两个标准层上分别布置了不同的楼面信息或者修改了房间荷载,则08/10版中转入的第1标准层只能与第3结构标准层的信息对应(较高楼层的布置覆盖较低楼层的布置),未能对应完整的部分需要手工进行补充。
(2) 楼层组装表中,一个荷载标准层曾与多个结构标准层对应。模型中存在该情况时,08/10版程序只能自动将该标准层与其组装的最高楼层对应的荷载标准层恒活信息进行对应,用08/10版读入后需要手工添置新的标准层,与原先的其他荷载标准层对应。
如发现(1)、(2)所述一对多的情况,程序会给出提示,并将标准层对应关系记录ghpmcheck.err文件中。
(3) 不能读取圈梁布置信息、预制板布置信息、组合楼盖(STS)布置信息、PM主菜单2设置的材料强度信息。
(4) 对于使用02版程序建立的模型,必须先用05版程序更新一次再用08/10版程序打开。08/10版程序不能直接读取02版内容,否则将丢失很多内容,并且无法保证后续各项操作能正确运行。其中对于在02版的PM主菜单3中输入了梁墙荷载的情况,08/10版程序目前无法处理,这部分荷载需在08/10版中补充输入。
另外还需说明,用08/10版第一次打开05版模型数据时程序会自动将模型转换为08版格式,存盘后生成新的模型数据文件。但此时当前工程目录下05版的模型数据仍然存在,并未被删除或覆盖。用户重进建模时仍可以选择打开05版的.JWN工程文件,再次载入旧模型重新转换。
二、 关于建模的注意事项
(1) 当发生节点过密状况,可点网格生成菜单下的节点距离菜单,加大合并的节点距离从而把相距过近的多个节点合并为一。
(2) 上下层位置应对齐的网格节点应确保对齐。
(3) 多使用偏心布置构件,以减少过近过密的网格节点产生。但不应把杆件偏心至另一相邻节点上。
(4) 为减少荷载导算出错机会,布置墙处的各层上下节点尽量对应一致,即该部位各层网格节点应相同。
(5) 墙悬空时其下层的相应部位一定要布置梁。
(6) 洞口不能跨越墙的两个节点和上下层之外,对跨越节点的洞口应作为两洞口输入。另外,两个节点之间只能布置一个洞口。
(7) 两节点之间只能有一段网格线相连,对于两节点间有弧梁、又有直梁的情况时,应在弧梁上设置一节点。
(8) 劲性混凝土、钢管混凝土构件的材料属性应定义为混凝土,结构主材应为钢和混凝土。
(9) 按主梁输入的次梁三维结构计算程序默认为不调幅梁。
(10) 对于柱布置,当柱截面跨越两个或多个节点时,要注意柱只是布置在了其中的一个节点上。它与非布置节点处之间如果没有布置构件,则该柱将孤立地不和其他构件共同工作。一般应把柱截面内节点间布置上梁。
如下面第一个图,柱以B点为布置的节点,该柱截面大,跨越了A、B、C共3个节点,这时只有在A、C间布置梁才能把柱和A、C处的墙等周边构件联系起来。没有这道梁A、C间楼板将贯通,不能分成两个房间。
如下面第二个图,柱也是以B点为布置的节点,如果不在A、C间布置梁,则A、C处的梁都不能和该柱搭接上,而变成了悬挑梁。
图6-36柱截面跨越两个节点情况
图6-37柱截面跨越多个节点情况
(11) 08/10版中对于广义楼层之间的连接关系,只识别上下关系。对于本来楼层在同一平面上相接,用户却把它当作不同的标准层来输入时,程序不能将这两层判断为相接在一起的楼层。
(12) 广义层下的楼层组装顺序,仍应遵循从下而上的原则,跳跃只限于在每塔组装完成后到组装另一塔之间,或塔和连体组装之间,以方便后续各模块分析时的各种参数的统计和计算结果的查阅。
(13) 当斜坡梁下端需与下层梁或墙相连时,其下层梁或墙的连接处必须有节点,如果没有相应的连接节点,需要人工在下层梁或墙中间增加节点,以保证其与上层梁的连接。
(14) 当两横向斜坡梁下端与下层的纵向梁或墙垂直相连,并且需要形成斜的房间、即斜板房间时,应在上层斜坡梁的下端部同时输入可能与下层梁重叠的封口梁,封口梁的截面应与下层纵向梁相同。如果下层纵向是墙,则封口梁可按100*100的虚梁输入。主要原因是需要用封口梁形成斜房间,从而将斜房间的荷载向周边传递。
三、 在荷载输入中应注意的事项
(1) 所有荷载均输入标准值,而非设计值。
(2) 楼面均布恒载应包含楼板自重;使用自动计算板自重功能时,此时楼面均布恒载应扣除楼板自重。
(3) 梁、墙、柱自重程序自动计算,不需输入,但框架填充墙需折算成梁间均布线载输入。
(4) 柱间荷载输入时,当选取“柱荷输入”菜单,沿柱X向会出现两道白线,可具此判断柱间荷载的X、Y方向。
(5) 预制板是自动按单向传力。
(6) “全房间开洞”导荷时该房间荷载将被扣除,而“板厚为0”导荷时该房间荷载仍能导到梁、墙上,不被扣除,但画平面图时不会画出板钢筋。除此之外,各程序对“全房间开洞”和“板厚为0”都当作没有楼板处理。
(7) 对于向上的楼面楼面荷载可以输入负值,但只对板传到梁上起作用,而对板配筋不能考虑。用户可以在PMCAD软件的“平面荷载显示校核”中选取“墙梁荷载”选项,并选择“导算”,从显示的梁间荷载中可以看出输入了负的楼面荷载的房间,其相应导算的梁间荷载为负值。
(8) 程序未自动考虑梁楼面活荷载折减,用户如需进行梁楼面活荷载折减应在【恒活设置】中将活荷载折减项选上,并点取“设置折减参数”,根据规范选择所需折减项即可。
(9) 导荷计算中常出错溢出的原因
a) 本程序内输入的次梁、楼板、洞口的类别总数超出规定范围 。
b) 某层平面上没有一个能够闭合的房间。
c) 有的房间周围杆件的个数大于150。
d) 梁的截面积为0(或很小)
导荷方式总是单向导算,无法修改的原因:注意查看此房间是否布有预制板或是否把屈服线的角度设置为0了。
第七章 设计参数
新版本《砼规》、《高规》、《抗规》对设计参数有重大调整,PMCAD建模程序按最新规范要求进行了调整,“设计参数”对话框内多处内容(文字及含义)有重大变化,请核实以下设计参数的理解及取值是否正确。
第一节 新规范(2010版)设计参数的变化
一、 增加“考虑结构使用年限的活荷载调整系数”
新版《高规》5.6.1条,增加了“考虑结构使用年限的活荷载调整系数”,建模程序的“总信息”选项卡中此项为新增,默认值取“1.0”(按设计使用年限为50年取值,100年对应为1.1),取值可由用户自行设置,取值区间为[0,2]。
二、 新旧规范“混凝土保护层”概念有所不同
新版《砼规》条文说明8.2.1第2条明确提出,计算混凝土保护层厚度方法:“不再以纵向受力钢筋的外缘,而以最外层钢筋(包括箍筋、构造筋、分布筋)的外缘计算混凝土保护层厚度”。本模块采用新版《砼规》的概念取值,“梁、柱钢筋的砼保护层厚度”默认值均取20mm。
注意:打开旧版模型数据时,需要按《砼规》表8.2.1重新调整保护层厚度值,计算结果方可满足新规范要求。
图7-1新旧规范“混凝土保护层”概念有所不同
三、 钢筋类别的增减
新版《砼规》4.2.3条,增加500MPa级热轧带肋钢筋(该级钢筋分项系数取1.15)和300MPa级钢筋,取消HPB235级钢筋,并增加了其它多种类别钢筋,修改了受拉、受剪、受扭、受冲切的多项钢筋强度限制规则。
为此,本模块增加了HPB300、HRBF335、HRBF400、HRB500、HRBF500、CRB600、T63共7种钢筋类别。但仍保留了HPB235级钢筋,放在列表的最后,由用户指定。
注意:打开旧版模型数据时,或者新建工程数据时,如果用户执意选用HPB235级钢筋进行计算,配筋结果将不符合新版规范要求。
图7-2钢筋类别的增减
图7-3钢筋强度设计值
四、 I类场地拆分成两个亚类I0、I1
新版《抗规》4.1.6条,将I类场地细分成了两个亚类I0、I1。《抗规》5.1.4条,增加了水平地震影响系数最大值6度罕遇地震下的数值,特征周期区分了I类场地的两个亚类I0、I1下的情况。为此,建模程序将原有的I类场地分为了两个亚类I0、I1。
图7-4 I类场地拆分成两个亚类I0、I1
五、 抗震构造措施的抗震等级
新版《高规》3.9.7条规定:“甲、乙类建筑以及建造在对III、IV类场地且涉及基本地震加速度为0.15g和0.30g的丙类建筑,按本规程第3.9.1条和3.9.2条规定提高一度确定抗震等级时,如果房屋高度超过提高一度后对应的房屋最大适用高度,则应采取比对应抗震等级更有效的抗震构造措施”。原规范无此规定。
为此,建模程序新增“抗震构造措施的抗震等级”下拉列表,由用户指定是否提高或降低相应的等级。
图7-5新增“抗震构造措施的抗震等级”下拉列表
六、 新增钢框架抗震等级
新版《抗规》8.1.3条规定:“钢结构房屋应根据设防分类、烈度和房屋高度采用不同的抗震等级,并应符合相应的计算和构造措施要求”。
为此,建模程序新增“钢框架抗震等级”下拉列表,由用户指定抗震等级。
图7-6新增“钢框架抗震等级”下拉列表
七、 新增“结构体系”类型
新版《抗规》6.3.7条关于柱纵向最小总配筋率的规定有所修改,对框架结构从严;8.2.5条强柱弱梁极限承载力验算时,单层钢结构厂房可不用验算,多层厂房强柱系数取值不同,放宽条件也不同。
为此,建模程序增加4种新的结构体系:部分框支剪力墙结构、单层钢结构厂房、多层钢结构厂房、钢框架结构,并将旧版本的2种体系做如下自动转换:
短肢剪力墙结构→剪力墙结构
复杂高层结构 →部分框支剪力墙结构
图7-7新增“结构体系”类型
第二节 设计参数介绍
在“设计参数”对话框中,共有5页选项卡内容供用户设置,其内容是结构分析所需的建筑物总体信息、材料信息、地震信息、风荷载信息以及钢筋信息,以下按各选项卡分别介绍:
一、 总信息
图7-8总信息
结构体系:框架结构、框剪结构、框筒结构、筒中筒结构、剪力墙结构、砌体结构、底框结构、配筋砌体、板柱剪力墙、异形柱框架、异形柱框剪、部分框支剪力墙结构、单层钢结构厂房、多层钢结构厂房、钢框架结构。
结构主材:钢筋混凝土、钢和混泥土、有填充墙钢结构、无填充墙钢结构、砌体。
结构重要性系数:可选择1.1、1.0、0.9。根据《砼规》3.2.3条确定。
地下室层数:进行TAT、SATWE计算时,对地震力作用、风力作用、地下人防等因素有影响。程序结合地下室层数和层底标高判断楼层是否为地下室,例如此处设置为4,则层底标高最低的4层判断为地下室。
与基础相连构件的最大底标高:该标高是程序自动生成接基础支座信息的控制参数。当在【楼层组装】对话框中选中了左下角“生成与基础相连的墙柱支座信息”,并按“确定”按钮退出该对话框时,程序会自动根据此参数将各标准层上底标高低于此参数的构件所在的节点设置为支座。
梁钢筋的砼保护层厚度:根据新版《砼规》8.2.1条确定,默认值为20mm。
柱钢筋的砼保护层厚度:根据新版《砼规》8.2.1条确定,默认值为20mm。
框架梁端负弯矩调幅系数:根据《高层建筑混凝土结构技术规程》5.2.3条确定。在竖向荷载作用下,可考虑框架梁端塑性变形内力重分布对梁端负弯矩乘以调幅系数进行调幅。负弯矩调幅系数取值范围是0.7~1.0,一般工程取0.85。
考虑结构使用年限的活荷载调整系数:根据新版《高规》5.6.1条确定,默认值为1.0。
二、 材料信息
图7-9材料信息
砼容重():根据《建筑结构荷载规范》附录A确定。一般情况下,钢筋混凝土结构的容重为25
,若采用轻砼或要考虑构件表面装修层重时,砼容重可填入适当值。
钢容重():根据《建筑结构荷载规范》附录A确定。一般情况下,钢材容重为78
,若要考虑钢构件表面装修层重时,钢材的容重可填入适当值。
轻骨料混凝土容重():根据《建筑结构荷载规范》附录A确定。
轻骨料混凝土密度等级:默认值1800。
钢构件钢材:Q235、Q345、Q390、Q420、Q460、Q500、Q550、Q620、Q690、Q235GJ、Q345GJ、Q390GJ、Q420GJ、Q460GJ、LQ550。根据《钢结构设计规范》3.4.1条及其它相关规范确定。
钢截面净毛面积比值:钢构件截面净面积与毛面积的比值。
主要墙体材料:混凝土、烧结砖、蒸压砖、砼砌块。
砌体容重():根据《建筑结构荷载规范》附录A确定。
以下钢筋类别根据《砼规》、《冷轧带肋钢筋混凝土结构技术规程(JGJ 95-2011)》、《热处理带肋高强钢筋混凝土结构技术规程(DGJ32/TJ 202-2016)》、《T63热处理带肋高强钢筋混凝土结构技术规程(Q/321182 KBC001-2016)》及其它相关规范确定。
墙水平分布筋类别:HPB300、HRB335、HRB400、HRB500、CRB550、CRB600、HTRB600、T63、HPB235。
墙竖向分布筋类别:HPB300、HRB335、HRB400、HRB500、CRB550、CRB600、HTRB600、T63、HPB235。
墙水平分布筋间距(mm):可取值100~400
墙竖向分布筋配筋率(%):可取值0.15~1.2
梁箍筋级别:HPB300、HRB335、HRB400、HRB500、CRB550、CRB600、HTRB600、T63、HPB235。
柱箍筋级别:HPB300、HRB335、HRB400、HRB500、CRB550、CRB600、HTRB600、T63、HPB235。
对于新建工程,构件的钢筋级别默认值,从V4.2版本程序开始,梁、柱主筋及箍筋都改为HRB400,墙主筋改为HRB400,水平分布筋改为HPB300,竖向分布筋改为HRB335。
三、 地震信息
图7-10地震信息
设计地震分组:根据《建筑抗震设计规范》附录A确定。
地震烈度: 6(0.05g)、7(0.1g)、7(0.15g)、8(0.2g)、8(0.3g)、9(0.4g)、0(不设防)。
场地类别:I0一类、I1一类、Ⅱ二类、Ⅲ三类、Ⅳ四类、Ⅴ上海。根据新版《抗规》4.1.6条和5.1.4条调整。
砼框架抗震等级:0 特一级、1 一级、2 二级、3 三级、4 四级、5 非抗震。根据《建筑抗震设计规范》表6.1.2确定。
剪力墙抗震等级:0 特一级、1 一级、2 二级、3 三级、4 四级、5 非抗震。
钢框架抗震等级:0 特一级、1 一级、2 二级、3 三级、4 四级、5 非抗震。
抗震构造措施的抗震等级:提高二级、提高一级、不改变、降低一级、降低二级。根据新版《高规》3.9.7条调整。
计算振型个数:根据《建筑抗震设计规范》5.2.2条说明确定。振型数应至少取3,由于SATWE中程序按三个振型一页输出,所以振型数最好为3的倍数。当考虑扭转耦联计算时,振型数不应小于9。对于多塔结构振型数应大于12。但也要特别注意一点:此处指定的振型数不能超过结构固有振型的总数。
周期折减系数:周期折减的目的是为了充分考虑框架结构和框架——剪力墙结构的填充墙刚度对计算周期的影响。对于框架结构,若填充墙较多,周期折减系数可取0.6~0.7,填充墙较少时可取0.7~0.8,对于框架——剪力墙结构,可取0.8~0.9,纯剪力墙结构的周期可不折减。
四、 风荷载信息
图7-11风荷载信息
修正后的基本风压(kN/m2):只考虑了《建筑结构荷载规范》第7.1.1-1条的基本风压,地形条件的修正系数η程序没考虑。
地面粗糙度类别:可以分为A、B、C、D四类,分类标准根据《建筑结构荷载规范》7.2.1条确定。
沿高度体型分段数:现代多、高层结构立面变化比较大,不同的区段内的体型系数可能不一样,程序限定体型系数最多可分三段取值。
各段最高层层高:根据实际情况填写。若体型系数只分一段或两段时,则仅需填写前一段或两段的信息,其余信息可不填。
各段体型系数:根据《建筑结构荷载规范》7.3.1条确定。用户可以点击辅助计算按钮,弹出确定风荷载体型系数对话框,根据对话框中的提示选择确定具体的风荷载系数。
图7-12风荷载体型系数对话框
五、 钢筋信息
图7-13钢筋信息
钢筋强度设计值:根据新版《砼规》4.2.3条确定。如果用户自行调整了此选项卡中的钢筋强度设计值,后续计算模块将采用修改过的钢筋强度设计值进行计算。
以上PMCAD模块“设计参数”对话框中的各类设计参数,当用户执行“保存”命令时,会自动存储到.JWS文件中,对后续各种结构计算模块均起控制作用。
第八章 DWG转PMCAD模型和衬图
本章介绍与DWG图相关的两部分内容,一部分为DWG图转PMCAD模型,另一部分为将DWG图作为衬图使用。
第一节 从DWG图转PMCAD模型简介
本程序可把AutoCAD平台上生成的建筑平面图转化成PMCAD结构平面布置的三维模型数据,从而节省用户重新输入建筑模型的工作量。程序根据Dwg平面图上的线线关系转换成PKPM中的轴线和建筑构件梁、柱、墙、门、窗等建筑构件和它们的平面布置。
程序目前可直接读取直到AutoCAD2017格式及以下的各种版本的DWG图形文件。本程序先把DWG图形文件转化成为PKPM格式图形文件(.T图形文件),再对该.T图形文件进行模型识别和转化。菜单位置位于“基本”菜单项下,如下图所示。
图8-1 DWG转模型菜单位置
Dwg平面图由线条和字符等基本图素构成,没有物理意义,无法自动从图上识别出平面建筑布置的内容,即不可能知道哪些是轴线,哪些是墙、柱等等。所以用户人机交互操作的主要工作之一就是对各种构件指定其相对应的图素。一般图纸都把不同类别的构件画在不同的图层上,这就方便了程序的选取识别。比如识别轴线时,用户只要点取某一根轴线,则程序就会把与该轴线相同图层的图素都选中,把它们都归为轴线的内容。
转图时轴线、墙、柱、梁等不同的构件一定要用不同的图层分开。如果该平面图上各种构件图层分类混乱,比如把梁、墙画到同一种图层上,人机交互分别指定的工作量就会很大。
根据用户的选择,软件针对不同构件进行相应的分析判别处理:
一、 轴网及轴号的识别
程序可正确识别直线型的轴网,对弧形轴网识别效果不佳。如需识别轴号,请同时选择轴号及其对应的轴圈。
图8-2墙和梁的判别
二、 墙和梁的判别
1. 必须是一对平行的墙线或梁线,且平行线之间的距离满足墙和梁宽度所设置的范围,即距离在最小墙(梁)宽和最大墙(梁)宽之间。
2.平行墙(梁)线附近有与之平行的轴线,且平行墙线的中心线与轴线之间的距离小于所设置“最大偏心距”。
该对平行线附近位置如果画有轴线,则该墙或梁转化成功的机率较高。如果平行线附近位置没有画轴线时,程序可以在该对平行线的中心位置自动生成轴线(非圆弧的梁或墙),并在墙或梁的相交处轴线自动延伸相交,延伸的范围限于参数设定中墙或梁的最大宽度。这种情况下转化的效果有时需要人工调整。
转化不理想时,可以人工补充墙或梁下的轴线,程序设有专门的菜单补充轴线,对圆弧的梁或墙必须补充了轴线才能转换。
三、 柱的判别
封闭的矩形、圆形或多边形柱图层,且距轴线交点在合理取值范围内。
四、 门、窗洞口的判别
是一个门窗图块、或是平行的门窗线段,且位于墙上和轴线上。
第二节 操作说明
点击“DWG转模型”按钮,将进入以下菜单:
图8-4 DWG转模型菜单内容
下面按转换功能分别介绍说明其工作流程及操作步骤。
一、 功能介绍
其主要功能是处理分析平面图上的轴线(网格线)、墙体、柱、梁、门、窗等建筑构件的图素,将其转化生成PMCAD的建筑层模型数据,并与PMCAD中当前标准层进行组装,可节省人工录入建筑模型的工作量。
把不需要转换图素关闭主要是去掉和建筑构件模型无关的图素。用户的主要工作是分别选出各类建筑构件,有时需要补充绘制网格线。交互选择图素确定各类建筑构件的同时可切换显示已被选出的建筑构件,可通过显示菜单来回切换显示原图和已选出的构件图。主要功能菜单如图8-4所示。
关键步骤及注意事项:
Ø 在PMCAD中新建或切换到要接收转换模型的标准层
Ø 进入DWG转模型菜单并打开Dwg平面图文件,程序自动将其转换成相同名称的.T图形文件。
Ø 关闭或删除与转模型无关的图素。把不需要转换图素关闭或删除,主要是去掉与建筑构件模型无关的图素如一些填充图案、图表等,避免转换出多余的构件,提高转图的效率,增加转图的稳定性。
Ø 第一次转换时,请使用点点距离,点线距离,线线距离确定当前图比例是否正常,如测量下梁宽、墙宽、柱尺寸等。若不正常,可使用“图形比例”功能对图形进行比例变换。
Ø 关闭或删除和转模型无关的图素
Ø 分别选择各类建筑构件相关的图素
Ø 提取模型,并设置转换参数
Ø 如果图形上包含若干层的平面图,由于每一次只能转换一个楼层,需由用户选择图上的只包含待转换层平面的部分图形。
Ø 为识别出的模型选择与基点、旋转角度,在PMCAD当前标准层中选择或输入插入点进行组装
Ø 该层平面信息并不完整,需要进一步对它补充布置信息。一般通过单参修改,补充建筑构件的尺寸等,通过画直线梁、墙补充梁、墙布置遗漏的部分,或通过平面建模程序补充或修改平面模型。
Ø 保存一下转好的PMCAD模型,再新建或切换到其他标准层进行同样操作。
二、 操作流程
1. 装载DWG图
首先选择一张已有的DWG平面图纸,目前DWG格式只支持AUTOCAD2012版及以下的版本。若选择完DWG图后,在DWG转T图的过程中弹出“Invalid file version”提示,说明当前DWG图格式为超过AUTOCAD2012,请将DWG另存为程序支持的低一点的AUTOCAD版本,再装载。如提示“Invalid file path”,说明当前DWG存放的路径有程序不支持的特殊符号,可更换DWG所在的目录或修改路径中的特殊符号即可。
2. 确认DWG绘图比例
在未确定DWG绘图比例正常时,请使用“点点距离”,“点线距离”,“线线距离”菜单确定当前图比例是否是想要的尺寸,如测量下梁宽或墙宽或柱尺寸。若不正常,可使用“图形比例”功能对图形进行比例变换后,再选择各类构件进行识别。
3. 选择要识别的轴网及构件
DWG图纸选择完毕后,程序会将其转为PMCAD内部的T图并显示。接下来,可根据需求选择要识别的图形部分,目前支持的识别类型如上图中菜单所示。选择某类元素时,程序默认根据鼠标点选的图形按类选择(根据选择图形的属性自动搜索并选中图上具有相同属性图形),也可根据命令行提示,输入A,回车,手动选择部分内容,被选中的图形会变色显示以示区别。即使选择了不需要的图形,也可在“提取模型”进行参数设置时,勾选“选择部分进行转换”进行再次过滤,去掉已选择的不需要的图形,下面会进行说明。
需注意的是,轴线轴号识别时应同时选择轴号相应的轴圈以及连接轴圈的线段。如下图8-5,选择识别的是轴线,轴线编号,柱以及墙。
图8-5选择要识别的轴网及构件
4. 恢复和重做(Undo和Redo)
支持在交互期间的Undo和Redo功能,甚至在识别完模型返回PM后,若对结果不满意,也可使用Undo功能取消此次识别结果。
5. 显示已选构件和显示原图
在选择了部分图形内容后,点击“显示已选构件”会只显示截至目前已选择的图形;点击“显示原图”则返回到原始完整的图形继续选择。
6. 提取模型
当选择完成后,可单击提取模型,进行图形到模型的转换,此时会弹出如下参数设置。
图8-6转图参数设置
本界面中参数说明如下:
Ø 构件尺寸输入:分别输入建筑构件的三维尺寸的缺省值。包括梁高、门高、门槛高、窗高、窗台高等五个参数。此组参数值的输入,常取每种构件在该标准层中出现最多的尺寸值,当有个别构件与相应类别的输入值不符时,可在PMCAD的模型输入中修改。
Ø 构件辨认尺寸值:单位均为毫米(mm)。转图前应大致查看当前图形中需进行转换的最厚及最薄的墙,最宽及最窄的梁,最大及最小的门窗洞口尺寸,以便分别输入各类构件的辨认尺寸值。查看梁宽或墙厚时,可采用菜单“工具”下的“点点距离”,“点线距离”,“线线距离”测量,如图8-7所示。这些值应尽量与当前工程图相适应,太大或太小都会使转图效果不理想。以墙为例,最大值太大或最小值太小,可能会使本不是一道墙的两条墙线错误配对为一道墙,造成墙体混乱,而最大值太小或最小值太大,会把厚度在所设置范围之外的墙(如厚墙或薄隔墙等)遗漏,造成少墙。
图8-7测量距离
Ø 最大偏心距:其值表示墙体或梁的中心线与其所依据的最近网格线的距离不能大于它,否则,该墙梁被忽略,或另行生成网格线。
Ø 转换部分图形:如果一张建筑平面图上有若干个标准层平面图,则用户可以不用分成几个DWG或T图,而用[转换部分图形]功能按钮来实现转换。这样在转换时用户只选择指定标准层的构件图形即可。
注意:为保证处理结果的正确性,建议将平面图分放在几个DWG或T文件中。
Ø 端部短墙(梁)最小长度:端部短墙(梁)指的是单独伸出的墙肢或梁段,
如下图所示:
图8-8端部短墙(梁)示意图
当外围网格线布置的构件有偏心时(如图8-8中墙B所示),程序会在墙A的伸出轴线范围D内生成一小段端墙。但是正确的模型应是图8-9所示,因为程序会自动在墙A与偏心的墙B之间增加连接,它就和程序生成的端短墙C重合。设置此参数,就是为了让程序能把生成的端墙C再自动删去,因此该参数应大于图中最大偏心的数值。当该平面上没有需要转出折端墙(梁)肢时,该参数值宜取大些。
注意:此参数也不能取值过大,否则会将较长的端部挑出梁也被忽略掉。
图8-9选出原图
图8-10正确结果 图8-11错误结果
Ø 最大梁宽:此参数主要功能是判断平行线之间是否能形成有效线对(构件)。当平行线之间的距离小于此参数时,可认为此对平行线可以形成有效线对。如图8-12中的梁其截面尺寸有1100X1000,因此必须修改默认的参数,将最大梁宽由901mm,改为1101mm,否则此类截面的梁就会丢失。
图8-12最大梁宽参数
如前面所述,如果目前已选择的图形仍需进一步过滤,即只对已选图形的一部分进行转换,可勾选“选择部分进行转换”,点击“确定”后,程序会允许用户交互选择想要转换的一部分图形。
参数设置完后,点击“确认”,此时模型已经识别完成,需要用户选择当前图的基点,以及旋转角度(如不需要转动直接点左键即可),方便识别模型与PMCAD当前标准层进行组装。
选择完基点和旋转角度后,程序会自动返回到PMCAD并显示当前标准层的平面图,需要用户选择已成功识别模型在PM标准层平面图中的插入点(也可直接输入绝对坐标值,如 !2000,1500回车),即可完成识别模型与原模型的组装融合。该例子的拼接结果如下图。
图8-13成识别模型与原模型的拼接结果
7. 检查和编辑模型
对于转换完成的标准层,平面信息并不完整,需要进一步对它检查和补充布置信息。操作应该在转图之后,对当前层的模型存盘退出,再进行模型编辑操作。
Ø 通过“单参修改”工具可快速修改门窗的高度、梁的标高等等。
Ø 通过“构件布置”菜单中的梁、墙布置或“构件修改”菜单中的画直线梁、墙补充梁、墙布置遗漏的部分。
Ø 通过“构件布置”菜单中梁截面列表检查修改梁截面高、宽等。
Ø 通过“构件布置”菜单中门窗截面列表检查修改门窗截面高、宽等。
单参修改的四种方式:
图8-14门窗的修改参数 图8-15梁的修改参数
① 光标修改方式
在确定了要修改的单参数值后,首先进入该方式,凡是被捕捉靶套住的该类构件(如门窗),在按【Enter】后,该类构件的当前值被替换,用户可随时用【F5】键刷新屏幕,观察修改结果。
② 沿轴线修改方式
当切换为【沿轴线布置】方式时,在按【Enter】后,被捕捉靶套住的轴线上的所有该类构件的当前值被替换。
③ 按窗口修改方式
当切换为【按窗口布置】方式时,此时用户用光标在图中截取一窗口,窗口内的所有该类构件的当前值被替换。
④ 按围栏布置方式
当切换为【按围栏布置】方式时,用光标点取多个点围成一个任意形状的围栏,将围栏内所有该类构件的当前值被替换。
Ø 通过“构件修改”菜单中画直线梁、墙修改转换模型后丢失或遗漏的梁(墙),用户可用“绘梁线”(“绘墙线”)中的“绘直线梁”(“绘直线墙”)补充布置。
图8-16截面和偏心拾取
操作时,可以多使用“绘梁线”(“绘墙线”)对话框上的“拾取”工具条(图8-16),使用“拾取”可以在平面上鼠标点取已经正确布置的梁或墙的截面和偏心,省去输入梁或墙截面和偏心的工作。如下图,缺失的梁如果和它右侧的相邻梁截面与偏心相同,可先直接拾取右侧梁,再用“绘梁线”画出左侧梁。
图8-17缺失梁位置 图8-18绘梁线后结果
8. 转换其它标准层
首先在PMCAD中新建或切换到其他要接收转换模型的标准层,然后进入“DWG转模型菜单”进行同样操作。
三、 问题解答
1.如何进行多楼层的转换?
由于转换模型是与PMCAD当前标准层模型融合,因此在转换完一个标准层后,首先需要在PMCAD中新建或切换到其他要接收转换模型的标准层,然后进入“DWG转模型菜单”进行同样操作。
2.异型柱处理的条件是什么?
其轮廓线一定是一条连续绘制的折线(即POLY图素)。
3. 有构件丢失问题发生后怎么办?
需要进行如下检查:
Ø 第一,核查构件上是否有网格线(尤其是弧形构件一定要有网格线)
Ø 第二,丢失构件是否超出构件识别对话框中设置的参数范围,具体可在“提取模型”时弹出的对话框中重新指定。
4. 若DWG图形文件名中有空格,程序如何处理的?
生成的T图形文件名中的空格用“_”代替。
5. 轴线标注选择包括那些内容?
轴圈、轴线编号及连接轴圈的线段。
第三节 衬图功能
一、 功能介绍
衬图是把DWG图(自动转为T图)或T图以灰色或彩色的方式衬在PMCAD的图下并可捕捉,以提供一些建模辅助手段、模型比对和定位等功能,类似于AUTOCAD的参考图。其菜单位于PMCAD“基本”菜单项和下部快捷工具条中,如图8-19和8-20所示。
图8-19衬图功能菜单位置
图8-20衬图开关在下部工具条中位置
应用场景比如建模初期,对于一些DWG转模型效果不好的工程,可使用已有的建筑DWG图或T图作为衬图直接画出结构图的主要定位轴线、网点,并可参照衬图布置构件、荷载等。又如,在建筑模型变更时,也可将建筑DWG图作为衬图,直接比较得出建筑的方案变更信息,对结构模型的布置进行调整等。
二、 操作说明
点击该菜单,弹出界面如下:
图8-21衬图对话框界面
衬图包含的功能有:
(1)允许用户在插入衬图时选择图纸的一部分进行插入。
(2)衬图历史记录,每次新插入的衬图将会添加到上图所示的表格中,下次使用时直接双击记录行即可自动插入先前插入过的衬图,并自动定位到上次插入时的位置。
(3)衬图可在构件布置和荷载布置等情况下保留,可通过右下快捷菜单中的“开关衬图”按钮进行衬图的隐现切换。如荷载布置时,打开衬图开关,效果如下图所示。
图8-22荷载布置时打开衬图效果
1 插新衬图
点击“插新衬图”,程序需用户选择已存在的DWG图或T图(图纸并不要求在当前工程目录下),弹出如下所示的界面。
图8-23选择已存在的DWG图或T图
提示:若选择完DWG图后,在DWG转T图的过程中弹出“Invalid file version”提示,说明当前DWG图格式为超过AUTOCAD2012,请将DWG另存为程序支持的低一点的AUTOCAD版本,再装载。如提示“Invalid file path”,说明当前DWG存放的路径有程序不支持的特殊符号,可更换DWG所在的目录或修改路径中的特殊符号即可。注意,目前选择的文件路径中不能有空格。
图形打开后,程序会提示用户选择或输入基准点,如选择基准点时不能捕捉,请检查当前DWG图或T图比例是否正常。选择完基准点后,会弹出如下界面,提供了修改插入点坐标值和输入旋转角功能,并可选择是否将当前图以灰色形式插入PMCAD。
图8-24插入衬图设置
图纸转换完成后,会询问是否使用整个图纸,如果要选择图纸的一部分插入,点击“是”,将会允许用户选择图纸需要插入的部分。
完成插入后,将会在上图所示表中增加一条记录,以备以后使用。
插入完成后,可双击对应记录的“自定义名称”列,输入自己想要的名称以便与其他记录区分和方便记忆。
提示:可直接双击已插入的衬图记录,进行衬图的自动插入和切换。
图8-25提示选择部分图形插入
点击“确定”并选择完目标插入点后,某工程插入衬图的效果如下图所示。可直接观察出当前模型与衬图的差异。
图8-26某工程插入衬图的效果图
2 调整衬图
点击该菜单,程序会弹出与插入衬图相同的界面,可直接修改基点与目标点坐标数值,或点击两者各自对应的“图中选择”按钮捕捉图中的点来调整衬图的位置。
3 开关衬图
该功能与右下快捷菜单的功能相同,提供衬图的隐现切换功能。
4 删除记录
可选择列表中的不需要的记录进行删除。
5 图纸更新
当由于设计方案调整,插入的衬图DWG源文件改变时,程序自动判断并更新列表中需要更新的以前已插入的衬图文件,无需再次重新插入。
用户只需要将新的相同AUTOCAD版本的同名DWG文件覆盖掉旧衬图文件即可,如果此时打开了相关的衬图文件则需要手动关闭,且程序会自动关闭当前插入的衬图以避免占用文件导致更新失败的问题。
注意:该功能目前仅支持整张插入的图纸。
点击“图纸更新”按钮会弹出如下对话框:
图8-27图纸更新提示
点击“是”,程序会根据当前衬图插入历史记录,自动搜索并判断各个图纸是否需要更新,更新完成后,被更新的记录行会以绿色示意,如下图所示。
图8-28被更新的记录示意
此时,用户只需要双击记录,即可按照原来的定位位置自动插入新的DWG衬图。
第九章 空间层建模
自V3.1版本开始,程序在“PMSAP核心的集成设计”这条线上,新增了空间标准层的定义功能。规则结构部分可以用PMCAD完成建模,平面网格不好描述的空间结构部分可以用空间标准层来布置。空间标准层的交互和SPASCAD类似,完成布置并且参加组装后,后续程序将两个部分自动合成为完整的模型,接力PMSAP完成计算。
第一节 空间标准层的建立与编辑
进入PKPM主界面如下图所示。
图 9-1包含空间层建模功能的PMSAP集成主界面
一、 新建空间标准层
空间标准层的概念和平面标准层类似,可以独立新建,修改,删除;已经建立的空间层通过组装的方式加入全楼,不组装的空间层不会出现在全楼中,方便混合结构拆分、合并做整体分析或独立分析。
新建空间标准层时,在右上角标准层号下拉菜单下,选择“添加新标准层”,此时将会出现如下图所示的“标准层类型”选择,选择“空间标准层”类型后,则可以创建一个新的空间标准层。已经建立的空间层则会显示在楼层列表中。
图 9-2新建空间标准层
首次进入空间层会弹出参考层设置对话框,参考层是PMCAD已组装平面标准楼层在空间层中的参考,在空间层建立过程中起着辅助定位的作用,可以选择显示或不显示,也可以选择局部楼层显示。参考层显示的构件不能编辑,只能作为定位之用,可以在参考层的基础上,定位网架等结构构件的位置。
图 9-3参考层设置及显示结果
二、 空间层交互编辑
空间层布置提供了网格、构件布置、荷载布置、约束布置等基本功能,可以布置各种空间杆件、斜墙斜板,其基本交互方式和SPASCAD一致,可以参考SPASCAD说明。
图 9-4空间层建模功能菜单
在右上角和右下角的快捷按钮中,提供了一些方便操作的命令,例如选择命令、显示命令和工具类命令。
图 9-5空间层建模显示、工具等菜单
在常用工具栏中提供了若干快速建模功能,方便用户简便的建立一些有特定规律的模型。
图 9-6快速建模工具
层拷贝命令,可以将PM标准层复制到空间层中。空间层主要处理那些平面网格模式不容易建立的结构部分,如桁架网架,连廊等部分。层拷贝命令的目的是利用标准层的定位网格和构件方便的为钢结构部分建立支座,所以默认的高度参数是500mm,而导入的构件默认只有柱类型构件。
图 9-7层拷贝
针对特定结构形式,空间层模块提供了空间桁架、广告牌、围区网架快速建模命令。以围区网架为例,通过交互围选网架边界,就可以快速布置平板网架。
图 9-8设置围区网架尺寸及布置结果
空间层建立模型,不仅可以手工交互或者通过快速命令形成模型,也可以导入模型,提供了子结构导入、DXF导入和spt导入功能。子结构导入是将其他通过SPASCAD建立的模型导入到当前工程中,DXF导入可以将DXF格式的定位网格线导入,spt是SPASCAD中的一种文本格式的模型。
图 9-9导入模型
需要说明的是,空间层是在SPASCAD基础上编制的空间标准层布置功能,和PMCAD形成的规则楼层部分共同形成完整的模型,也要参加楼层组装,而不能独立存在。
第二节 空间层组装与分析
一、 空间层组装
建立一个空间标准层后,在“整楼模型”的“楼层组装”菜单组下,点击“空间层组装”进行空间标准层的组装。
图 9-10空间层组装
组装时不仅可以定义空间标准层的标高,也可以水平向移动即定义x,y方向的偏移,还可以设置转动角度,目的是最大限度的利用已有的空间层。这样,如果建筑几个位置的空间标准层几何形式一样,就可以通过平移和旋转反复使用,减少几何模型的重复输入工作。
组装完可形成普通层和空间层的整体模型,如下图所示。
图 9-11全楼显示下的空间层
二、 接力PMSAP进行分析设计
建模完成后,点击PMSAP分析设计,程序自动分两步完成整体模型的形成:首先将规则楼层部分形成自然层模型,这部分功能和SATWE形成数据的过程类似,然后如果定义了空间层并参与了组装,程序根据组装的偏移、转角信息,将多个空间层部分自动加入,从而形成完整的全楼模型。
图 9-12可以整体分析的混合结构模型
形成完整模型后,可以定义特殊构件定义和荷载,然后接力PMSAP完成计算。这部分功能请参考PMSAP相应说明。
第十章 工具设置
本章主要介绍PMCAD提供的一些图面编辑设置、自定义快捷命令、参数设置、测量工具、构件编号查看、SATWE数检定位、DXF导入、恢复模型、构件统计、导荷查看以及模型检查等工具。“常用工具”菜单如下图所示,另外,有一些工具在“基本”菜单中。
图10-1工具设置菜单内容
现就各个按钮功能说明如下:
第一节 常用设置
一、 捕捉设置
点击该按钮,弹出界面如下:
图10-2捕捉显示设置
该界面主要提供当前的捕捉设置动态点提示,背景颜色设置,显示设置,选择及控制等功能,这部分的详细说明请参阅另一本用户手册《面向工程应用的图形平台TCAD》。
二、 编辑方式
选择以PKPM编辑方式还是以ACAD(即AutoCAD)编辑方式,默认为ACAD编辑方式。
图10-3编辑方式
三、 定时存盘
设置一个自动保存模型的时间间隔。程序会根据间隔自动将模型备份至[工程名].bws文件中,当发生异常情况导致jws文件损坏时,可将bws文件后辍更名为jws使用。
图10-4定时存盘
四、 快捷命令
图10-5快捷命令
用户可以自定义一些快捷命令,并可使用“导入旧版快捷命令”导入旧版本已定义好的快捷命令,还可以通过点击“打开快捷文档”按钮,导出当前已定义的快捷命令到其他安装PMCAD的机器下使用。双击左树形表格中的命令可直接添加到右侧以供编辑,用户可以将一些常用的操作设置自己的快捷命令。
五、 设置INI参数
设置INI参数主要有3个部分,CFG图形系统配置参数,PM配置参数和PM结构平面图。
CFG图形系统配置参数如下,主要影响图形打印和T转DWG图时的设置。
图10-6 CFG图形系统配置参数
PM配置参数如下,主要参数有地震分组、地震烈度、基本风压、场地土类别默认值和倒算荷载相关的参数,也可在此设定自动存盘时间间隔。
图10-7 PM配置参数
结构平面图参数如下,主要为一些与PM层平面图相关的参数。
图10-8结构平面图配置参数
第二节 常用工具
一、 测量
提供了3个测量工具:点点距离,点线距离和线段长度。
二、 构件编号
显示各类构件编号(括号内为ID号),如下图所示。
图10-9构件类型选择及编号显示结果
三、 数检定位
SATWE前处理中产生的check.out文件中的模型数据检查信息,在PM中可直接定位其中的警告和错误,便于用户直接根据SATWE数检的结果在PM中检查和调整模型,警告和错误均可定位,如下图中是悬挑梁的警告信息,双击该行,PM中对应的梁将自动加亮并居中显示。
此外,由于在SATWE前处理中可能会对模型做处理,有时个别调整过的构件定位可能略有偏差,用户可根据其坐标信息判断是否为当前构件,需注意的是,数检文件中坐标单位为米。
图10-10 SATWE前处理数检结果定位
四、 存为旧版模型
将新版模型JWS文件存为V1.1~V3.1.3版模型JWS文件的功能。点击程序上部“基本”菜单中的“存为旧版”按钮,在弹出的对话框中输入要保存的JWS文件名称、位置,选择需要的版本,点击“保存”按钮后,程序将进行转换。
图10-11存为V1.3版本模型文件
需要说明的是,转换成功的旧版本数据文件,会自动加上其对应版本的文件后辍,例如,转换前选择存为“10规范V1.3版模型文件”,文件名为“aas13”,则最终文件名会自动加上“_ver1-3”的后辍,用V1.3版PMCAD程序打开模型时,需要选择转换后的“aas13_ver1-3.jws”文件(最好拷贝到一个新建目录内),程序才能正确识别模型数据,不然会给出“无法识别高版本模型文件”的提示。
图10-12 V1.3程序打开转换结果
五、 导入DXF
将DXF文件中的实体转换为PMCAD中的结点、网格。点击“导入DXF”按钮,在弹出的对话框中选择要导入的DXF文件,点击“打开”按钮后,程序将自动进行转换。
图10-13打开DXF文件
图10-14导入DXF前原始图
图10-15导入DXF后结果
此外,在开始转换前,程序会给出注意事项,如下图所示:
图10-16导入DXF“重要提示”对话框
六、 为PDF文件
将PKPM模型转换为PDF文件中可以旋转、拖动、缩放操作模型的功能。点击程序上部“基本”菜单中的“存为PDF”按钮,在弹出的对话框中输入要保存的PDF文件名称、位置,点击“保存”按钮后,程序将进行转换,最后自动打开该PDF文件,如图所示。
图10-17另存为PDF文件
需要说明的是,程序将PDF文件打开后,默认为平面视图,用鼠标右键点击屏幕,在弹出的右键菜单中选择“工具”子菜单中的“显示”工具栏命令,将会弹出包含平移、缩放、视图等按钮的工具条。点击这些按钮,调整观察角度、比例,就可以方便地进行模型操作、三维浏览。
图10-18 PKPM模型-国家体育场
图10-19 PDF模型-国家体育场
七、 恢复模型
当模型有问题时,用户可通过此功能恢复PM自动备份的[工程名].1ws~[工程名].9ws中任意一个为当前模型,各个模型的保存时间和大小均有记录。
图10-20恢复模型
当程序出现异常或模型有问题时,用户首先应复制整个工程目录至一个新位置做整体备份,然后再执行“恢复模型”命令,依次挑选备份文件进行模型恢复。如果都不能达到需要的效果,点击程序右上角的“X”关闭按钮,直接退出程序,这样做可以保留各种备份文件,而不要进行“保存退出”的整理结点网格、生成楼板、荷载导算等操作。
退出后,还可以在“整体备份”目录中按以下优先顺序,挑选出其它备份文件进行手动恢复操作:
1、[工程名].bws文件
2、[工程名].1ws~[工程名].9ws,按文件生成新旧日期
3、.bak文件
4、含“备份”字样的子目录中的.jws文件
以上各种文件都是模型的备份文件,可以直接打开使用。但需要注意的是,在打开前,需要拷贝至一个空目录,改名为.jws模型文件再用PMCAD程序打开。
八、 构件颜色方案
点击上部“显示”菜单中的“构件颜色”按钮,程序会弹出“构件颜色设置”对话框。修改颜色方案会对所有构件整体改变颜色,默认颜色方案为“寂静蓝色”。用户修改设置为“PKPM经典”颜色方案后,下次再进入程序时,颜色方案默认会变为“PKPM经典”方案。此外,还有其它2种用户自定义方案,可以设置任意构件颜色。
图10-21构件颜色方案
九、 构件统计
该统计是基于PMCAD楼层组装表进行的统计,未考虑SATWE中以下因素等:
1 多塔调整楼层高度
2 构件偏心引起的长度变化
3 构件重叠区质量扣除选项
各层针对不同类型的构件,分别统计其自重及恒、活荷载,并区分混凝土和钢材,墙、板及洞口类统计其面积,汇总其总恒和总活大小,最后对全楼总恒、总活和总重给出PM阶段的汇总结果。某工程第一层及全楼统计结果如下图所示:
图10-22某工程第一层及全楼统计结果
十、 导荷查看
查看上一次退出PM时的荷载导算数据,为楼面荷载倒算和竖向导荷的结果。主要查看选项有:
“层底恒活”:当前自然层层底恒活导算值。
“导墙自重”:当前自然层墙自重导算值。
“层顶恒活”:当前自然层层顶(即上层层底)恒活荷载导算值。
“底层传基础”:只对与基础相连层有效。
“活荷折减层数”:本自然层(不含)内柱、墙、基础计算截面以上的总自然层层数,主要用来计算单构件的活荷载折减系数,见《建筑荷载规范》相关内容。
荷载导算原则可见第五章第七节“荷载导算及技术条件”。
图10-23导荷结果查看
柱荷载的格式为“恒+活”,墙荷载格式为“恒+活(均)”,如下图所示。
图10-24结果查看导荷格式
十一、 模型检查
在不退出PM的情况下,对模型做合理性检查,主要三项有:
“生成梁托柱、墙托柱的节点”
“生成遗漏的楼板”
“检查模型数据”
该三项过程与退出PM时进行的检查功能相同,如下图所示。
图10-25模型检查
十二、 更新说明
点击该按钮,如果机器安装了支持PDF阅读的软件,可自动打开自PM1.3~PMV3.1各个版本对应的改动说明文档。
第十一章 荷载校核
第一节 荷载校核简介
进入SATWE程序后的第一项菜单是平面荷载显示校核。该功能主要是检查交换输入和自动导算的荷载是否准确,不会对荷载结果进行修改或重写,也有荷载归档的功能,其主界面如图11-1所示。
图11-1平面荷载校核主界面
软件初始状态:墙、梁荷载图(首层、 输入和楼板导算)。
荷载类型和种类很多,按荷载作用位置分为主梁、次梁、墙、柱、节点和房间楼板;按荷载工况分为恒载、活载及其它各种工况;按获得荷载的方法分为交互输入的、楼板导算的和自重(主梁、次梁、墙、柱、楼板);按荷载作用构件方向分为横向和竖向;按荷载作用面分布密度分为分布荷载(均布荷载、三角形、梯形)和集中荷载。
荷载检查有多种方法:文本方式和图形方式、按层检查和全楼检查、按横向检查和竖向检查、按荷载类型和种类检查。荷载检查主要通过【平面荷载校核】主菜单下的二级菜单实现。
第二节 主要功能使用说明
【平面荷载校核】主菜单如图11-2所示。
图11-2主菜单
下面分别介绍主菜单下各个子菜单功能:
一、 选择楼层
程序进入时缺省的楼层是第一层,切换到要检查的其它自然层可在主界面右上角完成。
二、 上层
点取此菜单后直接切换到当前层的上一层,如当前层是2,点取此菜单后直接切换到3层。该命令在主界面右上角。
三、 下层
点取此菜单后直接切换到当前层的下一层,如当前层是2,点取此菜单后直接切换到1层。该命令在主界面右上角。
四、 荷载选择
此菜单可选择荷载类型、荷载工况和显示方式等,点取此菜单后弹出图11-3界面让用户选择。
图11-3荷载选择对话框
其中,墙荷载指作用在墙上的荷载;柱荷载指的是作用在柱上的荷载;梁荷载指的是作用在梁上的荷载;楼面荷载指的是作用在房间内的楼板上的均布面荷载;楼面导算荷载指的由楼板传到墙或梁上,再由次梁传给主梁的由程序自动算出的荷载;交互输入荷载指的是在建模中通过荷载输入菜单输入的荷载。
梁自重指由程序自动算出的梁自重荷载;楼板自重指由程序自动算出的楼板自重。
其中方框是核选框,√号表示选中,荷载检查包括此类荷载,用光标再点一下变为空白,表示取消,荷载检查不包括此类荷载。
同类归并: 把能合并的同类荷载合并为一个。如作用在同一根梁上同一工况的两个集中力,如果它们位置相同,那么可合并成一个荷载表示。
字符高度和宽度:可修改图形方式显示荷载字符尺度。
显示方式包括文本方式、图形方式,带圆点表示选中,空白的表示不选。文本输出时,各校核项目中的荷载类型及参数按PM说明书附录B中定义。
文本方式显示荷载如图11-4所示。
图11-4文本显示方式及构件编号图
图形方式显示荷载如图11-5所示。
图11-5图形显示方式
五、 荷载归档
荷载归档菜单用来自动生成全楼各层的或所选楼层的各种荷载图并保存,方便存档。点取此菜单后弹出图11-6所示界面让用户选择归档的楼层和图名。归档图名缺省名取决于所选择的荷载类型和荷载工况。
图11-6荷载归档对话框
六、 竖向导荷
竖向导荷菜单用来算出作用于任意层柱底或墙底的由其上各层传来的恒活荷载,可以根据荷载规范的要求考虑活荷折减,输出某层的总面积及单位面积荷载,也可以输出某层以上的总荷载。
点取此菜单后弹出图11-7所示界面让用户选择竖向导荷类型和竖向导荷结果的表达方式。
图11-7竖向导荷对话框
同时选择了恒载和活载时可以输出荷载的设计值,单选择恒载或活载时输出荷载的标准值。
选择荷载图表达方式时,是按每根柱或每段墙上分别标注由其上各层传来的恒活荷载,如图11-8所示。荷载总值是荷载图中所有数值相加的结果。
图11-8竖向导荷结果(荷载图)
选择荷载总值表达方式时,用图11-9所示文本方式表达每一楼层竖向导荷结果。
图11-9竖向导荷结果(文本方式)
其中,本层导荷楼面面积不包括没有参于导荷的房间面积,如全房间洞的房间面积。
其中,本层楼面面积是本层所有房间面积的总和,是实际面积。
其中,本层平均每平米荷载值是按导荷面积计算的。
七、 导荷面积
导荷面积菜单用来显示参与导荷的房间号及房间面积,点取此菜单后屏幕显示房间号和导荷面积,如图11-10所示。
图11-10导荷面积
每个房间有一个包含斜线的字符串,其中斜线前面的字符表示房间号,后面的表示房间导荷面积。
八、 选择显示
查荷载图菜单用来查看已归档荷载图,点取此菜单后弹出图11-11所示界面让用户选择归档的图名和荷载类型。
图11-11查荷载图对话框
九、 竖向关闭
此菜单是关闭沿竖向显示的荷载。沿竖向的墙、梁荷载当前是可见的点取此菜单后变成不可见,如图11-12所示。其荷载显示状态为竖向关闭。
图11-12墙、梁和楼面的荷载图(竖向荷载关闭)
十、 横向关闭
此菜单是关闭沿横向显示荷载。与“竖向关闭”菜单类似。
十一、 面荷载关闭
此菜单是关闭楼面荷载显示。楼面荷载当前是可见的点取此菜单后变成不可见,如图11-13所示。其下拉菜单为面荷载打开。
图11-13楼面荷载图(括号内为活载)
十二、 全部打开
此菜单是打开所有荷载显示,其下拉菜单是关闭所有荷载显示。
十三、 重绘
此菜单是重新绘制本层平面荷载图。
十四、 字符大小
字符大小菜单用来修改屏幕上字符高度,以便清晰地显示荷载。如图11-14所示,字高为400mm。
图11-14改变字符大小
十五、 移动字符
移动字符菜单用来拖动位置不合适的或重叠的字符,使其到合适的位置以便清晰地显示荷载。
附录A 梁柱标准截面数据
正交网格时,柱在平面X方向长度为柱宽,Y方向长度为柱高。斜交网格时,规定柱宽布置在网格线平行方向,柱高布置在网格线垂直方向。
每个标准截面柱由截面形状K,材料类别M和形状数据组成,
排列为K,M,B,H,U,T,D,F。
M=6为混凝土材料,M=5为钢材料。
| | |
K=99 自定义多边形(仅柱、支撑有此截面) K=28 L形
附录B 外加荷载数据格式
在建模程序中输入的荷载数据格式如下:
一、 梁间荷载和墙间荷载
荷载类型 | KL值 |
| ||
均布 | 1 |
| ||
左均布 | 2 |
| ||
右均布 | 3 |
| ||
集中荷载 | 4 |
| ||
荷载类型 | KL值 | 外加荷载示意图 | ||
满布梯形 (X=L/2) | 6 |
| ||
满布梯形 (X<L/2) | ||||
分布三角形 | 10 |
| ||
分布梯形 | 11 |
| ||
水平集中 | 24 |
1537170499(1) | ||
水平均布 | 21 |
| ||
集中扭矩 | 64 |
| ||
均布扭矩 | 61 |
| ||
当KL=1时,只输入P值;
KL=2,3,4,6时,需输P,X两值;
KL=10时,填Q,X,X1;
KL=11时,填Q,Q1,X,X1。
以上荷载其值的符号,均以图示为正,反之为负。
二、 柱间荷载
荷载类型 | 竖向集中 | 水平均步 | 水平集中 |
KL值 | 5 | 7 | 8 |
外加荷载示意图 |
|
|
|
柱间弯矩可化为第5类荷载的迭加。
当荷载类型 KL=7,8时,需输入P,X两个值;
KL=5时,则需输入P、X以及EX三个值,EX以柱轴线右边为正,左边为负;
三、 节点荷载
每节点上可输入的一组荷载为垂直力、X弯矩、Y弯矩、X水平力、Y水平力、水平扭矩等。但要注意后面结构计算时选择的计算程序,有的节点荷载分项将不能考虑。示意图如下:

QQ好友
新浪微博
微信扫一扫